AIRTECHNIC BPR 1012 Plastic Radial Bath and Toilet

SAFETY WARNINGS
- These fans contain rotating parts and electrical connections. Therefore, pay attention to safety warnings during their assembly, maintenance, and operation.
- Electrical connections and assembly must be made by authorized persons.
- The electrical connections of the fan should not be damaged when the ceiling or the wall is drilled or broken.
- The product must have an air duct of its own.
- During transport, operation, and maintenance, hands should be protected with gloves against cuts.
- The fan should in no way be touched while operating.
- Proper cleaning should be done at periodic intervals; otherwise, the product might be harmed.
- Keep the fan away from children and do not let unauthorized people to use it.
- Do not use do product at ambient temperature over 40°C.
- Our company manufactures products that are harmful to human health, mercury, PCBs (poliklorürlübifenil), and does not contain asbestos materials.
TECHNICAL FEATURES
IP 20 CL B

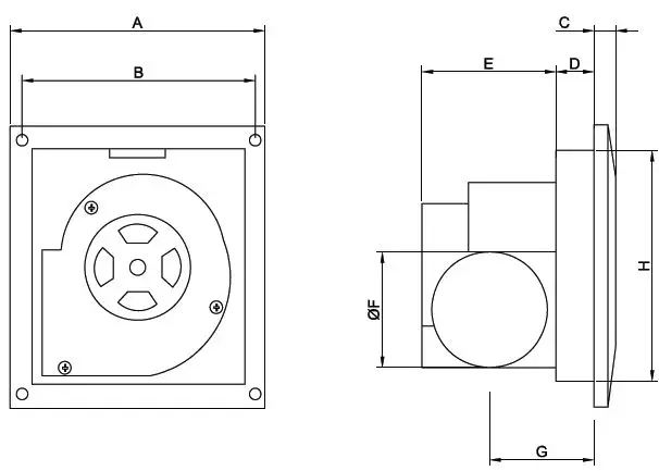
| TYPE | A | B | C | D | E | F | G | H |
| BPR 1012 | 240 | 220 | 20 | 38 | 128 | 100 | 101 | 200 |
| BPR 1015 | 264 | 240 | 20 | 40 | 128 | 100 | 114 | 224 |
|
TYPE | VOLTAGE | FREQUENCY | POWER | CURRENT | CAPACITOR | SPEED | AIR FLOW | SOUND LEVEL | TYPE OF | INSULATION | |
| V | Hz | W | (A) | (µF) | D/dak | m3/h | dB(A) | IP | CL | ||
| BPR 1012 | 230 | 50 | 22 | 0,9 | 0,4 | 1050 | 120 | 28 | 20 | B | |
| BPR 1015 | 230 | 50 | 28 | 0,12 | 0,12 | 1550 | 150 | 32 | 20 | B |
Products supplied on the markings or accompanying other printed documents according to the standards of the declared value obtained in the laboratory values. These values may depend on the operational and environmental conditions of the product.
ASSEMBLY

- Drill holes and dowels for the case sizes and distances for assembly.
- Connect the power cord, and make sure that the correct wiring diagram looking.
- The device mounted on an all-pole circuit breaker connects the splitter.
- Be sure to install the product according to the right air direction.
- Perform a trial run for the fan, and check the vibration and error of the product.
CONNECTION

- Products should be installed only by authorized persons.
- Installation of the product to be specified in the Project location to the wall or floor must be securely mounted. If mounted on the wall, it should be mounted with a bracket or with clamps.
- Fan blades to be above 2,3 m from the floor must be installed.
- Fan can not be installed outside the window or wall.
- Open the gas pipe to the fuel-burning devices inside of the room to avoid their flux of gas is necessary to take pre-measures. It is recommended that gloves be worn in the assembly of products.
- The product must be connected to input and output channels.
- Electrical cords definitely turn off the power before connecting.
- When mounting brackets and mounts all the connections are made correctly to carry the weight of the product, make sure you have the strength.
- Even if the product off the main power supply is switched off when connecting equipment make sure that.
- Before mounting the electrical connection indicated on the product information (voltage, power, frequency, etc..) In the place of assembly are in keeping with that note.
- There is noob instructions on the airflow way.
- In terms of safety ground terminal located on the terminal must be connected to the earth certainly building.
- Motor thermal and overload relays make sure they are connected properly.
- If the thermal opens the circuit during in any problems (while the product is not working) it must be reset from the system network and activated again.
- Product wiring and electrical connections must be as in the diagram.
- Contact separation in all poles along with a switch must be connected to fixed wiring installations in accordance with the rules.
USAGE
BPR series Plastic fans are used in kitchens, bathrooms, offices, and workplaces to food odors, tobacco smoke, and unpleasant odors and to eject stale air. They can be assembled to the windows and walls easily. EF plastic fans are widely used for commercial and residential ventilation. BPR fans offer practical and economical solutions to ventilate small areas.
Please read the manual carefully before using and maintaining it.
The expected life of the products is 10 years.
When using your product for the first time;
- Before connecting electric cables, you must not forget to cut the power supply. Be sure that the electrical connections of the product are established correctly and safely.
- Be sure that safety equipment is connected correctly.
- Properly establish earthing connections.
- Be sure that the cable and electric connection box are closed correctly and do not admit water leakage.
- The air exit direction should be in the direction indicated on the label on the body. There shall not be any obstacles in the air flow route.
- The wings should rotate in the correct direction.
- While the product is operating, there shall not be any vibration or internal rubbing, or hitting voice due to the rotation of the fan or the suction fan.
- Power supply, current and frequency values shall comply with the product label.
- If any electricity warning device turns on, the electric connection should immediately be cut from the main power supply. Before starting the product, all the installation should be controlled again carefully.
- If any problem occurs, please consult authorized persons.
In case of any defect, after you have started using the product continuously, the type of defect should be determined. In order to remove the defect, the technical service must be contacted. You must not try to fix the problem yourself.
DEFECTS AND HOW TO FIX THEM
| ABNORMAL SITUATION | POSSIBLE CAUSE | HOW TO FIX |
| TOO MUCH SOUND (NOISE) | ROTOR IMBALANCE | CHANGE THE ROTOR |
|
THE DEVICE IS NOT WORKING | MOTOR IS DAMAGED | CHANGE THE MOTOR |
| CONDENSATION IS NOT WORKING | CHANGE THE CONDENSATOR | |
| FAULTY SPEED ADJUSTMENT CONNECTION | CHECK THE INSTALLATION (ASSEMBLY) | |
| THE DEVICE IS ROTATING SLOWLY | FAULTY CONNECTION | CHECK THE ELECTRICAL CONNECTION |
CLEANING, MAINTENANCE, AND TRANSPORT
In order to protect your product from being damaged during transport;
- The product has been packaged according to normal transport conditions. In order to avoid possible damage, it should always be carried in its original package.
- The product shall be kept in its own package in a vibration-free, dust-free environment away from abrasive or chemical material until it is delivered to its place of assembly. Do not accept products that are not in their original package or which were opened before being delivered to you.
- The products should be stocked into the vehicle in a way to stay motionless in case of any turnover or fall down.
- While heavy products are being carried, use appropriate lifters to protect products or the people carrying the products.
- All necessary measures should be taken in order to prevent damages arising from sudden and careless lifting and putting down.
- The products should be carried one by one carefully. They shall not be thrown or carried carelessly from hand to hand.
After taking the product out of its package;
- The delivered product should be checked.
- The product must be checked for damage during transport. If there is any lost or damaged part, it should immediately be informed to the transporter or our firm verbally or by writing.
- Do not hold the product on its connection box or electric cables. Abstain from applications that will damage the wings or the protective cage while carrying.
Periodic cleaning and maintenance of the product;
- Before cleaning or maintenance, even if the product is turned off, be sure that the electric connection has been cut from the main power supply.
- All electrical equipment should be regularly controlled, connections should be checked, and damaged or worn-out cables and equipment should be replaced.
- Periodic maintenance should be carried out at least once every six months or more frequently, depending on its frequency of use. Maintenance and cleaning of the product should be carried out by qualified staff.
- Check the product regularly. In order to prevent dirt or accumulations in the wing, motor or grill, carry out the maintenance according to the operating conditions of the product. Otherwise, the expected life of your product can be substantially shortened or serious damage can occur.
- While cleaning the product, pay attention to protecting the balance on the wing and the turbine.
- Bolts that might become loose during maintenance should be checked.
- Inappropriate parts should be immediately replaced.
- The product should not be cleaned with inflammable or combustible cleaners; it should be cleaned with a wet cloth.
- The product should in no way be exposed to water or pressure water.
WARRANTY and SERVICE
Dear customer,
We believe that providing good service is as important as providing good products for you. You can contact our Sales Representatives by calling us or obtain the most suitable service for you by contacting our Authorized Dealers.
We recommend you follow the advice below.
- When you buy a product, have your Authorized Dealer approve the Warranty Dee
- Use your product according to the user’s manual.
The warranty provided by BVN does not cover the damages arising out of using the product under conditions other than its normal conditions of use. The following conditions are also not included
in the warranty:- Damages and defects arising out of faulty usage,
- Damages and defects which occur while loading, unloading, or carrying the product after it has been delivered,
- Damages and defects arising due to low or high voltage, faulty electrical installation, and using the product at a different voltage than the one written on its label,
- Damages and defects due to fire, earthquake, lightning strike, etc.
- Damages occur due to using the product under conditions not conforming to the issues stated in the user’s manual.
The above-mentioned damages are fixed on payment. Assembly and transport of the product is not included in the product price. The responsibility of approving the warranty deed and submitting it to the customer belongs to the seller, dealer, agency or representative from which the customer has purchased the product. Since the invoice will be taken as a reference if a misunderstanding occurs about the warranty period, the user must keep the invoice and a copy of it together with the Warranty Deed.
If the warranty deed is altered, the original serial number on the product is removed or altered; the warranty deed will become invalid.
WARRANTY TERMS AND CONDITIONS
- The warranty period is 2(TWO) YEARS from the date of delivery.
- The product including all its components is under the warranty of our company.
- In case of defects within the warranty period, the period spent on repairing is added to the warranty period. The repairing period is maximum 20 days. This period starts from the date of delivery of the product to the services center or in case of the absence of the service center to the seller, the agency the representative, the importer or the manufacturer of the product respectively. In case the defect is not repaired within 10 work days, the importer or the manufacturer is entitled to supply another product with similar features until the repair is completed. The warranty period of the replaced product is limited to the warranty period of the product which is purchased.
- In case the product has material, workmanship, and manufacturing defects during the warranty period, the product will be repaired free of charge, and expenses of any sort including labor, the value of the parts replaced, or any other charges.
- The consumer may request for replacement of the product free of charge, refund of payment, or price reductions in the rate of defects
- In case the product permanently dysfunctions due to repeating the same defect for more than twice or more than twice or more than four different times within the warranty period
- In case the maximum period for repairing is exceeded
- In case it is determined by a written report that the defect cannot be removed by the seller, agency, representative, importer, or manufacturer of the product respectively in case of absence of service centers.
- The present warranty does not cover damages resulting from the use of the product
against the instructions in the manual. - General Administration of Protection of Consumer Rights and Competition in the Ministry of Industry and Commerce may be applied for problems regarding the warranty certificate.
- In accordance with issues of consumer complaints and objections on the application, consumers can appeal the consumer courts and arbitral committee.
- In case of the goods are found to be defective when consumers
- Sold by declaring that it is ready to give back there turn from the contract,
- Sold goods are held defective ratio is counted that request according to the sales price,
- Unless require excessive charges including all costs borne by the seller that request a free repair of the goods which have been sold.
- If possible, ask for the replacement of free from defects instead of goods sold Consumer can use one of the elective rights. The seller’s preferred consumer is obliged to fulfill this demand.
Contact Information
- T. +90 212 771 48 48
- F. +90 212 771 48 42
- Email:
- Website: www.bvnair.com.


















