BULL 45551 30 Inch Pedestal Cart

BULL OUTDOOR PRODUCTS 30 INCH PEDESTAL CART BOTTOM
OWNERS MANUAL
MODEL #45551
FOR USE WITH BULL 30” GRILLS & GRIDDLE
- READ THE FOLLOWING INSTRUCTIONS CAREFULLY AND BE SURE YOUR GRILL CART IS PROPERLY INSTALLED, ASSEMBLED AND CARED FOR. FAILURE TO FOLLOW THESE INSTRUCTIONS MAY RESULT IN SERIOUS BODILY INJURY AND/OR PROPERTY DAMAGE. IF YOU HAVE QUESTIONS CONCERNING ASSEMBLY OR OPERATION, CONSULT YOUR DEALER OR APPLIANCE SERVICE REPRESENTATIVE.
- NOTE TO INSTALLER:
LEAVE THESE INSTRUCTIONS WITH THE CONSUMER AFTER INSTALLATION. - NOTE TO THE CONSUMER:
RETAIN THESE INSTRUCTIONS FOR FUTURE REFERENCE.
*FOR WARRANTY PURPOSES, PLEASE RECORD YOUR MODEL NUMBER, SERIAL NUMBER, DATE OF PURCHASE & A COPY OF YOUR RECEIPT OR INVOICE IN THE BACK OF YOUR MANUAL.
REGISTERING YOUR CART
To validate your Bull Limited Warranty, you must submit the completed the Warranty Registration Card within 90 days from the date of purchase. Registration can be completed on-line at www.bullbbq.com or by sending the completed Warranty Registration Card and copy of your Purchase Receipt or Invoice as proof of purchase to:
BULL OUTDOOR PRODUCTS, INC.
1011 East Pine St.
Lodi, CA 95240
Attn: Warranty Service Center
For Warranty Claims or Replacement Parts ordering, please fill out the area provided below:
PRODUCT INFORMATION REFERENCE CARD
- Model Number_____________________________
- Date of Purchase______________________
- Copy of your Purchase Receipt or Invoice. For Warranty Questions call Customer Service at (800) 521-2855
MODEL AND SERIAL NUMBER LOCATIONS
HOW TO ORDER REPLACEMENT PARTS
This is where your Product Information Reference Card will come in handy for supplying necessary info needed by your Bull Authorized Dealer to assure you get the correct part(s) for your Cart or additional accessories to keep your Cart in top working condition. If you don’t have the card, you can still get the model number and serial number on upper right corner of the carts back side. That information is required for parts orders.
Please refer to your owner’s manual parts list and illustration to identify what you need.
To Order Replacement Parts on-line go to: https://www.bullbbq.com/buy-parts
Ordering Parts by phone:
Bull is ready to help with two regional suppliers open 8:00 am to 5:00 pm Monday through Friday. For the Western Region, call (800) 258-6810 For the Eastern Region, call (800) 229-3056
INSPECT YOUR SIDE CART FOR ANY DAMAGE AND CONTACT OUR SERVICE CENTER OR LOCAL DEALER FOR REPLACEMENT OF ANY DAMAGED PARTS. IF DAMAGED DO NOT ATTEMPT INSTALLATION.
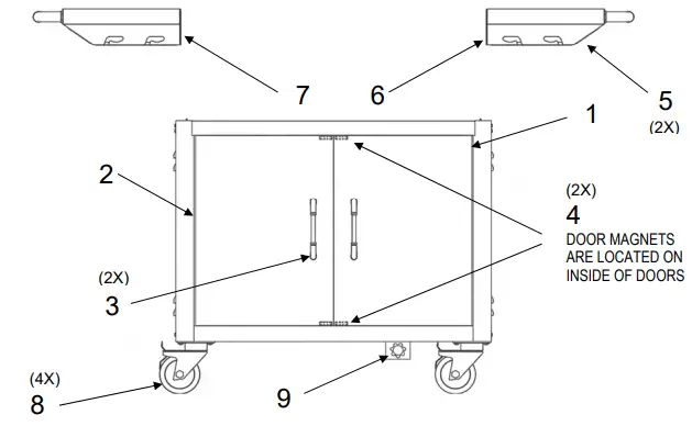
REPLACEMENT PARTS LIST & ILLUSTRATION
model # 45551
NOTE: Prior to assembly, use the parts list and illustration to verify all the parts are included. Inspect parts for any damage and contact your service center or local dealer for replacement of any damaged parts.
NOTE: Do not attempt to assemble the cart if any of the parts are damaged.
| ITEM # ON ILLUSTRATION | BULL PART # | DESCRIPTION | QTY |
| 1 | 45553 | RIGHT DOOR PANEL | 1 |
| 2 | 45554 | LEFT DOOR PANEL | 1 |
| 3 | 16619 | DOOR HANDLE | 2 |
| 4 | 16694 | DOOR MAGNET | 2 |
| 5 | 45520 | SIDE SHELF HANDLE | 2 |
| 6 | 69202 | RIGHT SIDE SHELF | 1 |
| 7 | 69203 | LEFT SIDE SHELF | 1 |
| 8 | 16514 | SWIVEL CASTER | 4 |
| 9 | 75321 | TANK RETENTION BOLT | 1 |
| WARRANTY PERIOD FOR ALL PARTS IS 1 YEAR | |||

CART ASSEMBLY HARDWARE
NOTE: Prior to assembly, use the list and illustration below to verify all the fasteners are included. If there are missing or damaged fasteners, contact your service center or local dealer for replacement.
NOTE: Do not attempt assembling the cart until you have all the fasteners listed.
CART ASSEMBLY INSTRUCTIONS
For your safety, Bull recommends the assistance of another person when assembling larger and/or heavier items.
Setting up Pedestal Cart Body to install Castors.
The best way to do this is to flip the cart body upside down before installing per steps below:
- a. Take a piece of cardboard and lay it down on a flat surface level surface such, i.e., garage floor surface. The cardboard will help prevent scratching the cart while installing the castors.
- b. Take the Pedestal Cart Body, Castors and Fasteners (C, D and E) out of the shipping box.
- c. Remove the lid on the floor panel that covers the hole when usinga propane tank unless it is already taped in place. The doors mounted to the cart body will be held in place by the magnetic catches.
- d. Place the cart body upside down on the cardboard. You will see a mounting plate on each corner of the cart body. The mounting plates have 4 holes with nuts already attached.

Installing Casters to Pedestal Cart Body
- a. Mount the casters to the flanges with fasteners ‘C’ ‘D’ and ‘E’
- b. Note: Lock washer must be between head of fastener and flat washer to work correctly per illustration.
- c. Note: Initially, all the fasteners should only be ‘finger tight’. Doing this makes assembly easier and reducing the chance of cross threading the screws. Failure to do so may cause irreparable damage to the caster screws.
- d. Use Allen wrench ‘G’ to tighten down the fasteners or if using a torque wrench the suggested setting is 13-15 in-lbs. / 14-19 Nm

- e. Flip cart back to right side up and set the swivel casters wheels in the locked position to prevent the cart from moving and causing injury.

INSTALLING THE TRANSFORMER FOR GRILLS WITH LIGHTS
IMPORTANT, Before you begin this task
Set the swivel casters wheels in the locked position to prevent the cart from moving and causing injury.
Bull Grills with lights have a transformer that will need to be fastened to the mounting plate on the inside of the of the cart as shown. This task is easier to do before mounting the grill.
The screws are pre-assembled on to the mounting plate per illustration below.
Installing the Door Handles
- a. Mount the door handles with provided fasteners ‘H’ and ‘I’
- b. Note: Initially, all the fasteners should only be ‘finger tight’. Doing this makes assembly easier and reducing the chance of cross threading the screws. Failure to do so may cause irreparable damage to the caster screws

Installing the Grill Head to the Cart (Please read all instructions before starting) Safety Guidelines:
- a. Set the swivel casters in the locked position to prevent the cart from moving and causing injury.
- b. Warning: Do not attempt to lift grill by yourself. (This step will require at least 2 people). The grill will need to be carefully lifted up and placed on to the cart.
- c. Before lifting the grill remove the items shown below make it lighter prior to lifting.
Continue reading the rest of the instructions before lifting and positioning the grill.
INSTALLING THE GRILL HEAD TO THE CART
IMPORTANT: Set the swivel casters in the locked position to prevent the cart from moving and causing injury.
NOTE: If your Grill comes with lights make sure the power cord and plug are tucked up inside the grill before lifting the grill on to the cart, so the cord won’t get in the way.
To complete you will need:
- 4 of fastener ‘A’ M5 x 12mm Long Hex Drive Button Head Screw
- 4 of washer ‘B’
- Allen Wrench ‘F’
Per illustration below, there are 3 mounting points on each of the left and right sides between grill on cart.
On the cart, each side has a 2 clearance holes for the provided fasteners to bolt the grill on. In between those mounting holes on the cart is an alignment pin that engages a clearance hole on the grill.
On the grill, the left and right side of the grill has 3 mounting holes that have nuts mounted already to ease screwing the grill to the cart. The middle hole on each side is where the cart alignment pin is positioned.
REMEMBER: Do not attempt to lift grill by yourself. (This step will require at least 2 people).
- a. Carefully place the grill head on the cart and to the slots on the grill attaching with fasteners ‘A’ and ‘B’
- b. Note: Initially, all the fasteners should only be ‘finger tight’. Doing this makes assembly easier and reducing the chance of cross threading the screws. Failure to do so may cause irreparable damage to the assembly.
- c. Use Allen wrench ‘F’ to tighten down the fasteners, if using a torque wrench the suggested setting is 4.35 ft lbs./ 5 Nm
- d. Plug the light system cord from the grill into the transformer.

INSTALLING THE SHELVES TO THE GRILL HEAD
The shelves and handles are already put together. You’ll need the following to complete the shelf install:
- Both shelves that came with your cart
- 8 of fastener ‘A’ M5 x 12mm Long Hex Drive Button Head Screw ‘A’
- 8 of washer ‘B’
- Allen Wrench ‘F’
Per illustrations below, attach the shelves to grill where shown. The grill has threaded inserts to hold the shelf fasteners.
NOTE:
- These shelves are not intended to lift the grill.
- To prevent damage to cart do not attempt to use the shelves as way to lift the grill.
- This side view below shows the location of the 4 mounting holes used to mount the shelves on each side of the grill.

LIQUID PROPANE (LP) SAFETY GUIDELINES
Your Propane gas grill is designed to operate on propane gas ONLY, at a pressure regulated at 11” water column (wc.) or 27.4 mbar when equipped with the correct propane orifices on the valves and a propane regulator on the supply line.
It is required that you only use an LP gas cylinder measuring 12 inches in diameter X 18 inches tall with a maximum capacity of 20 lb. In the United States, the LP gas cylinder must be constructed and marked in accordance with specifications of the US Department of Transportation for Propane Gas Cylinders.
- Always keep LP gas cylinder securely fastened in an upright position.
- Never connect an unregulated LP gas cylinder to the grill.
- Do not subject LP gas cylinders to excessive heat.
- Do not fill LP gas cylinder beyond 80% full.
CAUTION: NEVER STORE LP GAS CYLINDERS INSIDE A BUILDING, GARAGE OR IN THE VICINITY OF ANY GAS-BURNING APPLIANCE.
DANGER! IF YOU SMELL GAS, FOLLOW THE GUIDELINES BELOW:
- Visually check burner flame status, and pilot burner flame if provided.
- NEVER test for gas leaks with a lighted match or open flame.
- Shut off gas source to the appliance.
- Extinguish any open flame.
- Open grill lid to release any accumulation of fumes.
- If gas odor persists, immediately contact your gas supplier or your fire department.
CHECKING FOR GAS LEAKS
NEVER TEST FOR GAS LEAKS WHILE THE GRILL IS LIT!
It is a must that you use the steps below to check for leaks on LP Gas Grills prior to first use, start of a new BBQ season and whenever the gas cylinder is changed on LP Gas Grills
- Turn off heat control valve(s), and then turn on gas at source.
- Make a soap solution by mixing one-part liquid detergent and one-part water.
- Apply the soap solution to all gas connections: If air bubbles appear in the soap solution it means the connections are not properly sealed and need to be tighten or repaired as needed.
- If you have a gas leak that you cannot repair, turn off the gas at the source, disconnect fuel line from the grill and immediately call your grill dealer and gas supplier for professional assistance.
WARNING: If these guidelines are not followed, fire causing serious injury or death may occur.
LIQUID PROPANE (LP) ‘TANK’ CYLINDER INSTALL AND CONNECTION INSTRUCTIONS

WARNING!
- Do not store spare LP gas cylinders under or near this appliance.
- Do not fill LP gas cylinder beyond 80% full.
If warning notice 1 & 2 are not followed exactly as written a fire causing death or serious injury may occur
CAUTION: Do not change gas tanks near any source of ignition. - LP Gas Tank must be identified in accordance with The Specifications for LP Gas Cylinders, Spheres and Tubes for Transportation of Dangerous Goods and Commission, CAN/CSA- B339, as applicable
- LP Gas Tank connection device is compatible with outdoor cooking appliances.
- LP Gas Tank has appropriate vapor withdrawal.
- LP Gas Tank must have a listed overfilling prevention device. See Illustration below for instructions 7-11
- LP Gas Tank must include a collar to protect the cylinder valve.
- LP Gas Tank uses a type 1 tank valve that must be firmly secured in an upright position.
- LP Gas pressure regulator and 31” inch hose assembly (Bull Part # 16589) are supplied and must be used without alteration and should only be used on your Bull Grill Cart.
- If the hose assembly needs replacement, refer to illustration below or your Bull Grill manual for part number info.
- To connect, turn the black coupling nut of the hose and regulator assembly in a clockwise direction (see illustration below) until completely threaded onto the cylinder valve before turning gas supply on. To remove turn the black coupling nut of the hose and regulator assembly in a counter-clockwise direction.

(LP) GRILL OPERATING INSTRUCTIONS

SAFETY INSTRUCTIONS
BEWARE OF CLOGGED BURNERS
DUE TO SPIDER WEBS
CAUTION: BURNERS MUST BE INSPECTED AND CLEANED BEFORE FIRST USE
Spiders and small insects occasionally spin webs or make nests in the burners during warehousing, transit and/or after long periods of non- use. These webs can lead to a gas flow obstruction, which could result in a fire in and around the burner venturi tubes. This type of fire is known as “FLASH-BACK” and can cause serious damage to your grill and create an unsafe operating condition for the user. Although an obstructed burner tube is not the only cause of “FLASH BACK” it is the most common cause, and frequent inspection and cleaning of the burners is necessary.
WARNING NEVER cover slots, holes or passage in the grill bottom or cover an entire cooking grate with material, i.e. aluminum foil. Doing so blocks air flow through the oven and may cause carbon monoxide poisoning. Aluminum foil linings may trap heat causing a fire hazard.
WARNING! FOR YOUR SAFETY
FOLLOW THE GUIDELINES BELOW:
- PLEASE NOTE: YOUR GAS GRILL CART IS ONLY FOR OUTDOOR USE
- PROTECT CHILDREN: DO NOT ALLOW CHILDREN TO OPERATE GRILL. Keep them away from the grill during use, and until the grill has cooled completely.
- DO NOT use your gas grill in enclosed areas, i.e. garages, porches, breezeways, sheds.
- DO NOT place grill under or on top of any surface that will burn.
- DO NOT allow obstruction to the flow of combustion and ventilation air around the grill housing.
- Grill clearance from the back and side of any combustible surface must be at least 21 inches
- DO NOT store or use gasoline, or other liquids emitting flammable vapors in the vicinity of grill or any other appliances.
- DO NOT store empty or full spare LP gas cylinders and/or chemicals under or near grill or any other appliances.
- Keep the fuel hose and electrical cord away from hot surfaces and dripping grease
- Check and clean burner venturi tubes for insects and debris. A clogged tube can lead to a fire beneath the grill. Keep the vent openings of the cylinder enclosure free and clear from debris.
- Clean outdoor cooking gas appliance with recommended cleaning agents.
- NEVER light grill with lid closed or before checking to ensure burner tubes are fully seated over gas valve orifices.

- NEVER lean over cooking surface while lighting grill. Use barbecue tools with wood handles and good quality insulated oven mitts when operating grill.
- Visually inspect the LP hose prior to each use for cuts, cracks, excessive wear or other damage and replace if necessary.
- NEVER PLACE UTENSILS ON TOP GRILL LID
LIQUID PROPANE (LP) SAFETY GUIDELINES WHEN OUTDOOR COOKING GAS APPLIANCE IS NOT IN USE:
- The LP gas must be turned off at the supply cylinder.
- Do not store spare LP gas cylinders under or near this appliance.
- Spare LP gas cylinders must be stored outside in an adequately ventilated area that is isolated from the grill.
- Spare LP gas cylinders must be kept out of reach of children and must not be stored inside buildings or any other enclosed areas.
- Storage of an outdoor cooking gas appliance indoors is permissible only if the cylinder is disconnected and removed from the outdoor cooking gas appliance
- The LP gas cylinder must be equipped with an arrangement for vapor withdrawal.
- The LP gas cylinder must include a collar to protect the cylinder valve.
- Place dust cap on cylinder valve outlet whenever the cylinder is not in use. Only install the type of dust cap on the cylinder valve outlet that is provided with the cylinder valve. Other types of caps or plugs may result in leakage of propane.
WARNING: If these guidelines are not followed, fire causing serious injury or death may occur.
LOCATION AND VENTILATION GUIDELINES
PLEASE READ THESE INSTRUCTIONS BEFORE USING YOUR CART
CLEANING THE GRILL CART
First set the swivel casters wheels in the locked position to prevent the cart from moving and causing injury.
Next: Follow these steps for cleaning your grill cart:
- Make sure the grill head and cart are cool to the touch.
- Wipe down the cart with stainless steel cleaner.
STAINLESS STEEL CLEANING AND MAINTENANCE
Stainless steel is a corrosion resistant chromium/nickel alloy steel that is both durable as well as strong with an outstanding luster. The goal of your cleaning and maintenance routine should be to keep the stainless steel’s protective chromium oxide layer intact. This is what prevents corrosion. Contrary to popular belief, stainless steel is NOT rustproof, especially in the environment of a swimming pool. Chlorine, bromine, some fertilizers and other elements are extremely caustic chemicals for stainless steel. These chemicals combined with heat and humidity can increase the corrosiveness of these chemicals. Regular cleaning is the best way to prevent corrosion and add years of enjoyment to your Bull stainless steel products.
WARNING! Do not remove the pantry shelf to store a second tank in your cart could cause serious injury.
Warranty Policy
LIMITED WARRANTY ON BULL OUTDOOR PRODUCTS, INC., PRODUCTS
THIS LIMITED WARRANTY GIVES YOU SPECIFIC LEGAL RIGHTS. YOU MAY ALSO HAVE OTHER RIGHTS, WHICH VARY FROM STATE TO STATE
THIS LIMITED WARRANTY CAN ALSO BE FOUND ON OUR WEB SITE AT: https://www.bullbbq.com/support-warranty (United States Customers); https://www.bullbbq.eu/en/warrantyform.htm (International Customers) AND IN THE OWNER’S/INSTALLATION MANUAL THAT WE PROVIDE WITH OUR PRODUCT.
THIS LIMITED WARRANTY IS SUBJECT TO THE EXCLUSIONS, CONDITIONS AND LIMITATIONS SET FORTH BELOW.
ANY IMPLIED WARRANTIES IMPOSED BY LAW, INCLUDING WITHOUT LIMITATION THE IMPLIED WARRANTIES OF MRECHANTABILITY AND FITNESS FOR A PARTICULAR PURPOSE, ARE LIMITED IN DURATION TO THE DURATION OF THIS EXPRESS LIMITED WARRANTY. SOME STATES DO NOT ALLOW LIMITATIONS ON HOW LONG AN IMPLIED WARRANTY LASTS, SO THE ABOVE LIMITATION MAY NOT APPLY TO YOU.
WHO MAY USE THIS WARRANTY?
BULL OUTDOOR PRODUCTS, INC. located at address 1011 East Pine St. Lodi, CA. 95240
(“we”) extend this limited warranty only to the consumer who originally purchased the product (“you”) at the original site of delivery or installation. It does not extend to any subsequent owner or other transferee of the product. It does not apply to products installed in any rental, commercial or non-residential application. Examples of excluded applications include, but are not limited to day care centers, schools, bed and breakfast centers, churches, private clubs, fire stations, club houses, common areas in multi-family dwellings, restaurants, hotels, nursing homes, food service locations and institutional food service locations.
WHAT DOES THIS WARRANTY COVER?
This limited warranty covers defects in materials and workmanship of the product and product components identified below for the Warranty Periods defined below.
WHAT IS THE PERIOD OF COVERAGE?
This limited warranty starts on the date of your purchase and lasts for the time period or time periods specified above (the “Warranty Period”). The Warranty Period is not extended if we repair or replace the product. We may change the availability of this limited warranty at our discretion, but any changes will not be retroactive.
Grill Warranty Periods
- The following parts are covered for one year on all our current gas grill models:
- The lid, control panel, grease tray, bezels, knobs, temperature gauge, valves, regulator, flex tubes, rotisserie burner, transformer, and all components of the lighting system.
- The following parts are covered for three years on all our current gas grill models:
- The manifold, handle end caps, flame tamers, heat shields, and warming rack.
- The following parts are covered for lifetime on all our current gas grill models:
- Insert assembly and the grates.
- The warranty period for the grill burners vary by type:
Cast stainless steel burners – lifetime, Welded burners – 5 years, and Porcelain coated burners – 3 years. - The warranty period for the charcoal grill is one year on all parts, except for the insert assembly, which is covered for 5 years.
- The Bel Air grill included a one‐year warranty on all parts.
Component Warranty Periods
All of the parts for our components/grill carts/refrigerators/kegerators/drawers/doors are covered for one year with these exceptions:
Power Burner
- The insert/grates are lifetime covered parts.
- The manifold/burner are covered for 3 years.
Searing Station/Slide in Double Sideburner
- The grates are covered for lifetime,
- the insert for 5 years, and
- the manifold for 3 years.
Single Sideburner
- The grates are covered for 5 years and
- the burner for 3 years.
Sidekick
- The burner is covered for 3 years.
Pizza Ovens/Islands/Fire Features Warrant17 y Periods
All of the parts and construction materials are covered for one year. Grill Accessories and Grill Covers do not include a warranty period.
WHAT DOES THIS WARRANTY NOT COVER?
This limited warranty does not cover any damage due to: (a) transportation; (b) storage; (c) improper installation or use; (d) use on improper fuel/gas supply; (e) failure to follow the product instructions or to perform any preventive maintenance; (f) modifications; (g) unauthorized repair; (h) normal wear and tear; or (i) external causes such as accidents, abuse, or other actions or events beyond our reasonable control.
WHAT ARE YOUR REMEDIES UNDER THIS WARRANTY?
With respect to any defective product claim made during the Warranty Period, we will, in our sole discretion, either: repair or replace such product (or the defective part) free of charge or (b) refund the purchase price of such product. We will not pay for shipping charges for repaired or replacement parts, or for any labor or labor related charges. We will not pay for any accessory products or ancillary products purchased by you for use in connection with the product.
HOW DO YOU OBTAIN WARRANTY SERVICE?
To obtain warranty service, you must submit a warranty claim online through the Bullbq.com website during the Warranty Period. Warranty claims will not be accepted via email, fax or phone.
LIMITATION OF LIABILITY
THE REMEDIES DESCRIBED ABOVE ARE YOUR SOLE AND EXCLUSIVE REMEDIES AND OUR ENTIRE LIABILITY FOR ANY BREACH OF THIS LIMITED WARRANTY. OUR LIABILITY SHALL UNDER NO CIRCUMSTANCES EXCEED THE ACTUAL AMOUNT PAID BY YOU FOR THE DEFECTIVE PRODUCT, NOR SHALL WE UNDER ANY CIRCUMSTANCES BE LIABLE FOR ANY CONSEQUENTIAL, INCIDENTAL, SPECIAL OR PUNITIVE DAMAGES OR LOSSES, WHETHER DIRECT OR INDIRECT. SOME STATES DO NOT ALLOW THE EXCLUSION OR LIMITATION OF INCIDENTAL OR CONSEQUENTIAL DAMAGES, SO THE ABOVE LIMITATION OR EXCLUSION MAY NOT APPLY TO YOU.
Revised 10-15-2020 APR


























