NAKAYAMA ES7250 Electric Pole Pruner Instruction Manual
Safety instructions
Warning!
Read all warnings and instructions. Failure to follow the warnings and instructions may electric shock, fire and / or serious injury have resulted. Keep all safety information and instructions for future reference. The term “power tool” in the warnings refers to your mains operated power tools (with mains lead) and battery operated power tools (without mains lead).
This device is not intended to be used with reduced physical, sensory or mental capabilities or lack of experience and / or knowledge by persons (including children), unless they are supervised by a person responsible for their safety or receive from instructions on how to use the appliance to. Children should be supervised to ensure that they do not play with the appliance.
Workplace Safety
- Keep working area clean and well lit. Untidy and dark areas can lead to accidents.
- Do not operate power tools in potentially explosive surroundings, for example, in the presence of inflammable liquids, gases or dust. Power tools create sparks which may ignite the dust or fumes.
- Keep children and bystanders at a distance when operating a power tool. Distractions can cause you to lose control of it.
Electrical Safety
- Power tool plugs must match the outlet. Never modify the plug in any way. Do not use adapter plugs with earthed power tools. Unmodified plugs and matching outlets will reduce the risk of an electric shock.
- Avoid body contact with earthed surfaces such as pipes, radiators, kitchen ranges and refrigerators. There is an increased risk of an electric shock if your body is earthed.
- Do not expose power tools to rain or wet conditions. If water gets inside a power tool, it will increase the risk of an electric shock.
- Do not damage the cord. Never use the cord for carrying, pulling or unplugging the power tool. Keep the cord away from heat, oil, sharp edges or moving parts. Damaged or entangled cords increase the risk of an electric shock.
- When operating a power tool outdoors, use an extension cable suitable for outdoor use. Using a cord suitable for outdoor use reduces the risk of an electric shock.
- If operating a power tool in a damp location is unavoidable, use a power supply protected by a residual current device (RCD). Using an RCD reduces the risk of an electric shock.
Personal Safety
- Stay alert, watch what you are doing and use common sense when operating a power tool. Do not use a power tool when you are tired or under the influence of drugs, alcohol or medication. A moment of inattention when operating a power tool may result in serious personal injury.
- Use safety equipment. Always wear eye protection. Using safety equipment such as a dust mask, non-skid safety shoes, a hard hat, or hearing protection whenever it is needed will reduce the risk of personal injury.
- Avoid accidental starts. Ensure the switch is in the off position before inserting the plug. Carrying power tools with your finger on the switch or plugging in power tools when the switch is in the on position makes accidents more likely.
- Remove any adjusting keys or spanners before turning on the power tool. A spanner or key left attached to a rotating part of the power tool may result in personal injury.
- Do not reach out too far. Keep your feet firmly on the ground at all times. This will enable you retain control over the power tool in unexpected situations.
- Dress properly. Do not wear loose clothing or jewellery. Keep your hair, clothing and gloves away from the power tool.
Loose clothes, jewellery or long hair can become entangled in the moving parts. - If there are devices for connecting dust extraction and collection facilities, please ensure that they are attached and used correctly. Using such devices can reduce dust-related hazards.
Use And Handling Of The Power Tool
- Do not expect the power tool to do more than it can. Use the correct power tool for what you want to do. A power tool will achieve better results and be safer if used in the context for which it was designed.
- Do not use the power tool if the switch cannot turn it on and off. A power tool with a broken switch is dangerous and must be repaired.
- Disconnect the plug from the power source before making adjustments, changing accessories, or storing power tools. Such preventive safety measures reduce the risk of starting the power tool accidentally.
- Store power tools, when not in use, out of the reach of children and do not allow people who are not familiar with the power tool or these instructions to operate it. Power tools are potentially dangerous in the hands of untrained users.
- Maintain power tools. Check for misalignment or jammed moving parts, breakages or any other feature that might affect the operation of the power tool. If it is damaged, the power tool must be repaired. Many accidents are caused by using poorly maintained power tools.
- Keep cutting tools sharp and clean. Properly maintained cutting tools with sharp cutting edges are less likely to jam and are easier to control.
- Use the power tool, accessories and cutting tools, etc., in accordance with these instructions and in the manner intended for the particular type of power tool, taking into account the working conditions and the work which needs to be done. Using a power tool in ways for which it was not intended can lead to
potentially hazardous situations.
Service
a) Your power tool should be serviced by a qualified specialist using only standard spare parts. This will ensure that it meets the required safety standards.
Special safety instructions for electric pole saw
Keep all parts of the body away from the saw chain when the pole saw is operating.
- Before you start the pole saw, make sure the saw chain is not contacting anything.
A moment of inattention while operating chain saws may cause entanglement of your clothing or body with the saw chain. - Do not use of the machine when the operator is tilled, ill or under the influence of alcohol or other drugs.
- Always disconnect the mains plug before performing any maintenance work, when the pole saw is not in use and before changing any tools.
- Hold the saw firmly with both hands, with fingers and thumbs hooked around the handles. Steady yourself with your body and arms in a position in which you can control the kickback forces.
Provided appropriate measures are taken, an operator should be capable of controlling the kickback forces. Never let go of the chain saw. - Always hold the pole saw with your right hand on the rear handle and your left hand on the pole.
Holding the chainsaw with your hands in the wrong positions increases the risk of injury and must therefore be avoided. - Wear safety glasses, hearing and head protection, as well as adequate clothing.
Adequate protective clothing will reduce personal injury by flying debris or accidental contact with the saw chain.
- Use slip resistant foot protection as well as close fitting clothes.
- Do not use the pole saw while up a tree. Otherwise you risk injuring yourself if you use the chainsaw inappropriately whilst up a tree.
- Always keep proper footing and operate the pole saw only when standing on fixed, secure and level surface. Slippery or unstable surfaces such as ladders may cause a loss of balance or control of the chain saw.
- Hold the power tool by insulated gripping surfaces only, because the saw chain may contact hidden wiring or its own cord. Saw chains contacting a “live” wire may make exposed metal parts of the power tool “live” and could give the operator an electric shock
- When cutting a limb that is under tension be alert for spring back. When the tension in the wood fibres is released the spring loaded limb may strike the operator and/or throw the pole saw out of control.
- Carry the chainsaw with the chain stationary and the guide rail facing backwards.
Always fit the protective cover when transporting the pole saw or putting it into storage. Careful handling of the pole saw reduces the likelihood of accidental contact with the saw chain while it is running. - Follow instructions for lubricating, chain tensioning and changing accessories. Improperly tensioned or lubricated chain may either break or increase the chance for kickback.
- Keep handles dry, clean, and free from oil and grease. Greasy, oily handles are slippery causing loss of control.
- Cut wood only. Do not use pole saw for purposes not intended. For example: do not use pole saw for cutting plastic, masonry or non-wood building materials.
Use of the pole saw for operations different than intended could result in a hazardous situation. - Follow the manufacturer’s instructions for operation, sharpening and maintaining the saw chain.
- The risk of kickback is increased when the pole is in short position.
- Take special care when cutting undergrowth and young trees. The thin material can become caught in the saw chain and whip back towards you or make you lose your balance.
- Do not cut into the ground, metal fences or similar unsuitable items and materials.
- We recommend that people who are using a pole saw for the first time should arrange for a well-versed person to instruct them on how to work with a pole saw and the safety equipment, for example in the form of practical.
- Keep your working area free of obstacles and ensure that you have adequate freedom of movement. Do not work in constricted areas in which you could continuously get too close to the operating saw chain.
- Keep your working area tidy and free of off-cuts and other obstacles over which you could stumble.
- Before you start felling branches: Make sure that there is nobody within a range of at least 2-2,5 times the length of the branch.
- Take the weather conditions into account when felling trees. Do not fell trees in strong or gusting wind. Do not fell trees in frost conditions or on frozen, icy ground. Do not fell trees in rain or if visibility is poor.
- Never allow children or people unfamiliar with these instructions to use the machine.
- Plan an escape route from falling trees or branches in advance. Make sure that this escape route is free of obstacles which could restrict or prevent free movement. Keep in mind that freshly cut grass or bark is slippery.
- Ensure that somebody is in the vicinity (but at a safe distance) in case of an accident.
- When the chain is moving, do not let the tip of the chain bar come into contact with any objects.
- Start sawing only after the chain has reached full speed.
- Never try to target a previous cut. Always start a new cut.
- Watch out for moving branches or other forces which could interfere with a cut and impact with the chain.
- Never try to cut a branch with a larger diameter than the cutting length of the equipment.
- Keep the equipment at a minimum distance from overhead power cables.
- National regulations can restrict the use of the pole saw
- Lay the power cable so that it will not come into contact with branches or similar objects.
Causes and operator prevention of kickback
Kickback may occur when the nose or tip of the guide bar touches an object, or when the wood closes in and pinches the saw chain in the cut.
Tip contact in some cases may cause a sudden reverse reaction, kicking the guide bar up and back towards the operator.
Pinching the saw chain along the top of the guide bar may push the guide bar rapidly back towards the operator.
Either of these reactions may cause you to lose control of the saw which could result in serious personal injury. Do not rely exclusively upon the safety devices built into your saw.
As a pole saw user, you should take several steps to keep your cutting jobs free from accident or injury. Kickback is the result of tool misuse and/or incorrect operating procedures or conditions and can be avoided by taking proper precautions as given below:
- Maintain a firm grip, with thumbs and fingers encircling the chain saw handles, with both hands on the saw and position your body and arm to allow you to resist kickback forces.
Kickback forces can be controlled by the operator, if proper precautions are taken. Do not let go of the chain saw. - Always use the correct replacement rails and saw chains recommended by the manufacturer. The use of incorrect replacement rails or saw chains may result in breakage of the chain or kickback.
- Follow the manufacturer’s sharpening and maintenance instructions for the saw chain.
Decreasing the depth gauge height can lead to increased kickback.
Residual risks
Even if you use this electric power tool in accordance to instructions, certain residual risks cannot be eliminated. The following hazards may arise in connection with the equipment’s construction and layout:
a) Cut injuries if no safety clothing is used.
b) Lung damage if no suitable protective dust mask is applied.
c) Damage to hearing if no suitable ear protection is applied.
d) Health damage caused by hand-arm vibrations if the equipment is used over a longer period or is not properly guided and maintained
Lubrication system
The chain is automatically lubricated.
Use only new chain oil specifically formulated for chainsaws.
WARNING! Never use wasted oil, low quality oil, or insufficient oil. This could damage the pump; the bar and the chain may result in serious personal injury Check oil level before each work session, refill if less than full.
If the lubrication system does not work properly, check if the oil filter and all oil-ways are clean and free from obstructions. If it is still not working, contact an authorized service center.
Intended use/Not intended use
The chainsaw with telescoping arm is intended for removing branches from trees. It is not suitable for extensive sawing work and felling trees or for the sawing of materials other than wood. Please observe that our machine was not designed for use in commercial, technical or industrial applications. We assume no liability if the machine is used in commercial, technical or industrial applications or for equivalent activities.
Symbols
IMPORTANT: Some of the following symbols may be used on your tool. Be sure to study them and learn their meaning. Proper interpretation of these symbols will allow you to use the machine more effectively and reduce the risk of accident.
| Indicates danger, warning or caution. |
| WARNING – To reduce the risk of injury, user must read instruction manual. |
| Wear ear protection, eye protection and helmet when using the product. |
| Wear gloves and safety boots to protect against electric shock Clothing must be sturdy and snug-fitting, but allow complete freedom of movement. |
| Conforms to relevant safety standards. |
| This product is double insulated electrically |
| Guaranteed sound power level (tested according to Directive 2000/14/EC as amended by 2005/88/EC) |
| Protect the machine from the damp and never expose it to rain. |
| SWITCH OFF: Remove plug from mains before cleaning or maintenance SWITCH OFF: Remove plug from the mains immediately if the cable is damaged or cut. |
| Maintain a minimum clearance of 10 m from current-carrying lines. Life-threatening danger from electric shock |
| WEEE symbol. Tools that are no longer usable should not be disposed of with household waste but in an environmentally friendly way. Please recycle where facilities exist. Check with your local council authority for recycling advice. |
Technical Data
Rated Voltage: 230V~50Hz
Rated Power: 750W
Bar Length: 20cm (8″”)
Chain Speed: 11m/s
No-Load Speed: 6000/min
Cable Length: 0.25m
SDS Chain Tensioning
Description of main parts (Picture A)
| No. | Part | No. | Part |
| 1 | Guide bar | 9 | Pole (tube) |
| 2 | Saw chain | 10 | Sponge sleeve |
| 3 | Adjusting knob (grey) for saw chain tension | 11 | Seat for shoulder strap |
| 4 | Adjusting knob (grey) for guide bar tension | 12 | Rear handle |
| 5 | Cap of oil tank | 13 | On-off switch |
| 6 | Cover of guide bar and saw chain | 14 | Lock-off button (at the other side of machine) |
| 7 | Adjusting knob for head angle (30 degrees) | 15 | Shoulder strap |
| 8 | Quick clip of telescopic pole | 16 | Guard of guide bar and chain |
| Remark: Above are all assembled in the standard delivery when the packaging is unsealed. | |||

Before the use
Unpacking
- Unpack all parts and lay them on a flat, stable surface.
- Remove all packing materials and shipping devices if applicable.
- Make sure the delivery contents are complete and free of any damage. If you find that parts are missing or show damage do not use the product but contact your store. Using an incomplete or damaged product represents a hazard to people and property.
- Ensure that you have all the accessories and tools needed for assembly and operation. This also includes suitable personal protective equipment.
Chain pensioning check
WARNING! Unplug the product from the power source before adjusting the saw chain tension! The cutting edges of the saw chain are sharp. Always wear protective gloves when handling the chain!
NOTE: The chain and bar have been already assembled on the machine when you get it out of box. If disassembled chain and bar for replacement, please read the maintenance part in this manual for details.
Always maintain proper chain tension! A loose chain increases the risk of kickback! A loose chain may jump out of the guide bar groove! This may injure the operator and damage the chain! A loose chain will cause rapid wear to the chain, guide bar and sprocket! Tensioning the chain too tightly will overload the motor and cause damage, and insufficient tension can cause chain derailing, whereas a correctly tightened chain provides the best cutting characteristics and prolonged working life! The chain life mainly depends upon sufficient lubrication and correct tensioning! Saw chain tensioning is required first. Check the chain tension using one hand to lift the saw chain (2) against the weight of the product. The correct chain tension is achieved when the saw chain can be lifted by approximately 2-4mm from the guide bar (1) in the center Figs. B, C).

WARNING! Always disconnect the mains plug before performing any checks or adjustments.
Always wear protective gloves when working on the pole saw to protect yourself against injury.
If loose chain is found before use, please follow up the instruction below.
(If tight chain is found before use, please do the opposite to the below instruction.)
Firstly Set the product on a suitable flat surface and remove the guard of guide bar (16).
Then slightly tighten the grey Knob (4) clockwise. (Fig. D)
Do not tighten the grey Knob (4) completely in a way that another grey Knob (3) around the grey knob (4) can be tightened clockwise for chain pensioning.
When the chain tension is appropriate, keep tightening the grey Knob (4) completely.
Saw Chain Tensioning
Always check the saw chain tension before use, after first cuts and regularly during use approximately every five cuts. After initial operation, new chains can lengthen considerably.
This is normal during the break-in period and the interval between future adjustments will lengthen quickly. Important! All of the chain links must lie properly in the guide groove of the cutter rail.
NOTE: After operating the product for approximately 1 hour, adjust the chain tension again.
Lubrication
WARNING! The product is not filled with oil. It is essential to fill the product with oil before using it! Never operate the product without chain oil or with an empty oil tank, as this will result in extensive damage to the product!
Never operate the bar and chain without lubrication oil!
Operating the products dry or with too little oil will decrease cutting efficiency, shorten the product life span and cause rapid wear to the chain and bar from overheating! Insufficient oil is evident by smoke or bar discoloration! Adequate lubrication of the saw chain during cutting operations is essential to minimize
friction with the guide bar. Your product is equipment with an automatic oiling system! The oiling system automatically delivers the proper amount of oil to the bar and chain!
Set the product on any suitable surface with the tank cap (5) facing upwards.
Unscrew and remove the tank cap (5), then add the lubricant into the tank. Use a proper funnel with a filter to prevent debris entering the tank and to avoid spilling and overfill and leave approx. 5mm of space to the lower edge to allow the lubrication to expand (Fig. E).
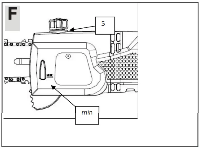
Check the oil level window (Fig. F) prior to start-up and regularly during operation. Refill oil when the oil level is lower than “MIN” marking (Fig. F).
Wipe up spilled lubricant with a soft cloth and refit the tank cap (5).
NOTE: Always dispose of lubricant, used oil and objects contaminated with them in accordance with local regulations.
Connection to the power supply
Picture G: (1) Cable hook
WARNING! For your safety, it is required that the plug attached to this product is always connected to an extension cable when cable is insufficient to your use!
The extension cable must be suitable for outdoor use with sockets protected against water splashing! Ensure the extension cable is of the proper size and type for your product!
The extension cable must always be used with the cable strain relief! Do not use the product without an extension cable connected. Always use a residual current supply (RCD) protected supply!
Make sure the on-off switch (13) is in its off position.
Double the extension cable, about a foot from the end and hook the loop over the cable strain relief. Gently pull on the cord to ensure that it is firmly attached at the handle (Fig. G).
Connect the extension cable to a suitable socket.
Your product is now ready to be used.
WARNING! Check the voltage! The voltage must comply with the information on the rating label!
Operation
Check that you have noted all the following instructions:
Before starting you must have fully read and understood the entire instruction manual.
Working with this product is demanding’ therefore ensure you are physically and mentally fit to complete the job safety.
Ensure that you have all the accessories and tools needed for assembly and operation.
Make sure that you wear suitable personal protective equipment.
Ensure that no unauthorized people, especially children, and pets are nearby or could enter the working area.
- Ensure that the product is free from damage and that it is not worn.
- Make sure that safety devices and accessories are correctly fixed.
- Double check that all assembly tools have been removed from the product before use.
Undertake periodic structural checks of this product; do not use it if you have any doubts about its suitability for its intended purpose.
WARNING! For your own and the safety of other people you must read and follow the safety instructions.
On/Off switch
Grip the product with both hands, your left hand holding the pole (9) and your right hand holding the rear handle (12).
Press the lock-off button (14) and hold it in position.
Squeeze in the on/off switch (13) to switch the product on (Fig. H).
Release the on/off switch (13) to switch the product off.
General operation
Check the product, its power cord and plug as well as accessories for damage before each use. Do not use the product if it is damaged or shows wear.
Double check that accessories and the guide bar/saw chain are properly fixed.
Always hold the product by its handle. Keep the handle dry to ensure safe support.
Ensure that the air vents are always unobstructed and clear. Clean them if necessary with a soft brush. Switch the product off immediately if you are disturbed while working by other people entering the working area. Always let the product come to complete stop before putting it down.
Do not overwork yourself. Take regular breaks to ensure you can concentrate on the work and have full control over the product.
Note: It is highly advised to wear the shoulder strap always during your operation.
Preparation
Familiarize yourself with all the controls and switches. Practice all movements with the product switched off.
Always hold the products firmly with both hands. Hold the pole with your left hand and the rear handle with your right hand. Fully grip both handles at all times during operation. Never operate the product using only one hand. Ensure the power cord is located to the rear, away from the chain and the wood and is positioned so that it cannot be caught on branches or similar objects during cutting.
Only use the product with a secure stance. Hold the product to the right-hand side of your body.
Use of the shoulder strap:
- Wear the shoulder belt so that it lies over the right shoulder (Fig. I).

- Fasten the carabiner hook on the shaft bracket on the shaft (Fig. J).

Never carry the belt diagonally across your shoulders and chest, but rather only on one shoulder, so that you can rapidly move away from the tool in case of danger.
The Saw chain (2) must be running at full speed for a while before it makes contact with the wood. Use the spike bumper to secure the product onto the wood before starting to cut and use it as a leverage point while cutting.
Safe work
- In order to ensure safe work, a maximum working angle of 60°is prescribed. (Fig. K)

- Never stand below the branch to be sawed.
- Exercise caution when sawing branches under tension or splintering wood.
- Potential risk of injury from falling branches and flying wood projectiles!
- If the machine is in operation, keep persons and animals away from the danger area.
- The machine is not protected against electric shock when coming into contact with high-voltage lines.
Maintain a minimum clearance of 10 m from current carrying lines. Life-threatening danger from electric shock! - When working on an incline, always stand above or to the side of the branch to be sawed.
- Hold the machine as close as possible to your body.
By doing so, you maximize your balance.
Adjusting the telescopic pole length
- Open the locking clip (Fig. L) to loosen the pole for telescopic adjustment.

- The lock is released and can be adjusted to the desired length by pulling the ends out from one another to the desired length. (Fig. M)

- Then firmly tighten the locking clip in downward motion. (Fig. L)
Adjusting the head angle
Picture N: *1 Loosen.
Loosen the knob (7) anticlockwise and the pole saw head will be downward by an angle at 00, 7.50, 150, 22.50, 300 which is digitally indicated around the knob (7). There are five settings of angle for option. (Fig. N)
When the angle is set, tighten the knob (7) completely clockwise to fix the angle before work.
Cutting techniques
- When removing branches, hold the machine at an angle ranging from a maximum 60° to horizontal in order to avoid being struck by a falling branch.
- Saw off the lower branches on the tree first. By doing so, it is easier for the cut branches to fall to the ground.
- At the end of the cut, the weight of the saw suddenly increases for the user, because the saw is no longer supported on the branch. There is the risk of losing control of the saw.
- Only pull the saw out of the cut with the saw chain running. By doing so, you can prevent it from getting jammed.
- Do not saw with the tip of the guide bar.
- Do not saw into thick the branch formations. This impedes the tree’s ability to heal the wound.
Sawing off smaller branches (Fig. O)
Place the stop face of the saw on the branch. This prevents fitful movements of the saw at the beginning of the cut. Applying light pressure, guide the saw through the branch from top to bottom.
Sawing off larger and longer branches (Fig. P)
Make a relief cut when sawing larger branches.
a) First saw through 1/3 of the branch diameter from bottom to top using the top side of the guide bar.
b) Then saw from top to bottom to the first cut using the bottom side of the guide bar.
c) Saw off longer branches in sections in order to maintain control over the location of impact.
Kickback
The term kickback refers to when the pole saw suddenly jumps up and back. This is usually caused by the work piece coming into contact with the guide bar tip or the clamping of the saw chain.
A kickback generates abrupt, powerful forces. Therefore, the pole saw usually reacts in an uncontrolled manner.
The consequence is often the severe injury of the user or nearby persons.
The danger of a kickback is greatest if you apply the area near the guide bar tip to a branch, because the leverage effect is greatest there. Therefore, always apply the saw as flatly as possible.
Attention!
- Always make sure that the chain tension is correct!
- Only use properly functioning chainsaws!
- Only work with a saw chain sharpened according to regulations!
- Never saw with the upper edge or tip of the guide bar!
- Always hold the chainsaw firmly with two hands!
Sawing wood under tension Sawing wood which is under tension necessitates elevated caution! Wood that is under tension and is then released from that tension when cut occasionally reacts in a completely uncontrolled manner. This can result in severe to deadly injuries. Such work may only be performed by trained specialists.
Cleaning and maintenance
WARNING! Always switch the product off, disconnect it from power supply and let the product cool down before performing inspection, maintenance and cleaning work!
Keep the product clean. Remove debris from it after each use and before storage.
Regular and proper cleaning will help ensure safe use and prolong the life of the product.
Inspect the product before each use for worn and damaged parts. Do not operate it if you find broken and worn parts.
WARNING! Only perform repairs and maintenance work according to these instructions!
All further works must be performed by a qualified specialist!
NOTE: Never saw with a blunt chain. The saw chain is blunt if you have to push the product into the tree and the chips are very small.
Have your chain (2) sharpened professionally at authorized service centre or sharpen the chain yourself using a proper sharpening kit.
WARNING! Only sharpen the saw chain yourself if you are trained and have experience!
Use proper tools to sharpen the saw chain!
Effective working with the chainsaw is only possible if the saw chain is in good condition and sharp. This also reduces the risk of kickback. The saw chain can be re-sharpened by authorized service center.
Do not attempt to sharpen the saw chain yourself unless you have the necessary special tools and experience.
Checking the automatic chain lubrication
You should check the operation of the automatic chain lubrication system on a regular basis in order to guard against overheating and the associated damage to the cutter rail and the saw chain.
To do this, point the tip of the cutter rail towards a smooth surface (board, section of a cut tree) and allow the pole saw to run. If an increasing oil trace becomes evident during this process then the automatic chain lubrication system is working properly. If no clear oil trace is evident then please refer to the corresponding instructions in “Troubleshooting”.
If the information contained there still fails to remedy the situation then please dial our helpline. Important! Do not actually touch the surface with the tip of the cutter rail when performing this test. Keep a safe distance (approx. 20 cm).
Chain and bar replacement
Assemble the guide bar and saw chain before operation. Follow the operating instructions step-by-step and use the pictures provided as a visual guide to easily assemble the product.
Warning! Read all the instructions carefully! Do not connect the product to the power supply until it is completely assembled! Always wear gloves during assembly!
Use only the guide bar (1) and saw chain (2) according to the technical data of the product.
Place the product on a suitable flat surface with the cover (6) facing upwards.
Loosen the Knob (4) anticlockwise and remove the cover (6) (Fig. Q)
Spread the saw chain (2) out with the cutting edges of the chain pointing in the rotational direction and side the chain into the groove around the guide bar. (Fig. B/Fig. R)
Align the guide bar (1) and saw chain (2) assembly with the drive sprocket (A) and bolt (B).
Lay the saw chain around the drive sprocket and when lower the guide bar to install it to the bolt.
(Fig. S/Fig. T)

Replace the cover (6) and then slightly tighten the grey Knob (4) clockwise. (Fig. D)
Do not tighten the grey Knob (4) completely in a way that another grey Knob (3) around the grey knob (4) can be tightened clockwise for chain tensioning.
When the chain tension is appropriate, keep tightening the grey Knob (4) completely.
NOTE: The saw chain (2) has not yet been tensioned. Tension the chain as described under “Saw chain tensioning”. After operating the product for approximately 1 hour, adjust the chain tension again.
Saw Chain Tensioning
Always check the saw chain tension before use, after first cuts and regularly during use approximately every five cuts. After initial operation, new chains can lengthen considerably. This is normal during the break-in period and the interval between future adjustments will lengthen quickly.
WARNING! Unplug the product from the power source before adjusting the saw chain tension! The cutting edges of the saw chain are sharp. Always wear protective gloves when handling the chain!
Always maintain proper chain tension! A loose chain increases the risk of kickback! A loose chain may jump out of the guide bar groove! This may injure the operator and damage the chain! A loose chain will cause rapid wear to the chain, guide bar and sprocket!
Tensioning the chain too tightly will overload the motor and cause damage, and insufficient tension can cause chain derailing, whereas a correctly tightened chain provides the best cutting characteristics and prolonged working life! The chain life mainly depends upon sufficient lubrication and correct tensioning!
Check the chain tension using one hand to lift the saw chain (2) against the weight of the product. The correct chain tension is achieved when the saw chain can be lifted by approximately 2-4mm from the guide bar (1) in the centre (Fig. B/Fig. C).
Turn the knob (4) clockwise to tighten the cover (6) completely
Power cord
If the power cord is damaged, it must be replaced by the manufacturer, its service agent or similarly qualified persons in order to avoid a safety hazard.
Repair
This product does not contain any part that can be repaired by the consumer. Contact a qualified specialist to have it checked and repaired.
Storage
Clean the product as described above.
Store the product and its accessories in a dry, frost-free place.
Always store the product in a place that is inaccessible to children. The ideal storage temperature is between 10 to 30°C.
We recommend using the original package for storage or covering the product with a suitable cloth to protect it against dust.
Transportation
Switch the product off and disconnect it from power supply before transporting it anywhere.
Attach transportation guards, if applicable.
Always carry the product by its handle.
Protect the product from any heavy impact or strong vibrations which may occur during transportation in vehicles.
Secure the product to prevent it from slipping or falling over.
WARNING! Before carrying out any repairs or servicing work, you must ensure that the product has been disconnected from the power supply. Repairs and maintenance work other than described within this instruction manual may be performed only by qualified specialist!
Service and storage
To ensure long and reliable service, carry out the following maintenance regularly. Servicing and cleaning work on the product and the removal of the guards may only be carried out after the motor has been switched off and the plug disconnected from the power supply.
- Regularly check for obvious defects such as loose, dislodged or damaged chain and guide bar, loose fixings and worn or damaged components.
- Check that covers and guards are undamaged and correctly fitted. Carry out necessary maintenance or repairs before using the product.
- If the cutting device should happen to fail despite the care taken in manufacturing and testing, repair should be carried out by an authorized specialist.
- Do not clean the product while it is running.
- Ensure that all the fastening elements (screws, nuts, etc.) are tight at all times so that you can safely work with the product.
- Check the product frequently for signs of wear. Replace worn or damaged parts.
- Store your product in a dry place. To ensure a long service life all screw parts should be cleaned and then oiled.
- Clean the product with a brush or cloth. Do not use any solvents or water to remove dirt.
Recycling and disposal
The product comes in a package that protects it against damage during shipping. Keep the package until you are sure that all parts have been delivered and the product is function properly. Recycle the package afterwards.
Old products are potentially recyclable under WEEE and do not, therefore, belong in your household rubbish. You are requested to assist us and our contribution to saving resources and protecting the environment by handing in this appliance at an equipped collection centre (if there is one available).
- The manufacturer reserves the right to make minor changes to product design and technical specifications without prior notice unless these changes significantly affect the performance and safety of the products. The parts described / illustrated in the pages of the manual that you hold in your hands may also concern other models of the manufacturer’s product line with similar features and may not be included in the product you just acquired.
- Please note that our equipment has not been designed for use in commercial, trade or industrial applications. Our warranty will be voided if the machine is used in commercial, trade or industrial businesses or for equivalent purposes.
- To ensure the safety and reliability of the product and the warranty validity, all repair, inspection, repair or replacement work, including maintenance and special adjustments, must only be carried out by technicians of the authorized service department of the manufacturer.
































