STIHL HTA 66, 86 Cordless Pole Pruner

Introduction
Dear Customer,
Thank you for choosing STIHL. We develop and manufacture our quality products to meet our customers’ requirements. The products are designed for reliability even under extreme conditions.
STIHL also stands for premium service quality. Our dealers guarantee competent advice and instruction as well as comprehensive service support.
STIHL expressly commit themselves to a sustainable and responsible handling of natural resources. This user manual is intended to help
Dr. Nikolas Stihl
IMPORTANT! READ BEFORE USING AND KEEP IN A SAFE PLACE FOR REFERENCE.
Guide to Using this Manual
Applicable Documents
The local safety regulations apply. In addition to this User Manual, you should also read, understand and retain the following documents:
- User manual of the carrying system you are using
- User Manual for STIHL AR battery
- User Manual for “AP belt bag with connecting cable” Safety notices and precautions for STIHL AP battery
- User Manual for STIHL AL 101, 301, 301-4, 500 chargers
- Safety information for STIHL batteries and products with built-in battery: www.stihl.com/safety-data-sheets
For further information on STIHL connected, compatible products and FAQs, please visit www.connect.stihl.com or available from a STIHL servicing dealer. The Bluetooth® word mark and logos are registered trademarks owned by Bluetooth SIG, Inc. These word marks/logos are used by STIHL under license.
Batteries with are equipped with a Bluetooth® radio interface. Local operating restrictions (in aircraft or hospitals, for example) must be observed.
Symbols used with warnings in the text
WARNING This symbol indicates dangers that can cause serious injuries or death.
The measures indicated can avoid serious injuries or death.
NOTICE This symbol indicates dangers that can cause damage to property.
The measures indicated can avoid damage to property.
Symbols in Text
This symbol refers to a chapter in this instruction manual.
Overview
STIHL HTA 66 Pole Pruner and Battery

- Chain scabbard
The chain scabbard protects against contact with the saw chain. - Handle hose
For holding and controlling the pole pruner. - Shaft
The shaft connects all components. - Oil tank cap
The oil tank cap closes the oil tank. - Battery compartment
The battery compartment holds the battery. - Control handle
For holding and controlling the pole pruner. - Ergo lever
The Ergo lever holds the release slide in position when the trigger is released. - Release slide
The release slide releases the trigger. - Carrying ring
The carrying ring is for attaching the carrying system. - Trigger
Switches the pole pruner on and off. - Locking lever
The locking lever holds the battery in the battery compartment. - Chain sprocket
The chain sprocket drives the saw chain. - Tensioning screw
The tensioning screw is used to adjust the chain tension. - Guide bar
The guide bar supports and guides the saw chain. - Saw chain
The saw chain cuts the wood. - Limit stop
Holds the pole pruner against the wood while cutting. - Chain sprocket cover
Covers the chain sprocket and secures the guide bar to the pole pruner. - Nut
The nut secures the chain sprocket cover to the pole pruner. - Battery
Supplies power to the pole pruner. - LEDs
The LEDs indicate the state of charge of the battery and any faults. - Pushbutton
The button activates the LEDs on the battery. It activates and deactivates the Bluetooth® radio interface (if available). - LED BLUETOOTH® (only for batteries with )
The LED indicates activation and deactivation of the Bluetooth® interface.
# Rating plate with the machine number
STIHL HTA 86 Pole Pruner and Battery

- Chain scabbard
The chain scabbard protects against contact with the saw chain. - Handle hose
For holding and controlling the pole pruner. - Shaft
The shaft connects all components. - Oil tank cap
The oil tank cap closes the oil tank. - Battery compartment
The battery compartment holds the battery. - Control handle
For holding and controlling the pole pruner. - Ergo lever
The Ergo lever holds the release slide in position when the trigger is released. - Release slide
The release slide releases the trigger. - Carrying ring
The carrying ring is for attaching the carrying system. - Trigger
Switches the pole pruner on and off. - Locking lever
The locking lever holds the battery in the battery compartment. - Clamp nut
Serves to adjust the length of shaft. - Chain sprocket
The chain sprocket drives the saw chain. - Tensioning screw
The tensioning screw is used to adjust the chain tension. - Saw chain
The saw chain cuts the wood. - Guide bar
The guide bar supports and guides the saw chain. - Limit stop
Holds the pole pruner against the wood while cutting. - Chain sprocket cover
Covers the chain sprocket and secures the guide bar to the pole pruner. - Nut
The nut secures the chain sprocket cover to the pole pruner. - Battery
Supplies power to the pole pruner. - LEDs
The LEDs indicate the state of charge of the battery and any faults. - Pushbutton
The button activates the LEDs on the battery. It activates and deactivates the Bluetooth® radio interface (if available). - LED BLUETOOTH® (only for batteries with)
The LED indicates activation and deactivation of the Bluetooth® interface.
# Rating plate with the machine number
Symbols
Meanings of the symbols that may be on the pole pruner and battery:
- The clamp nut is unscrewed in this position. The shaft can be extended.
- The clamp nut is locked in this position. The shaft cannot be extended.
- This symbol marks the oil tank for saw chain oil.
- This symbol shows the direction of rotation of the saw chain.
- Rotate in this direction to increase the saw chain tension 1 LED lights up red. The battery is too warm or too cold.4 LEDs flash red. There is a fault in the battery..
- The battery is equipped with a Bluetooth® radio interface and can be paired with the STIHL connected app. The information next to the symbol indi- cates the energy content of the battery according to the cell manufacturer’s specification. The energy content available in operation is lower. Do not dispose of the product with domes- tic waste.
Safety Precautions
Warning Symbols
- Wear work gloves.
- Maintain a safety distance.
- Meanings of warning symbols on the pole pruner or battery:
- Observe safety notices and take the necessary precautions.
- Read, understand and keep the User Manual.
- Wear safety glasses and a hard hat.
- Wear safety boots.
- Remove the battery during work stop- pages, transport, storage, maintenance or repair.
- Protect battery from heat and fire.
- Do not immerse battery in fluids
- Observe the permitted battery temperature range.
Intended Use
The STIHL HTA 66 and HTA 86 pole pruners are designed for lambing and pruning the branches of tall trees.
The pole pruner must not be used for felling operations.
The pole pruner may be used in the rain.
The pole pruner is powered by a STIHL AP battery or a STIHL AR battery.
The battery with in combination with the STIHL connected app enables customization and the transfer of information to the battery using Bluetooth® technology.
WARNING
- Batteries not explicitly approved for the pole pruner by STIHL may cause a fire or explosion. Persons may be seriously or fatally injured, and property may be damaged.
- Use the pole pruner with a STIHL AP battery or a STIHL AR battery.
- Using the pole pruner or the battery for purposes for which they were not designed may result in serious or fatal injuries and damage to property.
- Use the pole pruner as described in this User Manual.
- Use the battery as described in this User Manual, the STIHL AR battery User Man- ual, the STIHL connected app and at www.connect.stihl.com.
The Operator
WARNING
- Users without adequate training or instruction cannot recognize or assess the risks involved in using the pole pruner and battery. The user or other persons may sustain serious or fatal injuries.
- Read, understand and save the instruction manual.
- If you pass the pole pruner or battery on to another person: Always give them the instruction manual.
- Make sure the user meets the following requirements:
- The user must be rested.
- The user must be in good physical condition and mental health to operate and work with the pole pruner and battery. If the user’s physical, sensory or mental ability is restricted, he or she may work only under the supervision of or as instructed by a responsible person.
- The user is able to recognize and assess the risks involved in using the pole pruner and battery.
- The user must be of legal age or is being trained in a trade under supervision in accordance with national rules and regulations.
- The user has received instruction from a STIHL servicing dealer or other experienced user before working with the pole pruner for the first time.
- The user must not be under the influence of alcohol, medication or drugs.
- If you have any queries: Contact a STIHL servicing dealer for assistance.
Clothing and equipment
WARNING
- Long hair may be pulled into the pole pruner during operation. This may result in serious injury to the user.
- Tie up and confine long hair above your shoulders.
- Objects can be thrown at high speed during operation. This may result in injury to the user.
- Wear close-fitting safety glasses. Suitable safety glasses are tested in accordance with EN 166 or national regulations and available commercially with the corresponding marking.
- Falling objects can cause head injuries. wear a hard hat.
- Dust can be whipped up during operation. Whipped up dust can damage the respiratory passages and cause allergic reactions.
- If dust is generated: Wear a dust respirator mask.
- Unsuitable clothing can snag on wood, brush or the pole pruner. Not wearing suitable clothing may result in serious injury.
- Wear close-fitting clothing.
- Remove scarves and jewelry.
- The user may cut himself or herself on wood while working. The user may come into con- tact with the saw chain during cleaning or servicing. This may result in injury to the user.
- Wear work gloves made from resist- ant material.
- Wearing unsuitable footwear may cause the user to slip. This may result in injury to the user.
- Wear sturdy, closed-toed footwear with high-grip soles.
Work Area and Surroundings
Pole Pruner
WARNING
- Bystanders, children and animals cannot recognize or assess the dangers of the pole pruner or flying debris. This may result in serious injury to bystanders, children and animals and damage to property.
- Do not allow bystanders, children or animals within 15 meters of the work area.
- Maintain a clearance of 15 meters from objects.
- Never leave the pole pruner unattended. Make sure that children cannot play with the pole pruner.
- Electrical components of the pole pruner may produce sparks. Sparks may cause fires and explosions in highly flammable or explosive environments. Persons may be seriously or fatally injured and property may be damaged.
- Do not work in a highly flammable or explosive environment.
Battery
WARNING
- Bystanders, children and animals cannot recognize or assess the dangers of the battery. Bystanders, children and animals may be seriously injured.
- Keep bystanders, children and animals away from the work area.
- Do not leave the battery unattended.
- Make sure that children cannot play with the battery.
- The battery is not protected against all ambient conditions. If the battery is exposed to certain ambient conditions, the battery may catch fire, explode or be irreparably damaged. This may result in serious injury to people and damage to property.
- Protect battery from heat and fire.
- Do not throw the battery into a fire.
- Use and store the battery at temperatures between ‑ 10 °C and + 50 °C.
- Do not immerse the battery in fluids.
- Keep battery away from small metal parts.
- Do not expose the battery to high pressure.
- Do not expose the battery to microwaves.
- Protect the battery from chemicals and salts.
Safe Condition
Pole Pruner
The pole pruner is in a safe condition if the following points are observed:
- The pole pruner is not damaged.
- The pole pruner is in a clean condition.
- The controls function properly and have not been modified.
- The chain lubrication is operating properly.
- Wear marks on the chain sprocket are not deeper than 0.5 mm.
- A combination of guide bar and saw chain recommended in this User Manual is mounted.
- The guide bar and saw chain are properly mounted.
- The saw chain is properly tensioned.
- Only original STIHL accessories designed for this pole pruner model are fitted.
- The accessories are correctly attached.
- The oil tank cap is closed.
WARNING
- If not in safe condition, components may no longer operate correctly and safety devices may be disabled. This may result in serious or fatal injury to people.
- Work only with an undamaged pole pruner.
- If the pole pruner is dirty: Clean the pole pruner.
- Do not modify the pole pruner. Exception: Mounting a combination of guide bar and saw chain recommended in this User Man‐ual.
- If the controls do not function properly: Do not use the pole pruner.
- Only fit original STIHL accessories designed for this pole pruner model.
- Mount the guide bar and saw chain as described in this User Manual.
- Attach accessories as described in this User Manual or in the User Manual for the accessories.
- Never insert objects in the openings of the pole pruner.
- Close the oil tank cap.
- Replace worn or damaged labels.
- If you have any doubts, be sure to consult a STIHL dealer.
Guide Bar
The guide bar is in a safe condition if the following points are observed:
- Guide bar is not damaged.
- Guide bar is not deformed.
- The minimum groove depth is maintained, 20.3.
- Bar rails are free from burrs.
- Bar groove is not pinched or splayed.
WARNING
- If the guide bar is not in a safe condition, it can no longer support and guide the saw chain properly. The rotating saw chain can jump off the guide bar. This can result in serious or fatal injuries.
- Work only with an undamaged guide bar.
- If the groove depth is less than the mini- mum depth: Mount a new guide bar.
- Deburr the guide bar every week. If you have any queries: Contact your STIHL servicing dealer.
Saw Chain
The saw chain is in a safe condition if the following points are observed:
- Chain is not damaged.
- Chain is properly sharpened.
- The service marks on the cutters are still visible.
WARNING
- If components do not comply with safety requirements, they will no longer function properly and safety devices may be rendered inoperative. This can result in serious or fatal injuries.
- Work only with an undamaged saw chain.
- Sharpen the chain properly.
- If you have any queries: Contact your STIHL servicing dealer for assistance.
Battery
The battery is in safe condition when the following conditions are met:
- The battery is not damaged.
- The battery is clean and dry.
- The battery is working and has not been modified.
WARNING
- The battery cannot function safely if it is not in safe condition. There is a risk of serious injury to persons.
- Use an undamaged and functioning battery.
- Do not charge a damaged or defective battery.
- If the battery is dirty or wet: clean the battery and allow it to dry.
- Do not modify the battery.
- Do not insert objects into the apertures in the battery.
- Never connect the battery terminals to metallic objects and cause a short circuit.
- Do not open the battery.
- Replace worn or damaged warning signs.
- Fluid may leak from a damaged battery.
- If the fluid contacts the skin or eyes, this may cause irritation.
- Avoid contact with the fluid.
- In the event of contact with the skin: wash the affected areas with plenty of soap and water.
- In the event of contact with the eyes: rinse the eyes with plenty of water for at least 15 minutes and seek medical attention.
- A damaged or defective battery may emit an unusual odor, smoke or catch fire. This may result in serious or fatal injury to people and damage to property.
- If the battery emits an unusual odor or smoke: do not use the battery and keep it away from flammable materials.
- If the battery catches fire: try to extinguish the battery using a fire extinguisher or water.
Working
Sawing
WARNING
- Always work within calling distance of others so that you can summon help in an emergency.
- Make sure that people are within earshot outside the working area.
- In certain situations, the user may no longer be able to concentrate on their work. The user may lose control of the pole pruner, stumble or fall and be seriously injured.
- Keep calm and plan your work. If light and visibility are poor: Do not use the pole pruner.
- Use the pole pruner without assistance.
- Watch out for obstacles.
- Work standing on the ground and keep your balance.
- If you have to work at a height: Use a mobile elevating work platform or secure scaffolding.
- If you start feeling fatigue: Take a break.
- The moving saw chain can cut the user. This may result in serious injury to the user. Do not touch the rotating saw chain. If the saw chain is blocked by an object: Switch off the pole pruner and remove the battery. before clearing the jam.
The moving saw chain warms up and expands. If the saw chain is not sufficiently lubricated and pretensioner, the saw chain may jump off the guide bar or it may break. This may result in serious injury to people and damage to property.- Use saw chain lubricant.
- Check the saw chain tension regularly while working. If saw chain tension is insufficient: Tension the saw chain.
- If the behavior of the pole pruner changes during operation or feels unusual, it may no longer be in a safe condition. This may result in serious injury to people and damage to property.
- Stop working, remove the battery and consult a STIHL servicing dealer.
- Vibrations may occur while using the pole pruner.
- Wear gloves.
- Take breaks.
- If signs of a circulatory disturbance occur:
- Consult a doctor. If the moving saw chain hits a hard object, sparks may occur. Sparks can cause fires in a flammable environment. Persons may be seriously or fatally injured and property may be damaged.
- Do not use the chain saw in a flammable environment.
- The saw chain runs on for a short period after you release the trigger. People may be cut by the moving saw chain. They may cause serious injury to persons.
- Hold the pole pruner firmly with both hand sand wait until the saw chain comes to a standstill.
- In an emergency, the user may start to panic and forget to take off the carrying system. This may result in serious injury to the user. Practice taking off the carrying system.
WARNING

- If you saw wood which is under tension, the guide bar may become jammed. The user may lose control of the pole pruner and be seriously injured.
- First make a relief cut (1) on the compression side (A), then a separating cut (2), off-set in the direction of the trunk, on the tension side (B).
DANGER
- Working near live electric cables may result in accidental contact with the saw chain and 4 Safety Precautions damage the cables. This may result in serious or fatal injury to the user.
Maintain a clearance of 15 meters from live cables.
Limbing
- During delimbing the sawn-off branch may fall to the ground. This may result in serious injury to the user.
- Do not stand under the branch which you are sawing.
- Maintain an angle of no more than 60° to the horizontal.
Reactive Forces
Kickback
Kickback can be caused for the following reasons:
- The rotating saw chain in the upper quadrant of the bar nose makes contact with a hard object and is suddenly braked.
- The rotating saw chain is pinched at the bar nose.
WARNING

- If kickback occurs, the pole pruner can be thrown upwards and backwards. The user can lose control of the pole pruner and be seriously injured.
- Always hold your pole pruner firmly with both hands.
- Always keep your body out of the plane of the cutting attachment.
- Use the working techniques described in this instruction manual.
- Do not cut with the upper quadrant of the bar nose.
- Always cut with a properly sharpened and tensioned saw chain.
- Use a reduced kickback saw chain.
- Use a guide bar with a narrow radius nose.
- Always cut with the chain running at full speed.
Pull-In

The pole pruner is pushed back toward the operator when the top of the bar is used for cutting.
WARNING
- If the rotating chain makes contact with a hard object and is suddenly pinched, the pole pruner is abruptly pushed back toward the operator. The user can lose control of the pole pruner and be seriously injured.
- Always hold your pole pruner firmly with both hands.
- Use the working techniques described in this instruction manual.
- Keep the guide bar straight in the cut.
- Always cut with the chain running at full speed.
Pushback

The pole pruner is pulled away from the operator when the bottom of the bar is used for cutting.
WARNING
- If the rotating chain makes contact with a hard object and is suddenly pinched, the pole pruner is abruptly jerked away from the operator. The user can lose control of the pole pruner and be seriously injured.
- Always hold your pole pruner firmly with both hands.
- Use the working techniques described in this instruction manual.
- Keep the guide bar straight in the cut. Apply the stop properly.
- Always cut with the chain running at full speed.
Transporting
Pole Pruner
WARNING
- The pole pruner may turn over or shift during transport. Persons may be injured or property damaged.
- Remove the battery.
- Fit the chain scabbard so that it completely covers the guide bar.
- Secure the pole pruner with lashing straps or a net to prevent it from turning over and moving.
Battery
WARNING
- The battery is not protected against all ambient conditions. The battery may be damaged if it is exposed to certain ambient conditions, and damage to property may occur.
- Never transport a damaged battery.
- The battery may turn over or shift during trans- port. This may result in injury to people and damage to property.
- Pack the battery in packaging in such a way that it cannot move.
- Secure the packaging so that it cannot move.
Storing
Pole Pruner
WARNING
- Children are not aware of and cannot assess the dangers of the pole pruner and can be seriously injured.
- Remove the battery.
- Fit the chain scabbard so that it completely covers the guide bar.
- Store the pole pruner out of the reach of children.
- Dampness may corrode the electrical contacts on the pole pruner and metal components. This can damage the pole pruner.
- Remove the battery.
- Store the pole pruner in a clean and dry condition.
Battery
WARNING
- Children are not aware of and cannot assess the dangers of the battery Children may be seriously injured.
- Store the battery out of the reach of children.
- The battery is not protected against all ambient conditions. If the battery is exposed to certain ambient conditions, the battery may be irreparably damaged.
- Store the battery in a clean and dry condition.
- Store the battery in an enclosed space.
- Store the battery separately from the pole pruner.
- If the battery is stored in the charger, dis- connect the mains plug and store the rechargeable battery at a battery charge status between 40% and 60% (2 lit green LEDs).
Preparing Pole Pruner for Operation
- Store the battery at a temperature range between – 10 °C and + 50 °C.
Cleaning, Maintenance and Repair
WARNING
- The pole pruner may start unintentionally if the battery is left in place during cleaning, maintenance or repair operations. This may result in serious injury to people and damage to property.
- Remove the battery.
- Aggressive cleaning agents, cleaning with a jet of water or pointed objects may damage the pole pruner, guide bar, saw chain and battery. If the pole pruner, guide bar, saw chain or battery are not cleaned correctly, components may no longer function properly or safety devices may be rendered inoperative. They may cause serious injury to persons.
- Clean the pole pruner, guide bar, saw chain and battery as described in this User Manual.
- If the pole pruner, guide bar, saw chain or battery are not serviced or repaired correctly, components may no longer function properly or safety devices may be rendered inoperative. This may result in serous or fatal injury to people.
- Do not attempt to service or repair the pole pruner or battery.
- If the pole pruner or the battery require servicing or repairs:
- Contact your STIHL dealer for assistance. Service or repair the guide bar and saw chain as described in this User Manual.
- The user may be cut by the sharp cutters while cleaning or servicing the saw chain. This may result in injury to the user.
- Wear work gloves made from resist- ant material.
Preparing the Pole Pruner for Operation
The following steps must be performed before commencing work:
Charging the Battery, LEDs
- Ensure that the following components are in a safe condition:
- Pole Pruner, 4.6.1.
- Guide bar, 4.6.2.
- Saw chain, 4.6.3.
- Battery, 4.6.4.
- Check the battery, 11.6.
- Fully charge battery as described in the User
- Manual for the STIHL AL 101, 301, 301-4, 500 chargers.
- Clean the pole pruner, 16.1.
- Assemble the pole pruner (HTA 86), 8.1.
- Mount the guide bar and saw chain, 8.2.1.
- Tension the saw chain, 8.3.
- Fill up with saw chain oil, 8.4.
- Adjust the shaft length (HTA 86), 12.1.
- Fit and adjust the carrying system, 12.2.
- Check the controls, 11.4.
- Check the chain lubrication, 11.5.
- If you cannot carry out this work: Do not use your pole pruner and contact your STIHL dealer for assistance.
Connecting a battery with Bluetooth® radio interface with the STIHL connected app
- Activate the Bluetooth® radio interface on the mobile device.
- Activating the Bluetooth® radio interface on the battery, 7.1.
- Download the STIHL connected app to the mobile device from the App Store and create an account.
- Open and sign in to the STIHL connected app. Add the battery in the STIHL connected app and follow the instructions on the screen.
For contacts and other information, please visit https://support.stihl.com or see the STIHL connected app.
The STIHL connected app is available internationally.
Charging the Battery
The charging time depends on various factors, e.g. the battery temperature or the ambient temperature. The actual charging time may vary from the charging time indicated. The charging time is indicated at www.stihl.com/chargingtimes
- Recharge the battery as described in the User Manual for the STIHL AL 101, 301, 301-4, 500 chargers.
Displaying the charge level

- Press the button (1). The LEDs light up green for about 5 seconds and indicate the state of charge.
- If the LED on the right flashes green: Charge the battery.
LEDs on Battery
The LEDs can show the state of charge or mal- functions. The LEDs can glow or flash green or red.
The state of charge is indicated when the LEDs glow or flash green.
- If the LEDs glow or flash red: Troubleshooting, 19.
There is a malfunction in the pole pruner or battery.
Activating and Deactivating Bluetooth® Radio Interface
Activating the Bluetooth® Radio Interface
- If the battery has a Bluetooth® radio interface: Press and hold the pushbutton until the “BLUETOOTH®” LED next to the symbol lights up blue for approximately 3 seconds. The Bluetooth® radio interface on the battery is activated.
Deactivating the Bluetooth® Radio Interface
If the battery has a Bluetooth® radio interface: Press and hold the pushbutton until the “BLUETOOTH®” LED next to the symbol lights up blue six times. The Bluetooth® radio interface on the battery is deactivated.
Assembling the Pole Pruner
Assembling the Pole Pruner (HTA 86)
Switch off the pole pruner and remove the battery.

- Align the shaft (1) as shown in the figure.
- Push the shaft (1) into the clamping piece (3) in such a way that the recesses (5 and 6) are in line.
- Push the shaft (1) into the clamping piece (3) as far as it will go in such a way that the clamping piece (3) is over the handle hose (7). Take care not to damage the cable (2).
- Fully tighten the screw (4).
The shaft need not be removed again.
Mounting and Removing the Bar and Chain
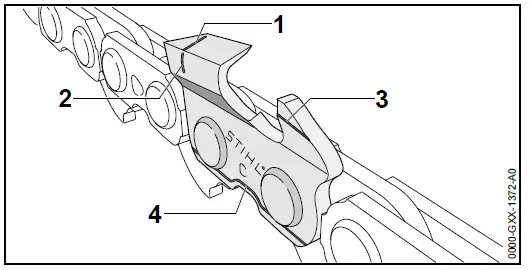
Mounting the Guide Bar and Saw Chain
The guide bar and saw chain combinations that can be used with the chain sprocket are listed in the specifications, 21.1.
- Switch off the pole pruner and remove the battery.

- Rotate the nut (1) counterclockwise until the chain sprocket cover (2) can be removed.
- Remove the chain sprocket cover (2). Turn the tensioning screw (3) countershock wise until the tensioner slide (4) butts against the left end of the housing.

- Fit the saw chain in the guide bar groove so that the arrows on the tie straps on the top of the bar point in the direction of rotation.

- Fit the guide bar and saw chain on the pole pruner and check the following points:
- The drive links of the saw chain are seated in teeth of the chain sprocket (7).
- The collar stud (5) is located in the slot in the tail of the guide bar (6).
- The peg of tensioner slide (4) engages the hole (8) in guide bar (6).

The guide bar (6) may be fitted either way round. The logo on the guide bar (6) may also be upside down.
- Turn the tensioning screw (3) clockwise until the saw chain fits snugly against the guide bar. Make sure the drive links engage the guide bar groove. The guide bar (6) and saw chain fit snugly against the pole pruner.
- Fit the chain sprocket cover (2) so that it is flush with the pole pruner.
- Fit the nut (1) and tighten it down firmly.
Removing the Guide Bar and Saw Chain
- Switch off the pole pruner and remove the battery.
- Rotate the nut counterclockwise until the chain sprocket cover can be removed.
- Remove the chain sprocket cover. Turn the tensioning screw counterclockwise as
- far as it will go. The saw chain is now slack. Remove the guide bar and saw chain.
Tensioning the Saw Chain
The saw chain expands or contracts during cut- ting work. The saw chain tension changes as a result. Check the saw chain tension regularly during operation and readjust if necessary.
- Switch off the pole pruner and remove the battery.

- Loosen the nut (1).
- Hold the guide bar nose up and turn the tensioning screw (2) clockwise until the following points apply:
- The chain sag `a’ in the center of the guide bar is 1 – 2 mm.
- The saw chain can still be pulled easily along the guide bar with two fingers.
- Hold the guide bar nose up and tighten down the nut (1) firmly.
- If the chain sag `a’ in the center of the guide bar is not 1 – 2 mm: Readjust the saw chain tension.
Filling Up with Saw Chain Oil
The saw chain oil lubricates and cools the rotating chain. Switch off the pole pruner and remove the battery. Place the pole pruner on a level surface so that the oil tank cap faces up. Use a damp cloth to clean the oil tank cap and the area around it .

- Swing the grip on the oil tank cap to the vertical position.
- Turn the oil tank cap counterclockwise as far as it will go.
- Remove the oil tank cap. Fill up with saw chain oil, taking care not to spill any oil and not to overfill the tank. If the grip on the oil tank cap has dropped into the closed position: Raise the grip until it is vertical.

- Place the oil tank cap in the filler opening so that mark (1) lines up with mark (2).
- Press the oil tank cap down and rotate it clock- wise as far as it will go. The oil tank cap snaps into place. The mark (1) points to mark (3).
- Check to see if the oil tank cap can be pulled upwards and off.
- If the oil tank cap cannot be pulled upwards and off: Fold down the grip on the oil tank cap. The oil tank is closed.
If the oil tank cap can be pulled upwards and off, perform the following steps:
- Place the oil tank cap in the filler opening in any position.

- Press the oil tank cap down and rotate it clock- wise as far as it will go.
- Press the oil tank cap down and rotate it counter clock wise until mark (1) points to mark (2).
- Now try again to close the oil tank. If the oil tank still cannot be closed properly:
- Do not use your pole pruner and contact a STIHL dealer for assistance. The pole pruner is not in a safe condition.
Removing and Fitting the Battery
Inserting the Battery

Insert the battery (1) up to the limit stop into the battery compartment (2). The battery (1) engages with a click and is now locked.
Removing the Battery
- Place the pole pruner on a level surface.
- Keep one hand in front of the battery compartment so that the battery (2) cannot fall out.

- Press both locking levers (1). The battery (2) is released and can be removed.
Switching Pole Pruning On and Off
Switching on the Pole Pruner
- Hold the pole pruner with one hand by the control handle wrap your thumb around the control handle.
- Hold the pole pruner firmly with your other hand by the handle hose – wrap your thumb around the handle hose.

- Push the release slide (1) in the direction of the saw chain with your thumb and hold it there.
- Press the trigger (2) with your index finger and keep depressed.
The motor is accelerated and the saw chain rotates. The release slide can be released (1).
If the ergo lever (3) is pressed, the trigger switch (2) remains unlocked. This means the trigger can be released and depressed again without having to push the release slide in the direction of the saw chain once more.
If the trigger (2) and the Ergo lever (3) are released, the trigger (3) is locked. The release slide (1) must be pushed towards the saw chain again and held to unlock the trigger (2).
Switching the Pole Pruner Off
- Release the trigger and the Ergo lever.
- Wait until the saw chain comes to a complete standstill after about 1 second.
- If the saw chain continues to run after about 1 second:
- Remove the battery and contact your STIHL dealer for assistance.
- The pole pruner has a malfunction.
Checking Pole Pruner and Battery
Checking the Chain Sprocket
- Switch off the pole pruner and remove the battery.
- Remove the chain sprocket cover.
- Remove the guide bar and saw chain.

- Use a STIHL gauge to check the wear marks on the chain sprocket.
- If the wear marks are deeper than a = 0.5 mm: Do not use your pole pruner and contact your STIHL dealer for assistance. The chain sprocket must be replaced.
Checking the Guide Bar
- Switch off the pole pruner and remove the battery.
- Remove the saw chain and guide bar.

- Measure the depth of the guide bar with the scale on a STIHL filing gauge.
- Install a new guide bar if one of the following points applies:
- The guide bar is damaged.
- The measured guide bar groove depth is less than specified minimum depth, 20.3.
- The guide bar groove is pinched or splayed.
- If you have any doubts, be sure to consult a STIHL dealer.
Checking the Saw Chain
- Switch off the pole pruner and remove the battery.

- Measure the height of the depth limiters (1) with a STIHL filing gauge (2). The STIHL filing gauge must match the pitch of the saw chain.
- If a depth gauge (1) projects from the filing gauge (2): Lower the depth gauge (1) with a file, 17.2.

- Make sure the service marks (1 to 4) on the cutters are visible.
- If one of the service marks is not visible on a cutter: Do not use your saw chain and contact your STIHL dealer for assistance.
- Use a STIHL filing gauge to check that the filing angle is 30° on all cutters. The STIHL filing gauge must match the pitch of the saw chain.
- If the filing angle of 30° has not been maintained: Resharpen the saw chain.
- If you have any doubts, be sure to consult a STIHL dealer.
Checking the controls
Release slide, Ergo lever and trigger
- Remove the battery.
- Try squeezing the trigger switch without activating the release slide.
- If the trigger can be pulled: Do not use your pole pruner and contact your STIHL dealer for assistance.
- The release slide is faulty. Push the release slide with your thumb in the direction of the saw chain and hold it there.
- Press and hold Ergo lever. Press the trigger. The release slide can be released.
- Release the trigger and Ergo lever. If the release slide, trigger or the Ergo lever is stiff or does not spring back to the idle position:
- Do not use the pole pruner and contact your STIHL dealer for assistance.
- The release slide, trigger or the Ergo lever is defective.
Switching on the Pole Pruner
- Insert battery.
- Push the release slide towards the saw chain and hold in place.
- Press and hold the trigger. The saw chain runs.
- If 3 LEDs flash red: Remove the battery and consult a STIHL dealer. There is a malfunction in the pole pruner.
- Release the trigger.
- The saw chain stops running after about 1 second.
- If the saw chain continues to run after about 1 second: Remove the battery and contact your STIHL dealer for assistance. The pole pruner has a malfunction.
Checking Chain Lubrication
- Fit the battery.
- Hold the guide bar over a light surface.
- Switch on the pole pruner.
- Chain oil is thrown off the chain and is visible on the light surface.
- Chain lubrication is operating properly.
If no chain oil can be seen:
- Fill up with chain oil.
- Check chain lubrication again.
- If chain oil is still not visible on the light surface: Do not use your pole pruner and con- tact your STIHL servicing dealer for assistance. Chain lubrication is defective.
Testing the Battery
- Press button on battery. The LEDs glow or flash.
- If the LEDs do not glow or flash: Do not use the battery and contact your STIHL servicing dealer.
There is a malfunction in the battery.
Using the Pole Pruner
Adjusting the shaft length (HTA 86)
The shaft can be adjusted to different lengths to suit the application as well as the user’s height and reach.
- Switch off the pole pruner and remove the battery.

- Maintain an angle of no more than 45° to the horizontal.
- Turn the clamp nut (1) a half-rotation towards .
- Adjust the shaft (2) to the required length. Turn the clamp nut (1) in direction as far as it will go.
- Check that the shaft (2) cannot be shifted any more ant that the clamp nut (1) is twisted tight in direction as far as it will go.
The shaft length is properly adjusted if the shaft (2) cannot be pushed in or pulled out and the clamping unit is screwed tight, as far as it will go, in direction of .
Fitting and Adjusting the Shoulder Strap

- Put on the shoulder strap (1).
- Adjust the shoulder strap (1) so that the carabiner (2) is about a hand’s width below your right hip.
Other approved carrying systems are listed in this User Manual, 22.1.
Holding and Controlling the Pole Pruner

- Connect the carrying ring (2) to the carabiner (1).

- Hold the pole pruner with one hand by the control handle wrap your thumb around the control handle.
- Hold the pole pruner firmly with your other hand by the handle hose – wrap your thumb around the handle hose.
Delimbing
Cross-cut
- Position the limit stop (1) against the branch. The saw chain can be positioned precisely using the gauge bar.
- With the chain running at full speed, press the guide bar downward against the limb with a leveraging movement.
- Cut through the limb with the bottom of the guide bar.

- If the limb is under tension: Make the relieving cut (1) into the compression side and then per- form the bucking cut (2) from the tension side.
Cutting thick branches

- Perform a relieving cut (2) at cutting point (2) at a distance a = 20 cm from the final cross cut (1).
- Perform a relieving cut and then a cross-cut at the desired cutting point (1).
After Finishing Work
When Work is Finished
- Switch off the pole pruner and remove the battery.
- If the pole pruner is wet: Allow the pole pruner to dry.
- If the battery is wet: Allow the battery to dry.
- Clean the pole pruner.
- Clean the guide bar and saw chain.
- Loosen the nut on the chain sprocket cover.
- Back off the tensioning screw 2 turns counter clockwise.
- The saw chain is now slack. Tighten down the nut on the chain sprocket cover. Fit the chain scabbard so that it completely covers the guide bar. Clean the battery.
Transporting
Transporting the Pole Pruner
- Switch off the pole pruner and remove the battery.
- Fit the chain scabbard so that it completely covers the guide bar.
- Push in shaft completely (HTA 86).
Carrying the pole pruner
- Carry the pole pruner in one hand by the shaft with the guide bar behind you.
- Transporting the pole pruner in the car Secure the pole pruner to prevent turnover and movement.
Transporting the Battery
- Switch off the pole pruner and remove the battery.
- Check that the battery is in a safe condition.
- Pack the battery so that it cannot move in the packaging.
- Secure the packaging so that it cannot move.
The battery is subject to the Carriage of Dangerous Goods regulations. The battery is classified as UN 3480 (lithium ion batteries) and has been tested pursuant to UN Manual Tests and Criteria Part III, Subsection 38.3.
The transport regulations can be found at www.stihl.com/safety-data-sheets.
Storing
Storing the Pole Pruner
- Switch off the pole pruner and remove the battery.
- Fit the chain scabbard so that it completely covers the guide bar.
- Check the following points when storing the pole pruner:
- The pole pruner is out of the reach of children.
- The pole pruner is clean and dry.
- If you store the pole pruner for more than 30 days:
- Remove the guide bar and saw chain.
Storing the Battery
STIHL recommends keeping the battery in a charging state between 40% and 60 % (2 green LEDs lit).
- The battery should be stored in such a way that the following conditions are fulfilled:
- The battery is out of the reach of children.
- The battery is clean and dry.
- The battery is in an enclosed space.
- Battery is separated from the pole pruner.
- If the battery is stored in the charger, disconnect the mains plug and store the battery at a state of charge between 40% and 60% (2 lit green LEDs).
- The battery is in a temperature range between – 10 °C and + 50 °C.
NOTICE
- If the battery is not stored as described in this User Manual, the battery may become deeply discharged and irreparably damaged.
- Charge a discharged battery before storing it. STIHL recommends keeping the battery in a charging state between 40% and 60% (2 lit green LEDs).
- Store the battery separately from the pole pruner.
Cleaning
Cleaning the Pole Pruner
- Switch off the pole pruner and remove the battery.
- Clean the pole pruner with a damp cloth or STIHL resin solvent.
- Clean vents with a paintbrush.
- Remove foreign objects from the battery compartment and clean the battery compartment with a damp cloth
- Clean the electrical contacts in the battery compartment with a paintbrush or soft brush.
- Remove the chain sprocket cover.
- Clean the area around the chain sprocket with a damp cloth or STIHL resin solvent. Fit the chain sprocket cover.
Cleaning the Guide Bar and Saw Chain
- Switch off the pole pruner and remove the battery.
- Remove the guide bar and saw chain.

- Clean the oil port (1), oil inlet hole (2) and bar groove (3) with a soft brush or STIHL resin solvent.
- Clean the saw chain with a soft brush or STIHL resin solvent.
- Mount the guide bar and saw chain.
Cleaning the Battery
Clean the battery with a damp cloth.
Maintenance
Deburring the Guide Bar
A burr can build up on the outer edge of the guide bar. Remove burr with a flat file or a STIHL guide bar dressing tool. If you have any queries: Contact your STIHL servicing dealer.
Correctly sharpening saw chains requires a lot of practice.
STIHL files, STIHL filing aids, STIHL sharpeners and the brochure “Sharpening STIHL Saw Chains” help you achieve the right results. To obtain the brochure visit http://www.stihl.com/sharpening-brochure.
STIHL recommends you have saw chains rehappened by a STIHL servicing dealer.
WARNING
- The chain’s cutters are very sharp. There is a risk of cut injuries.
- Wear work gloves made of durable material.

- File each cutter with a round file so that the following points are observed:
- Round file matches the chain pitch.
- File from the inside to the outside of the cutter.
- Hold the file at right angle to the guide bar.
- Maintain a filing angle of 30°.

- File down the depth gauges with a flat file so that they are level with the STIHL filing gauge and parallel to the service mark. The STIHL filing gauge must match the chain pitch.
- If you have any queries: Contact your STIHL servicing dealer for assistance.
Repairing
Repairing the Pole Pruner and Battery
The pole pruner, guide bar, saw chain and battery cannot be repaired by the user.
- If the pole pruner, guide bar or saw chain are damaged: Do not use your pole pruner and contact your STIHL servicing dealer for assistance.
- If the battery has a malfunction or is damaged: Replace the battery.
Troubleshooting
Troubleshooting the Pole Pruner or Battery
Fault LEDs on the battery Pole pruner cuts out during opera‐ tion.3 LEDs light up red. Run time of pole pruner is too short. Smell of smoke or burning in the cutting area. STIHL connected app is unable to find the battery with .
| Fault | LEDs on the battery | Cause | Remedy |
| Pole pruner does not run when switched on. | 1 LED flashing green. | State of charge of the battery is too low. | Charge battery as described in the User Manual for chargers STIHL AL 101, 301, 301-4, 500. |
| 1 LED emits red light. | The battery is too warm or too cold. |
| |
| 3 LEDs flash red. | There is a malfunction in the pole pruner. |
| |
| 3 LEDs light up red. | The pole pruner is too hot. |
| |
| 4 LEDs flashing red. | There is a fault in the battery. |
| |
| Cause | Remedy | ||
| |||
| No electrical contact between pole pruner and battery. |
| ||
| Pole pruner or battery damp. | Allow pole pruner or battery to dry. | ||
| The pole pruner is too hot. | Remove the battery. Allow the pole pruner to cool down. | ||
| There is an electrical fault. |
| ||
| The battery is not fully charged. | Fully charge battery as described in the User Manual for the STIHL AL 101, 301, 301-4, 500 chargers. | ||
| The battery service life has been exceeded. | Replace battery. | ||
| The saw chain has not been correctly sharpened. | Sharpen chain as specified. | ||
| Insufficient saw chain oil in the oil tank. | Fill up with saw chain oil. | ||
| The chain lubrication system is supplying insufficient saw chain oil. | Do not use your pole pruner and contact your STIHL servicing dealer for assistance. | ||
| The saw chain is over-tensioned. | Tension the saw chain as specified. | ||
| The pole pruner is not being used correctly. | Have correct use explained, then practice. | ||
| Bluetooth® radio inter‐ face on the battery or mobile device is deactivated. | Activate Bluetooth® radio interface on the battery or mobile device. | ||
| Distance between battery and mobile device is too long. | Reduce distance, 20.4. If the battery still cannot be found with the STIHL connected app: Contact a STIHL authorized dealer for assistance. |
Product Support and Assistance on Use
Product support and assistance on use are avail- able from STIHL servicing dealers.
For contacts and other information, please visit https://support.stihl.com or www.stihl.com.
Specifications
STIHL HTA 66, HTA 86 Pole Pruners
HTA 66
- Permitted batteries:
- STIHL AP
- STIHL AR
- Weight without battery: 3.3 kg
- Max. oil tank capacity: 105 cc (0.105 l)
- Degree of electrical protection: IPX4 (protection against splash water from any direction)
HTA 86
- Permitted batteries:
- STIHL AP
- STIHL AR
- Weight without battery: 4.6 kg
- Max. oil tank capacity: 105 cc (0.105 l)
- Degree of electrical protection: IPX4 (protection against splash water from any direction)
For runtime, see www.stihl.com/battery-life.
Chain Sprockets
The following chain sprockets may be used: 6-tooth for
- 1/4″ P
Minimum groove depth of guide bars
The minimum groove depth depends on the pitch of the guide bar. 1/4″ P 4 mm
STIHL AP battery
- Battery technology: lithium-ion
- Voltage: 36 V
- Capacity in Ah: see rating label
- Energy content in Wh: see rating label
- Weight in kg: see rating label
- Permissible temperature range for operation and storage: + 10 °C to + 50 °C
- Bluetooth® radio interface (only for batteries with ):
- Data connection: Bluetooth® 5.1. The mobile appliance must be compatible with Bluetooth® Low Energy 5.0 and support Generic Access Profile (GAP).
- Frequency band: ISM band 2.4 GHz
- Maximum RF power transmitted: 1 mW Signal range: approx. 10 m. The signal strength depends on the ambient conditions and the mobile terminal.
- Signal range can vary greatly depending on local conditions, including the receiver. The range may be perceptibly reduced inside enclosed rooms and through metal barriers (such as walls, shelves or cases).
- Mobile appliance operating system requirements: Android or iOS (current version or higher)
Sound Values and Vibration Values
K-value (uncertainty) for sound pressure levels is 2 dB(A). K-value for sound power levels is 2 dB(A). The K-value for vibration levels is 2 m/s².
STIHL recommends wearing ear defenders.
- Sound pressure level LpA measured according to ISO 22868: 78 dB(A)
- Sound power level LwA measured according to ISO 22868: 93 dB(A)
Shaft fully compressed:
- Vibration level ahv measured according to ISO 22867
- Control handle: 1.0 m/s²
- Handle hose: 1.0 m/s²
Shaft fully extended:
- Vibration level ahv measured according to ISO 22867
- Control handle: 1.0 m/s²
- Handle hose: 1.0 m/s²
The vibration levels indicated were measured according to a standardized test method and can be used as a basis for comparing electric power tools. The vibration levels actually occurring may vary from the values indicated, depending on the type of application. The vibration levels indicated can be used for an initial estimate of the vibration stress. The actual vibration stress has to be estimated. The times when the power tool is switched off and the times when it is switched on but running under no load can be taken into account in the estimate.
For information on compliance with Employers’ Vibration Directive 2002/44/EC see www.stihl.com/vib.
REACH
REACH is an EC regulation and stands for the Registration, Evaluation, Authorization and Restriction of Chemical substances.
For information on compliance with the REACH regulation see www.stihl.com/reach.
Bar and Chain Combinations
STIHL HTA 66, HTA 86 Pole Pruners
HTA 66
| Pitch | Drive link gauge/groove width | Length | Guide bar | Number of teeth, spro‐ cket nose | Number of drive links | Saw chain |
| 1/4″ P | 1.1 mm | 25 cm | Dolomitic E Mini | 8 | 56 | 71 PM3 (type 3670) |
HTA 86
| Pitch | Drive link gauge/groove width | Length | Guide bar | Number of teeth, sprocket nose | Number of drive links | Saw chain |
| 1/4″ P | 1.1 mm | 25 cm | Rollomatic E Mini | 8 | 56 | 71 PM3 (type 3670) |
| 30 cm | Rollomatic E Mini | 64 | ||||
| The cutting length of a guide bar depends on the pole pruner being used and the saw chain that is mounted. The actual cutting length of a guide bar may be less than the specified length. | ||||||
Combinations of Carrying Systems
The pole pruner may only be used in combination with a carrying system. Approved carrying systems are listed in this User Manual:
- Shoulder strap
- Full harness
- Battery belt with attached “AP belt bag with connecting cable” together with the shoulder strap
- Battery belt with strap and attached “AP belt bag with connecting cable” together with the support cushion
- STIHL AR battery together with the support cushion
- Carrying system with built-in “AP belt bag with connecting cable” together with the support cushion
- RTS backpack carrying system
Spare Parts and Accessories
These symbols indicate original STIHL spare parts and original STIHL accessories.
STIHL recommends the use of original STIHL spare parts and accessories.
Despite ongoing market observation, STIHL is unable to judge the reliability, safety and suitability of other manufacturers’ spare parts and accessories; accordingly, STIHL cannot warrant for the use of those parts.
Original STIHL spare parts and original STIHL accessories are available from STIHL dealers.
Disposal
Disposing of Pole Pruner and Battery
Contact the local authorities or your STIHL dealer for information on disposal.
Improper disposal can be harmful to health and pollute the environment.
- Take STIHL products including packaging to a suitable collection point for recycling in accordance with local regulations.
- Do not dispose with domestic waste.
EC Declaration of Conformity
STIHL HTA 66, HTA 86 Pole Pruners
ANDREAS STIHL AG & Co. KG Badstraße 115
D-71336 Waiblingen
Germany
declare under our sole responsibility that
- Category: Cordless pole pruner
- Manufacturer’s brand: STIHL
- Model: HTA 66, HTA 86
- Serial number: LA03
conforms to the relevant provisions of Directives 2011/65/EU, 2006/42/EC, and 2014/30/EU and has been developed and manufactured in compliance with the following standards in the versions valid on the date of production: EN 55014-1, EN 55014-2, EN 62841-1, taking account of EN ISO 11680-1 and EN 62841-4-1.
The EC type examination test was carried out pursuant to Directive 2006/42/EC, Art. 12.3(b) at: VDE Prüf- u. Zertifizierungsinstitut (NB 0366), Merianstraße 28, 63069 Offenbach, Germany
- HTA 66, HTA 86 certification number:40051683
The technical documents are stored at ANDREAS STIHL AG & Co. KG Produktzulas‐sung.
The year of manufacture, country of manufacture and serial number are indicated on the pole pruner.
Done at Waiblingen, 03.08.2020 ANDREAS STIHL AG & Co. KG
pp
Dr. Jürgen Hoffmann, Director Product Certification & Regulatory Affairs
UKCA Declaration of Conformity
STIHL HTA 66, HTA 86 Pole Pruners
ANDREAS STIHL AG & Co. KG Badstraße 115
D-71336 Waiblingen
Germany
declare under our sole responsibility that
- Category: Cordless pole pruner
- Manufacturer’s brand: STIHL
- Model: HTA 66, HTA 86
- Serial number: LA03
complies with the relevant provisions of the UK regulations The Restriction of the Use of Certain Hazardous Substances in Electrical and Electronic Equipment Regulations 2012, Supply of Machinery (Safety) Regulations 2008 and Electromagnetic Compatibility Regulations 2016 and has been developed and manufactured in accordance with the versions of the following standards valid on the date of manufacture: EN 55014-1, EN 55014-2, and EN 62841‑1 taking into account standards EN ISO 11680‑1 and EN 62841‑4‑1.
The type examination was carried out by: Intertek Testing & Certification Ltd, Academy Place, 1-9 Brook Street, Brentwood, Essex, CM14 5NQ, United Kingdom
- HTA 66 and HTA 86 certification number: ITS UK MCR 42
The technical documents are stored at ANDREAS STIHL AG & Co. KG.
The year of manufacture, country of manufacture and serial number are indicated on the pole pruner.
Waiblingen, 31.03.2022
ANDREAS STIHL AG & Co. KG
pp
Dr. Jürgen Hoffmann, Director Product Certification & Regulatory Affairs
General Power Tool Safety Warranty
Introduction
This chapter reproduces the pre-formulated, general safety precautions specified in the IEC 62841 standard for hand-held motor-operated electric tools.
STIHL is obliged to publish these texts.
The safety precautions and warnings on avoiding an electric shock given under “Electrical Safety” do not apply to STIHL cordless products.
WARNING
- Read all safety warnings, instructions, illustrations and specifications provided with this power tool. Failure to follow all instructions lis‐ted below may result in electric shock, fire and/or serious injury. Save all warnings and instructions for future reference.
The term “electric power tool” in the safety warnings refers to mains-operated (corded) power tools or battery-operated (cordless) power tools.
Work area safety
- Keep work area clean and well lit. Cluttered or dark areas invite accidents.
- Do not operate power tools in explosive atmospheres, such as in the presence of flammable liquids, gases or dust. Power tools create sparks which may ignite the dust or fumes.
- Keep children and bystanders away while operating a power tool. Distractions can cause you to lose control.
Electrical safety
- Power tool plugs must match the outlet. Never modify the plug in any way. Do not use any adapter plugs with earthed (grounded) power tools. Unmodified plugs and matching outlets will reduce risk of electric shock.
- Avoid body contact with earthed or grounded surfaces, such as pipes, radiators, ranges and refrigerators. There is an increased risk of electric shock if your body is earthed or grounded.
- Do not expose power tools to rain or wet conditions. Water entering a power tool will increase the risk of electric shock.
- Do not abuse the cord. Never use the cord for carrying, pulling or unplugging the power tool. Keep cord away from heat, oil, sharp edges or moving parts. Damaged or entangled cords increase the risk of electric shock.
- When operating a power tool outdoors, use an extension cord suitable for outdoor use. Use of a cord suitable for outdoor use reduces the risk of electric shock.
- If operating a power tool in a damp location is unavoidable, use a residual current device (RCD) protected supply. Use of an RCD reduces the risk of electric shock.
Personal safety
- Stay alert, watch what you are doing and use common sense when operating a power tool. Do not use a power tool while you are tired or under the influence of drugs, alcohol or medication. A moment of inattention while operating power tools may result in serious personal injury.
- Use personal protective equipment. Always wear eye protection. Protective equipment such as a dust mask, non-skid safety shoes, hard hat or hearing protection used for appropriate conditions will reduce personal injuries.
- Prevent unintentional starting. Ensure the switch is in the off-position before connecting to power source and/or battery pack, picking up or carrying the tool. Carrying power tools with your finger on the switch or energizing power tools that have the switch on invites accidents.
- Remove any adjusting key or wrench before turning the power tool on. A wrench or a key left attached to a rotating part of the power tool may result in personal injury.
- Do not overreach. Keep proper footing and balance at all times. This enables better control of the power tool in unexpected situations.
- Dress properly. Do not wear loose clothing or jewelry. Keep your hair and clothing away from moving parts. Loose clothes, jewelry or long hair can be caught in moving parts.
- If devices are provided for the connection of dust extraction and collection facilities, ensure these are connected and properly used. Use of dust collection can reduce dust-related hazards.
- Do not let familiarity gained from frequent use of tools allow you to become complacent and ignore tool safety principles. A careless action can cause severe injury within a fraction of a second.
Power tool use and care
- Do not force the power tool. Use the correct power tool for your application. The correct power tool will do the job better and safer at the rate for which it was designed.
- Do not use the power tool if the switch does not turn it on and off. Any power tool that cannot be controlled with the switch is dangerous and must be repaired.
- Disconnect the plug from the power source and/or remove the battery pack, if detachable, from the power tool before making any adjustments, changing accessories, or storing power tools. Such preventive safety measures reduce the risk of starting the power tool accidentally.
- Store idle power tools out of the reach of children and do not allow persons unfamiliar with the power tool or these instructions to operate the power tool. Power tools are dangerous in the hands of untrained users.
- Maintain power tools and accessories. Check for misalignment or binding of moving parts, breakage of parts and any other condition that may affect the power tool’s operation. If damaged, have the power tool repaired before use. Many accidents are caused by poorly maintained power tools.
- Keep cutting tools sharp and clean. Properly maintained cutting tools with sharp cutting edges are less likely to bind and are easier to control.
- Use the power tool, accessories and tool bits etc. in accordance with these instructions, taking into account the working conditions and the work to be performed. Use of the power tool for operations different from those intended could result in a hazardous situation.
- Keep handles and grasping surfaces dry, clean and free from oil and grease. Slippery handles and grasping surfaces do not allow for safe handling and control of the tool in unexpected situations.
Battery tool use and care
- Recharge only with the charger specified by the manufacturer. A charger that is suitable for one type of battery pack may create a risk of fire when used with another battery pack.
- Use power tools only with specifically designated battery packs. Use of any other battery packs may create a risk of injury and fire.
- When battery pack is not in use, keep it away from other metal objects, like paper clips, coins, keys, nails, screws or other small metal objects, that can make a connection from one terminal to another. Shorting the battery terminals together may cause burns or a fire.
- Under abusive conditions, liquid may be ejected from the battery; avoid contact. If contact accidentally occurs, flush with water. If liquid contacts eyes, additionally seek medical help. Liquid ejected from the battery may cause irritation or burns.
- Do not use a battery pack or tool that is dam‐aged or modified. Damaged or modified batteries may exhibit unpredictable behavior resulting in fire, explosion or risk of injury.
- Do not expose a battery pack or tool to fire or excessive temperature. Exposure to fire or temperature above 130 °C may cause explosion.
- Follow all charging instructions and do not charge the battery pack or tool outside the temperature range specified in the instructions. Charging improperly or at temperatures outside the specified range may dam‐age the battery and increase the risk of fire.
Service
- Have your power tool serviced by a qualified repair person using only identical replacement parts. This will ensure that the safety of the power tool is maintained.
- Never service damaged battery packs. Service of battery packs should only be per‐formed by the manufacturer or authorized service providers.
References
Hilfe und Beratung zu E-Commerce und STIHL Produkten | STIHL Support
STIHL Connect
Country Routing Page: Welcome to STIHL | STIHL
Country Routing Page: Welcome to STIHL | STIHL
STIHL - Working times per battery charge | STIHL
Battery charging times
REACH Regulation: Available in different languages | STIHL | STIHL
Safety Data Sheets and Battery Documents of the STIHL products | STIHL | STIHL
Brochure: Sharpening a STIHL saw chain | STIHL
Information on Physical Agents Directive Vibration | STIHL | STIHL
Hilfe und Beratung zu E-Commerce und STIHL Produkten | STIHL Support
Country Routing Page: Welcome to STIHL | STIHL

























