KUZCO MP75221 Ceiling LED Multi Pendants

START FROM HERE
- Make sure POWER is COMPLETELY OFF at the fuse box
- Have your fixture installed by a qualified licensed electrician
- Prepare everything in a clear area
- Wear gloves at all times during this installation
- Read instructions carefully before you start assembly
- Keep this installation sheet for future reference
Please Note:
- This Kuzco LED fixture comes with pre-wired LED module(s)
- Unless instructed, Do Not touch any part of the LED module(s) as any unnecessary contact with the module could cause permanent damage
- For dimming, an ELV (Electronic Low Voltage) or TRIAC type of dimmer is required
- 120V input
FEATURE
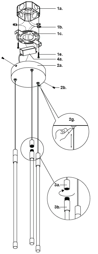
- Remove fixture from its original package
- Separate mounting plate (1c) from canopy (2a) by removing canopy screws (2b)
- Attach mounting plate (1c) to electrical junction box (1a) using junction box screws provided (1e) in hardware package
- To change fixture height, push and hold wire gripper (2g), slide wire to desired length and then release wire gripper (2g) to secure
- Make proper electrical connections (black to hot “L”, white to neutral “N”, ground to “GND”) with wire nuts (1b) provided in hardware package and place driver (4a) inside canopy (2a)
- Attach canopy (2a) to mounting plate (1c) with canopy screws (2b)
- Secure pendant tube (3b) to pendant holder (3a) by threading clockwise
19054 28th Avenue Surrey, BC Canada V3Z 6M3
T: 604 538 7162 TF: 1-855 85 KUZCO F: 604 538 7196
W: kuzcolighting.com





















