
Installation Guide
Tempest, Tidal I, Tidal II Recirculating Kit
ZRC-7000C ZRC-7036C ZRC-7042C ZRC-7048C

JAN21.0201 © Zephyr Ventilation LLC.
READ AND SAVE THESE INSTRUCTIONS
List of Materials
PARTS SUPPLIED
1 – Air diverter box
2 – Carbon filter cartidges (3 – ZRC-7048C)
2 – Carbon filter adapters (3 – ZRC-7048C)
1 – Hardware package
HARDWARE PACKAGE CONTENTS

PARTS NOT SUPPLIED
– Ducting, conduit and all installation tools
– Cable connector (if required by local codes)
REPLACEMENT PARTS
| DESCRIPTION | PART# |
| Replacement Parts | |
| Charcoal Filter (each) | Z0F-C002 |
To order parts, visit us online at http://store.zephyronline.com or call us at 1.888.880.8368
Installation Specifications



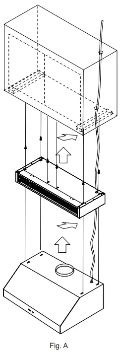
Installation Mounting the Diverter Box
Mounting the air diverter box
FOR USE WITH AK7000CS, AK7300AS, AK7400AS, AK7500CS, AK7036CS, AK7336AS, AK7436AS AK7536CS, AK7042CS, AK7542CS, AK7048CS, AK7448AS, and AK7548CS ONLY
FOR USE WITH SINGLE INTERNAL BLOWER ONLY
NOT COMPATIBLE WITH DUAL INTERNAL BLOWER
- Position the air diverter box under a cabinet. Mark the (4 for 30 & 36″ models, 6 for 42″ & 48″ models) key-holes for the #6 x 1″ screws and electrical knock out opening with a pencil. Remove air diverter box and install the (4 or 6) #6 x 1″ screws. Do not tighten screws all the way. Drill out the electrical knock-out opening. Note: Reinforce cabinet with 1″ x 2″ wood strips if additional strengthening is required or if cabinets are framed.
- Lift the air diverter box and align the holes on top of the air diverter box with the screws recently installed. Slide the air diverter box towards the wall to temporarily lock in place. Hand tightens the (4 or 6) screws. (Fig. A)
- Lift range hood and align the key-holes on top of the hood with the screws protruding from the bottom of the air diverter box. Slide hood towards the wall to temporarily lock in place. Hand tightens the (4) screws. (Fig. A) Note: Electrical wiring will pass through the cabinet bottom, air diverter box, and connect to the hood wiring. See Tempest I instruction manual for more details.
- Further secure the hood to the air diverter box by fastening M4 x 8 screws and 3/16 x 3/8″ screws to each of the (8) holes on the bottom of the air diverter box. You can gain access to the screw holes from within the hood. The holes on top of the Tempest I will align with the holes on the bottom of the air diverter box. (Fig. B)
![]() | ![]() |
Installation Charcoal Filters and Brackets
Mounting the Bracket and Baffle Filter
- Insert the charcoal filter bracket into the backside of the baffle
filter (side without handles). The (2) tabs on the bottom of the bracket should be inserted into the baffle filter first. Push the bracket towards the baffle filter to lock the bracket in place. There is a clip-on top of the bracket that will secure it to the baffle filter. (Fig. C) Repeat this step for each bracket. 
Mounting the Bracket and Charcoal Filter
- First, insert the tab cut out on the charcoal filter onto
either side of the tab insert on the bracket, then clip the self-locking tabs onto the bracket. 2. Insert the charcoal filter into the bracket. Tab cut-out side of the charcoal filter should be installed first then push down on the filter to lock in place. (Fig. D)























