
STIHL THE 355
Instruction manual
0478 201 8314 C. E20

GHE 355 Electric Garden Shredder
Dear Customer, Thank you for choosing STIHL. We develop and manufacture our quality products to meet our customers’ requirements. The products are designed for reliability even under extreme conditions.

Notes on the instruction manual
2.1 General
This instruction manual constitutes the original manufacturer’s instructions in the sense of EC Directive 2006/42/EC. STIHL is continually striving to further develop its range of products; we, therefore, reserve the right to make alterations to the form, technical specifications, and equipment level of our standard equipment. For this reason, the information and illustrations in this manual are subject to alterations. This instruction manual may describe models that are not available in all countries
This instruction manual is protected by copyright. All rights reserved, especially the right of reproduction, translation, and processing using electronic systems.
2.2 Instructions for reading the instruction manual Illustrations and texts describe specific operating steps.
All symbols which are affixed to the Machine are explained in this instruction manual.
Viewing direction: Viewing direction when left and right are used in the instruction manual: the user is standing behind the machine (working position).
Section reference: References to relevant sections and subsections for further descriptions are made using arrows. The following example shows a reference to a section: ( > 4) Designation of text passages: The instructions described can be identified as in the following examples. Operating steps that require intervention on the part of the user:
« Release screw (1) using a screwdriver. operate lever (2)…
General lists: – Use of the product for sporting or competitive events Texts with added significance: Text passages with added significance are identified using the symbols described below in order to especially emphasize them in the instruction manual:
Danger
Risk of accident and severe injury to persons. A certain type of behavior is necessary or must be avoided.
Warning
Risk of injury to persons. A certain type of behavior prevents possible or probable injuries. ;
Caution
Minor injuries or material damage can be prevented by a certain type of behavior.
Note Information for better use of the machine and in order to avoid possible operating errors. Illustrations with text passages: Operating steps relating directly to the illustration can be found immediately after the illustration, with a corresponding reference to the item numbers.
Example:
For shredding, open the discharge flap (1) upwards
Texts relating to illustrations:
Illustrations relating to use of the machine can be found in the front of this instruction manual.
The camera symbol serves to link the figures on the illustration pages with the corresponding text passages in the instruction manual.
Machine overview

1 Basic unit 2 Lower chute 3 Handle 4 Upper chute 5 Closure screws | 6 Ejection chute 7 Tubular stand 8 Wheel 9 Switch 10 Cable with mains plug 11 Rating plate |
For your safety
4.1 General
These safety regulations must be observed when working with the machine.
Read the entire instruction manual before using the machine for the first time. Keep the instruction manual in a safe place for future reference.
These safety precautions are essential for your safety, however, the list is not exhaustive. Always use the machine in a reasonable and responsible manner and be aware that the user is responsible for accidents involving third parties or their property.
Make sure that you are familiar with the controls and use of the machine. The machine must only be used by persons who have read the instruction manual and are familiar with the operation of the machine. The user should seek expert and practical instruction prior to the initial operation. The user must receive instructions on safe use of the machine from the vendor or another expert. During this instruction, the user should be made aware that the utmost care and concentration are required for working with the machine.
Residual risks persist even if you operate this machine according to the instructions
Risk of death from suffocation! Packaging material is not a toy – the danger of suffocation! Keep packaging material away from children.
Only give or lend the machine, including any accessories, to persons who are familiar with this model and how to operate it. The instruction manual forms part of the machine and must always be provided to persons borrowing it.
Make sure that the user is physically, sensorily and mentally capable of operating the machine and working with it. If the user is physically, sensorily or mentally impaired, the machine must only be used under supervision or following instruction by a responsible person. Make sure that the user is of legal age or being trained under supervision in a profession in accordance with national regulations.
The machine must only be operated by persons who are well-rested and in good physical and mental condition. If your health is impaired, you should consult your doctor to determine whether working with the machine is possible. The machine should not be operated after the consumption of alcohol, drugs or medications which impair reactions. The machine is intended for private use. Caution – risk of accident! STIHL garden shredders are suitable for shredding branch material and plant trimmings. Their use for other purposes is not permitted and may be dangerous or result in damage to the machine. The garden shredder must not be used (incomplete list):
for any other materials (e.g. glass, metal).
– for tasks other than those described in this instruction manual.
– for the preparation of foodstuffs (e.g. crushing ice, mashing pulp).
For safety reasons, any modification to the machine, except the proper installation of accessories approved by STIHL, is forbidden and results in voiding of the warranty cover. Information regarding approved accessories can be obtained from your STIHL specialist dealer. In particular, any tampering with the machine which increases the power output or speed of the engine or motor is forbidden. It is not permitted to transport objects, animals or persons, particularly children,on the machine.
Particular care is required during use in public green spaces, parks, sports fields, along roads and in agricultural and forestry businesses
4.2 Warning — dangers caused by
electrical current
Warning: Risk of electric shock!
Particularly important for electrical safety are the power cable. mains plug, On / Off switch and electric cable. Damaged cables. connectors and plugs, or electric cables that do not conform to regulations must not be used. to prevent any risk of electric shocks.
Therefore, check the electric cable regularly for signs of damage or aging (brittleness). Only operate the machine with fully uncoiled power cable.
Extension reels must always be fully unwound before use.
Never use a damaged extension cable.
Replace defective cables with new ones and never repair extension cables. If the power cable or extension cable is damaged during operation. immediately disconnect the power cable or extension cable from the power supply. Never touch the damaged power cable or extension cable.
Never use the machine if the cables are damaged or worn. Check the power cable in particular for damage and aging. Maintenance and repair work on power cables must only be performed by specially qualified technicians.
The danger of electric shock!
Do not connect a damaged cable to the mains and only touch a damaged cable once it has been disconnected from the mains.
Only touch the cutting units (blades) when the machine is disconnected from the mains.
Always ensure that the power cables used are adequately protected by a fuse. Do not work in the rain or in a wet environment. Only use extension cables that are insulated against moisture for outdoor use which are suitable for use with the machine (10.)
Detach electric cables at the plug and socket and not by pulling on the electric cable.
Do not leave the machine unprotected in the rain. It must be noted that current fluctuations can damage the machine when it is connected to a power generator.
Only connect the machine to a power supply that is protected by means of a residual current-operated protective device with a release current of a maximum of 30 mA. Your electrician can provide further information
4.3 Clothing and equipment
Always wear sturdy footwear with high-grip soles when working. Never work barefoot or, for example, in sandals
4.5 Before operation
Observe the local regulations regarding permitted operating times for gardening power tools with combustion engines or electric motors.
Replace any illegible or damaged danger signs and warnings on the machine. Your STIHL specialist has a supply of replacement stickers and all the other spare parts.
– that the machine is in good operational condition. This means that the covers and guards must be in place and in good condition.
“Good operating condition” means that the machine is fully assembled, in particular:
4.6 Working with your machine
Never work when animals or persons, particularly children, are in a dangerous area.
Do not operate the machine in the rain or during thunderstorms, particularly when there is a risk of a lightning strike.
The risk of accidents is higher if the ground is damp due to the increased danger of slipping.
Particular caution should be exercised during work in order to prevent slipping. If possible, avoid using the machine when the ground is damp
Only work during the day or with good artificial light.
Keep the working area neat and tidy at all times. Remove tripping hazards such as stones, branches, cables etc.
The operator should not stand any higher than the level of the base of the machine.
Starting:
Place the machine in a stable and upright position prior to starting. The machine must never be operated in a horizontal position.
Exercise care when switching on the machine and observe the instructions in the section “Operating the machine”. ( 10.)
Do not stand in front of the discharge opening when starting the engine or switching on the motor. There must be no shredding material in the garden shredder when it is started or switched on.
Shredding material may be ejected and lead to injuries.
The machine must not be tilted during start-up.
Avoid switching the machine on repeatedly within a short period of time; particularly avoid “playing” with the On / Off switch. Risk of motor overheating.
Owing to the voltage fluctuations caused by this machine during the start-up, other devices connected to the same circuit may be subject to interference in the case of unfavorable power supply conditions.
In this case, appropriate steps should be taken (e.g. connection to a different circuit than the one used by the affected device, or operation of the machine using a circuit with a lower impedance)
Working:
Risk of injury!
Never place your hands or feet above, underneath or on rotating parts.
When the machine is running, never put your face or any other part of your body above the feed chute or in front of the ejection opening. Always keep you head and body away from the feed opening. Never put your hands or any other part of your body or clothing into the feed chute or ejection chute. There is a considerable risk of injury to eyes, face, fingers, hands etc. Always maintain your balance and firm footing. Do not stretch forward.
The splash guard must not be tampered with (removed, folded up, jammed into position, damaged etc.) during operation.
The operator must stand in the working area described when feeding the shredder. Stay inside the working area and outside of the ejection zone at all times during operation of the machine. ( 8.4Risk of injury: Shredding material may be ejected back up during operation. Always wear safety glasses and keep your face away from the feed opening.
Never tilt the machine when the engine or motor is running.
If the machine falls over during operation, immediately switch off the motor and disconnect the mains plug. Make sure that there is no shredding material blocking the ejection chute, as this could result in a poor shredding performance or kickbacks When feeding the garden shredder, pay particular attention to ensuring that no foreign objects such as bits of metal, stones, plastic, glass, etc. get into the shredding chamber as this could result in damage or kickbacks from the feed chute.
Remove blockages for the same reason. Kickbacks can occur when feeding the garden shredder with branch material. Wear gloves.
Beware of the cutting tool running on for several seconds before coming to a standstill. Switch off the motor, disconnect the mains plug and allow all rotating tools to reach a complete standstill
– before leaving the machine unattended
– before repositioning, lifting, carrying, tilting, pushing or pulling the machine
– before unscrewing the closure screws and opening the machine
– before transporting the machine
– before removing blockages at the cutting unit, in the feed chute or in the discharge chute
– before carrying out any work on the blade disc
– before checking or cleaning the machine or before carrying out any other work on it.
If foreign objects get into the cutting tool or if the machine makes unusual noises or vibrates in an unusual way, switch off the motor immediately and allow the machine to come to rest. Detach the mains plug, remove the feed chute and perform the following steps Check the machine, in particular, the cutting unit (blade, blade discs, blade mounting, blade fastening screw, clamping ring) for damage and have any necessary repairs carried out by a technician before starting again and working with the machine.
– Check that all parts of the cutting unit are seated securely, and retighten the screws if necessary (observe tightening torques).
– Have damaged parts replaced or repaired by a technician; the parts must be of similar quality.
4.7 Maintenance and repairs
Before carrying out any maintenance operations (cleaning, repair etc.) and before checking whether the electric cable is entwined or damaged, park the machine on firm, level ground, switch off the motor and disconnect the mains plug.
Allow the machine to cool down for approx. 5 minutes before performing any maintenance operations.
The power cable must only be repaired or replaced by authorized electricians. Before performing maintenance of the cutting tool, ensure that the cutting tool can still be turned despite the locking device, even when the power supply is switched off.
Components or guards that are removed for maintenance operations must be properly reinstalled immediately.
Cleaning: The complete machine must be cleaned thoroughly following use. (11.1)
Never use high-pressure cleaners and do not clean the machine under running water (e.g. using a garden hose).
Do not use aggressive cleaning agents.
These can damage plastics and metals, impairing the safe operation of your STIHL machine.
Maintenance operations:
Only maintenance operations described in this instruction manual may be carried out. Have all other work performed by a specialist dealer.
If you do not have the necessary expertise or auxiliary equipment, please always contact a specialist dealer. STIHL recommends that you have maintenance operations and repairs performed exclusively by a STIHL specialist dealer. STIHL specialist dealers regularly attend training courses and are provided with technical information. Only use tools, accessories or attachments approved for this machine by STIHL or technically identical parts. Otherwise, there may be a risk of accidents resulting in personal injury or damage to the machine. If you have any questions, please consult a specialist dealer.
The characteristics of original STIHL tools, accessories and spare parts are optimally adapted to the machine and the user’s requirements. Genuine STIHL spare parts can be recognized by the STIHL spare parts number, by the STIHL lettering and, if present, by the STIHL spare parts symbol. On smaller parts, only the symbol may be present.
Always keep warning and information stickers clean and readable. Damaged or missing stickers must be replaced by new, original plates from your STIHL specialist dealer. If a component is replaced with a new component, ensure that the new component is provided with the same stickers.
Only perform work on the cutting unit when wearing thick work gloves and exercising extreme care.
Ensure that all nuts, pins and screws, especially all the cutting unit screws, are securely tightened, so that the machine is in a safe operating condition. Check the entire machine for wear or damage on a regular basis, particularly before extended periods when the machine is not in use (e.g. over winter). For safety reasons, worn or damaged parts must be replaced immediately to ensure that the machine is always in a safe operating condition.
4.8 Storage for prolonged periods without operation Allow the machine to cool for approx. 5 minutes before storing it in an enclosed space.
Ensure that the machine is protected from unauthorized use (e.g. by children). Thoroughly clean the machine before storage (e.g. winter break). Store the machine in good operational condition. Only transport the garden shredder with the feed chute fitted. Risk of injury due to exposed blades
4.9 Disposal
Waste products can be harmful to people, animals and the environment. They must consequently be disposed of properly. Consult your recycling center or your specialist dealer for information on the proper disposal of waste products. STIHL recommends STIHL specialist dealers. Ensure that old machines are properly disposed of. Render the machine unusable prior to disposal. In order to prevent accidents, always remove the power cable and electric cable to the motor.
Description of symbols
Caution! Read the instruction man- ual before initial use | |
Risk of injury! Keep other persons out of the danger area | |
Risk of injury! Rotating tools. Keep hands and feet away from apertures when machine is running | |
Risk of injury! Switch off the motor and dis- connect the power cable from the machine before working on the cutting tool, before performing mainte- nance and cleaning work, before checking whether the electric cable is entwined or damaged and before leaving the machine unattended | |
Wear hearing protection. Wear safety glasses. Wear work gloves | |
Risk of injury: Do not climb onto the machine. Risk of injury: Never put your hands or any other part of your body or clothing into the feed chute or ejection chute | |
Following actuation of the preselector switch during operation, restarting is only possible after 6 seconds. |
Standard equipment

| Item | Designation | Qty. | Item | Designation | Qty. |
| A | ‘Basic | 1 | M | Discharge flap | 1 |
| unit with lower chute | 1 | N | Ejection chute extension | 1 | |
| B | Upper chute | 1 | O | Strip | 1 |
| C | Wheel axle | 1 | P | Pin | 2 |
| D | Wheel carrier | 2 | Q | TOM screw P5 x 20 | 3 |
| E | Wheel lock | 2 | R | Torx screw P5 x 10 | 2 |
| F | Bolt, M6 x 55 | 2 | S | Safety screw | 3 |
| G | Hexagon nut | 2 | T | Cable clip | 1 |
| H | Wheel | 2 | U | Installation tool | 1 |
| I | Wheel cap | 2 | Instruction manual | 1 | |
| J | Wheel plug | 2 | |||
| K | Roll pin | 2 | |||
| L | Self-tapping screw P6 x 50 | 2 |
Padded ma Me mele operation
Avoid damage to the machine.
Strictly observe all tightening torques in the following section “Preparing the machine for operation” to avoid damaging the machine
7.1 Attaching the wheel axle and wheels

Attach wheel axle (C) to wheel carrier (D) with wheel locks (E), bolts (F) and hexagon nuts (G) and tighten using assembly tool (U) (4-6 Nm).
- Push wheel (H) onto the mounted wheel axle.
- Push in wheel plug (J) and secure by driving in roll pin (K).
- Fit wheel cap (I).
- Repeat this procedure on the other side.
7.2 Installing the chassis and ejection chute
1. Install the ejection chute extension
- Place basic unit (A) onto a block of wood with a height of approx. 15-20 cm.
- Engage hooks (1) of ejection chut extension (N) into openings (2) or rear of basic unit (A) and turn the extension downwards so that the front part of the basic unit is precisely inserted in the opening of the ejection chute extension.
- Fasten screws (R) in the lugs of hooks (1) (1 – 2 Nm).
2. Attach the chassis - Push the chassis with both wheel carriers (3) as far as they will go into the guides on the basic unit (4).
- Push the bent section of the wheel carrier (5) into the recess on the ejection chute extension (6).
- Insert screws (L) through the openings in wheel carriers (7) and fasten using the installation tool (U) (3 – 4 Nm).
Install the strip
The bent section of the wheel carrier (5) must be precisely inserted in the recesses on the ejection chute extension (6).
- Position strip (0) and screw in screws (Q) (1 – 2 Nm).
- Lift the machine into the upright position.
Install the discharge flap
- Attach discharge flap (M) and press in pin (P) (use a plastic hammer if necessary). Ensure that ribs (8) inside the discharge flap on the left and right are all correctly located in the guide groove of the ejection chute extension (9).
7.3 Opening and closing the discharge flap Opening the discharge flap:
- For shredding, fold the discharge flap (1) upwards and allow tab (2) to engage in the ejection chute extension.
Closing the discharge flap:
- For transport or space-saving storage. lift tab (2) slightly and fold away discharge flap (1) downwards.
7.4 Attaching the upper chute
The chute can only be installed by a specialist dealer using special tools. STIHL recommends STIHL specialist dealers.

- Place upper chute (B) onto lower chute (1).
- Fold splash guard (2) up as shown and hold in this position.
- Screw in screws (S).
7.5 Mounting the cable clip
- Press electric cable (1) into the designated recesses in cable clip (2) as shown.
Notes on working with the machine
8.1 What material can be processed?
Both soft and hard materials can be processed with the garden shredder GHE 355.
Soft material:
Organic plant trimmings such as fruit and vegetable waste, flower cuttings, leaves, etc.
Hard material: Tree and hedge cuttings and thick branch material with side shoots.
Tree and hedge cuttings should be processed when fresh, as the shredding performance is better with fresh than with dried-out or wet material
8.2 What material cannot be processed?
Stones, glass, bits of metal (wire, nails, etc.) or plastic must not be fed into the garden shredder. As a general rule: Any materials that do not belong on the compost heap should not be processed using the garden shredder.
8.3 Maximum branch diameter
The data relates to freshly cut branch material:
Maximum branch diameter:
GHE 355: 35 mm
8.4 Working area for the operator

8.6 Display

![]() | Tree and hedge cuttings and thick branch material with side shoots. |
Organic plant trimmings such as fruit and vegetable waste, flower cuttings, leaves, etc. |
8.7 Correct machine load
The load on the motor or engine of the garden shredder must never cause the speed to drop significantly. Always feed the garden shredder continuously and steadily. If the speed drops when working with the garden shredder, stop feeding the machine in order to relieve the load on the motor or engine.
8.8 Overload protection
If an overload of the motor occurs during operation, the built-in overload protection device automatically switches off the motor.
The garden shredder can be started up again after a cooling period of approx. 10 minutes. Frequent triggering of the overload protection may be attributable to the following causes:
– Unsuitable electric cable ( 10.1)
– Power overload
– Machine overloaded due to excessive quantities of shredding material or blue blades
Safety devices
9.1 Motor restart inhibitor The machine can only be started via the switch and not by plugging the electric cable into the mains socket
9.2 Safety interlock
The motor/shredding tool may only be operated when the feed chute has been properly closed. If the right closure screw (machine viewed from the front) becomes loose during operation. the motor is switched off automatically and after a few seconds, the shredding tool comes to a standstill.
9.3 Motor run-down brake
The motor run-down brake shortens the run-down time from when the machine is switched off until the blades stop to a few seconds.
9.4 Protective covers
The garden shredder is equipped with protective covers in the feeding and ejection areas. These include the complete feed chute with the upper chute and splash guard the ejection chute extension and the discharge flap. The protective covers ensure that a safe distance is maintained from the shredding blades.
Operating the machine
risk of injury! Carefully read the section entitled “For your safety” ( =5 4.) and follow all the safety instructions before operating the garden shredder.
- Switch on the motor only as described in the operating instructions. ( c> 10.4)
10.1 Electrical connection of garden shredders
risk of injury! Observe the instructions in the “Warning — dangers caused by electrical current” section ( g’ 4.2). The power supply and operating voltage must correspond (see rating plate). The power cable must be adequately protected by a fuse in line with the respective national electrical installation regulations. ( c> 16.)
Only electric cables which are no lighter than rubber-sheathed cables H07 RN-F may be used.
The minimum cross-section of the power cable must be 3 x 1.5 mm: for a length of up to 25 m or 3 x 2.5 mm: for a length of over 25 m.
The plug connections must be splash-proof. Unsuitable extension cables lead to a loss of power and may result in damage to the motor. Extension cable plugs and connectors must conform to the standard AS/NZS 3112. Use a splash-proof coupling box (protection class IPX4) when using an extension cable.
This machine is intended for operation with a power supply having a system impedance of Z max at the transfer point (house connection) of a maximum of 0.323 ohms at 50 Hz. The user must ensure that the machine is only operated with a power supply that meets this requirement.
If necessary, this information can be obtained from the local electric power company. Your electrician can provide further information on the main connection.
10.2 Connecting the power cable
When choosing a power cable. take account of all the information in the “Electrical connection” section (4. 10.1).
- Insert the machine plug in the socket.
10.3 Disconnecting the power cable
disconnect the power cable only by pulling the connector. Never pull the cable.
If the power cable is disconnected during the operation of the garden shredder the machine can only be restarted after a delay of 12 seconds.
10.4 Switching on the garden shredder
there must be no shredding material in the machine when it is switched on as it may be expelled.
The blade disc-locking device must always be tilted back to the stop. (=> 11.6) The garden shredder cannot be switched on if the preselector switch is vertical (center position).

- Connect the power cable. (10.2)
- Press green button (1) on the switch.
The garden shredder starts up
10.5 Switching off the garden shredder
Only switch off the motor when there is no longer any shredding material in the machine. Otherwise, the blade disc may become blocked when the operation is resumed
- Press the red button (1) on the switch.
10.6 Preselector switch

- Switch on the garden shredder. ( 10.4)
The symbol for the processable shredding material currently set appears on display (1). ( Changing the setting: - Switch off the garden shredder and wait until the cutting unit has come to a standstill.
- Turn preselector switch (2) through 180°.
- Switch the garden shredder on again. ( 10.4)
The symbol for the processable shredding material currently set appears on display (1). ( 8.6)
10.7 Shredding
- Push the garden shredder onto a firm and level ground and set it down safely.
- Put on thick gloves, safety glasses, and hearing protection.
- Open the discharge flap. 7.3
- Connect the power cable.
- Switch on the garden shredder. 10.4
- Wait until the garden shredder has reached its maximum speed (idling speed).
- Check that the shredding material to be processed (hard or soft material) matches the symbol in the display. ( 8.6)
- If the display does not match, change the setting. ( 10.6)
- Feed the garden shredder with shredding material in the correct way. ( 8.5)
- Switch off the garden shredder
Maintenance

Maintenance interval: After each useClean the machine thoroughly each time it has been used. Care of the machine will protect it against damage and extend its service life.
Never spray water onto motor or engine components. seals, bearing points or electrical parts such as switches. This would result in expensive repairs.
If you are unable to remove the dirt and accumulated deposits with a brush, a damp cloth or a stick, STIHL recommends the use of a special cleaner (e.g. STIHL special cleaner).
- Remove the feed chute. (11.4
Remove dirt from the cooling air guide (inlet slots) on the motor housing to ensure that the motor is adequately cooled. Clean the cutting unit regularly
1.2 Service intervals
We recommend that you have your garden shredder serviced once a year by a specialist dealer. STIHL recommends STIHL specialist dealers
11.3 Installing the feed chute
Risk of injury! Always wear thick gloves. Before installing the feed chute, make sure that the cutting unit is not locked by the locking device.

- Attach feed chute (1) to the fastening hooks on basic unit (2) and pivot forwards.
- Screw in closure screws (3) and tighten.
Following assembly, check by visual inspection that the feed chute is correctly engaged in the fastening hooks.
11.4 Removing the feed chute
Risk of injury! Always disconnect the mains plug before removing the closure screws. Always wear thick gloves.
Unscrew and remove closure screws (1).- Pivot feed chute (2) to the rear and remove.
11.5 Blade set service intervals
Maintenance interval: Before each use
Check the blade set (consisting of blade disc, shredding blades, retaining washer, clamping ring and screw) for wear, firm seating, cracks or other damage.
11.6 Removing the blade set
Risk of injury! Always wear gloves! Do not touch the blades until they have come to a standstill.
![]()
1.Lock the blade disc
Remove the feed chute. (c 11 4)- Turn blade disc (1) to the position shown and fold locking device (2) upwards as far as it goes..
2. Detach the blade set
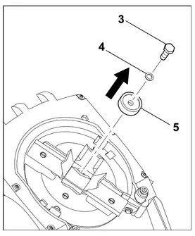
Loosen bolt (3) using assembly tool (U) and unscrew completely.- Remove bolt (3). lock washer (4) and clamping ring (5).
3. Remove the wing blades
Remove wing blade (6). wing blade (7) and wing blade (8).
4. Remove the blade disc
Fold back locking device (2).- Remove blade disc (1).
11.7 Installing the blade set
Risk of injury! Always wear gloves!![]()
Before attaching the blade set. visually check that the blade disc and all shredding blades are OK and have no notches. cracks or pieces chipped out.
Clean the blade mounting on the machine. the blade disc and the shredding blade before attaching the blade set.
The blade disc including the chipping blade and the three wing blades are equipped with a toothed blade mounting.
This prevents incorrect installation of the entire cutting unit. as the blades can only be attached to the blade mounting when in the correct position..
Fit the blade disc
Fit blade disc (1) onto the blade mounting. When doing so, pay attention to the teeth on the blade mounting.
Lock the blade set

- Turn blade disc (1) to the position shown and fold locking device (2) upwards as far as it goes. 10 Fit the wing blade The numbers (3) on the inside of the wing blades refer to their installation sequence.

- Attach wing blade (4). wing blade (5) and wing blade (6).
4. Fasten the blade set

- Attach clamping ring (7) and secure along with retaining washer (8) and bolt (9).
- Tighten bolt (9) using assembly tool (U) (45 – 50 Nm).
- Fold back the locking device (2) again.
- Install the feed chute. (c? 11.3)
11.8 Wear limits of the blades
The blades must be replaced before the specified wear limits are reached. STIHL recommends STIHL specialist dealers.
Blade overview
1 combination blade (1)
— 3 wing blades (2)
— 2 shredding blades (3)
• Remove the blade set. (* 11.6)
2. Combination blade
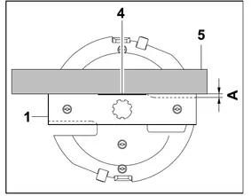
Hold a ruler (5) against the reference edge (4) of the combination blade. The distance (A) between the cutting edge and the ruler indicates the wear.
Maximum wear limit (A) for combination blade (1): A = < 5 mm
3. Wing blade
The measurement procedure and the value specified are the same for all three wing blades.
Asymmetrical wear may occur at the wing blades due to uneven use of the cutting edges.
- The blade width should be measured at two or three points along the cutting edge. Use the smallest value. Minimum blade width (B) Wing blade (2): B = > 40 mm
4Shredding blades
The measurement procedure and the value specified is the same for both shredding blades.
Asymmetrical wear may occur at , the shredding blades due to uneven use of the cutting edges.

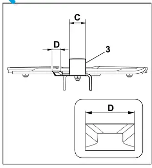
- The blade widths should be measured at two or three points along the cutting edges. Use the smallest value. Minimum blade widths (C. D) Shredding blades (3): C = > 23 mm D = > 16 mm
11.9 Sharpening shredding blades
We recommend that all shredding blades are sharpened only by a specialist dealer, as the function (drawing in of shredding material. durability of the cutting edges etc.) of the garden shredder may deteriorate if blades are ground incorrectly (wrong sharpening angle, imbalance due to unevenly ground blades etc.).
- Remove the blade set. (.* 11 6) Sharpening angle: The sharpening angle for all shredding blades is 30°
Instructions for sharpening the shredding blades: The following points must be observed when re-sharpening the shredding blades: - Cool the blades when sharpening. e.g. with water. The blade must not be allowed to display blue colouring, as this would reduce its cutting quality.
- Sharpen the blade evenly to prevent vibrations due to imbalance.
- Check blades for damage before installing: The blades must be replaced if notches or cracks are noticeable or if the blades have reached the wear limits.
- Re-sharpen the cutting edges to the specified cutting angle.
- Sharpen the blades against the cutting edge.
11.10 Electric motor and wheels
The electric motor is maintenance-free. The wheel bearings are maintenance-free.
11.11 Storage and winter break
Store the machine in a dry and locked place that is generally free of dust. Make sure that it is kept out of the reach of children.
Always store the machine in good operational condition. Keep all nuts, pins and bolts tightly fastened, replace danger signs and warnings on the machine that have become illegible, check the entire machine for wear and damage. Replace all worn or damaged parts. Any machine faults must be completely remedied prior to storage. Note the following points when storing the machine for long periods (winter break):
- Clean all external parts of the machine with care.
- Thoroughly lubricate/grease all moving parts.
Transport
Risk of injury: Before transporting. carefully read and observe the section For your safety”, in particular, the “Transporting the machine section. (`) 4.4) Only transport the garden shredder with the chute fitted. Before lifting the machine. note the weight given in the “Technical specifications” section. ( c’ 16.)
12.1 Winding up the cable

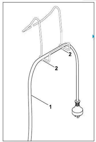
- Attach cable clip (1) at the edge of the opening (2).
- Store the rest of the electric cable on the cable clip.
12.2 Pulling or pushing the garden shredder 
- Hold the garden shredder at the upper chute (1) and tilt to the rear.
- The garden shredder can be pulled or pushed slowly (walking pace).
12.3 Lifting or carrying the garden shredder
At least two persons are always al required to lift and carry the machine. Wear suitable protective clothing: the lower arms and upper part of the body must be fully covered.
- 1st person: Hold the garden shredder at the handles on the upper chute (1).
- 2nd person: Hold the garden shredder at the strip of the ejection chute extension (2).
- Lift the garden shredder simultaneously.
12.4 Transporting the garden shredder on a load floor
- Secure the machine against slipping using suitable fastening materials. Attach ropes or straps to wheel carrier (1) or feed chute (2
Minimizing wear and preventing damage
- Wearing parts Some parts of the STIHL machine are subject to normal wear even when used properly and must be replaced in due time depending on type and duration of use.
These include: – Blade – Blade discs - Compliance with the information in this instruction manual The STIHL machine must be used, maintained and stored with the care described in this instruction manual. Any damage caused by non-compliance with the safety, operating and maintenance instructions is the sole responsibility of the
— Incorrect electrical connection (voltage)
— Product modifications not approved by STIHL
— Use of tools or accessories which are not approved or suitable for the machine, or are of inferior quality
— Improper use of the product
— Use of the product for sporting or competitive events
— Resultant damage due to continued use of the product with defective components.
3. Maintenance operations
All operations listed in the section “Maintenance must be performed regularly. If these maintenance operations cannot be carried out by the user. a specialist dealer must be commissioned to perform them. STIHL recommends that you have maintenance operations and repairs performed exclusively by a STIHL specialist dealer. STIHL specialist dealers regularly attend training courses and are provided with technical information. If these operations are neglected, faults may arise which are the responsibility of the user.
These include:
– Damage to the motor as a result of inadequate cleaning of the cooling air guide (inlet slots, cooling ribs. fan wheel).
— Corrosive and other resultant damage caused by incorrect storage. — Damage to the machine through the use of inferior-quality spare pads. — Damage due to untimely or inadequate maintenance or damage due to maintenance or repair work not performed in the workshops of specialist dealers.
Standard spare parts
Blade disc assembly 6011 700 5100
Combination blade 6011 702 5100
Wing blade 1 6011 702 0300
Wing blade 2 6011 702 0310
Wing blade 3 6011 702 0320
Set of shredding blades 6011 007 1000
Environmental protection
Shredding material should be composted and not disposed of in the household waste.
The machine, its packaging and its accessories are all produced from recyclable materials and must be disposed of accordingly.
By disposing of materials separately, and in an environmentally friendly manner. valuable resources can be re-used. For this reason, the machine should be disposed of for recycling at the end of its useful life.
15.1 Disposal
Render the machine is unusable prior to disposal. In particular, remove the power cable and electric cable to the motor for this purpose.
Risk of injury from the blades. Always store an old garden shredder in a safe place prior to scrapping. Make sure that the machine and the blades are kept out of the reach of children.
Technical specifications
| Serial number | 6011 |
| Motor, design | Electric motor |
| Voltage | 230 V~ |
| Power input | 2200 W |
| The main fuse* | 10A |
| Frequency | 50 Hz |
| Operating conditions | P40 |
| Protection class | 40 s load time |
| Type of protection Protection class Type of protection | 60 s idle time I Splash proof IPX4 |
In accordance with Directive 2000/14/EC:
Guaranteed sound
| power level L view | 100 dB(A) |
| Wheel diameter | 250 mm |
| Maximum branch diameter | 35 mm |
| Nominal motor speed | 2780 rpm |
In accordance with Directive 2006/42/EC:
Sound pressure level.
| at workplace L PA | 94 dB(A) |
| Uncertainty K pA | 3 dB(A) |
| Weight UW/H | 31 kg |
| Weight L/W/H | 122/50/141 |
Caution! In the case of mains fuses of less than 15 A, these may be tripped during start-up or in the case of high load operation of the machine
Troubleshooting
If necessary. contact a specialist dealer: STIHL recommends STIHL specialist dealers.
Fault: Motor not starting Possible cause: – Motor overload protection activated – No mains voltage – Electric cable/plug and plug connector or switch defective – Feed chute not properly closed – safety cut-off switch activated (safety interlock) – Blocked blade disc – Locking device is not reset Remedy: – Allow machine to cool down ( et. 8.8). (
> 10.6) – Check the power cable and fuse it (ch 10.1) – Check cable. plugs, connector and switch and replace if necessary (by electrician) it (
, 10.1) – Close feed chute properly and tighten screws (U 11.3) – Remove feed chute and remove shredder deposits from housing (important: detach power cable) (-
> 11.4) – Reset locking device ( c 11.7)
Fault: Reduced shredding performance Possible cause: – Blunt blades – Incorrectly ground blades
Remedy:
– Blunt or incorrectly ground blades Remedy:
Service schedule

Please hand this instruction manual to your STIHL specialist dealer in the case of maintenance operations
He will confirm the service operations performed in the pre-printed boxes

2. Attach the chassis


Unscrew and remove closure screws (1).
Remove the feed chute. (c 11 4)
Loosen bolt (3) using assembly tool (U) and unscrew completely.
Remove wing blade (6). wing blade (7) and wing blade (8).
Fold back locking device (2).
Fit blade disc (1) onto the blade mounting. When doing so, pay attention to the teeth on the blade mounting.
Hold a ruler (5) against the reference edge (4) of the combination blade. The distance (A) between the cutting edge and the ruler indicates the wear.













