STIHL SHE 81 Electric Vacuum Shredder Instruction Manual
Dear Customer,
Thank you for choosing a quality engineered STIHL product.
It has been built using modern production techni‐ ques and comprehensive quality assurance. Every effort has been made to ensure your satis‐ faction and trouble-free use of the product.
Please contact your dealer or our sales company if you have any queries concerning this product. Your
Guide to Using this Manual
Pictograms
All the pictograms attached to the machine are shown and explained in this manual.
Symbols in text
WARNING
Warning where there is a risk of an accident or personal injury or serious damage to property.
Engineering improvements
STIHL’s philosophy is to continually improve all of its products. For this reason we may modify the design, engineering and appearance of our products periodically. Therefore, some changes, modifications and improvements may not be covered in this manual.
Safety Precautions and Working Techniques
Special safety precautions must be observed when working with this machine. The power supply is a par‐ ticular source of danger.
It is important that you read and understand the User Manual before commissioning and keep it in a safe place for future reference. Non-com‐ pliance with the User Manual may cause serious or even fatal injury.
WARNING
- Minors should never be allowed to operate this power tool. Watch children to be sure that they do not play with the power tool.
- This power tool may be operated only by per‐ sons who have been instructed in its use and proper handling.
- Persons who are not able to operate the power tool safely due to limited physical, sen‐ sory or mental ability may work with it only under supervision or after being instructed appropriately by a responsible person.
- Do not pass on or lend the machine to per‐ sons who are not familiar with this model and its handling – always include the User Manual.
- Disconnect plug from wall outlet before per‐ forming any work on the machine, e.g. clean‐ ing, maintenance, replacing parts.
Observe all applicable local safety regulations, e.g. by trade organizations, social insurance institutions, labor safety authorities etc.
When the machine is not in use, put it in a place where it does not endanger others. Secure it against unauthorized use, disconnect the plug from the power supply.
The user is responsible for accidents or risks involving third parties or their property.
If you have not used this model before: Have your dealer or a trained expert show you how to operate it properly and safely.
The use of noise-emitting power tools may be restricted to certain times by national or local regulations.
Before each use, check that your power tool is in good condition. Pay special attention to the power cord, mains plug and safety devices.
Do not operate your machine if any of its compo‐ nents are damaged.
Do not use the power cord to pull or carry the power tool.
Do not use a high-pressure washer to clean the power tool. The solid jet of water may damage parts of the unit.
Never spray water on the unit – risk of short cir‐ cuit!
Physical fitness
To operate the power tool you must be rested, in good physical condition and mental health.
If you have any condition which may be aggrava‐ ted by strenuous work, check with your doctor before operating a power tool.
Do not operate the power tool if you have con‐ sumed alcohol or taken medication which may impair responsiveness, or taken drugs.
Intended Use
The blower is designed for blow-sweeping leaves, grass, paper and similar materials, e.g. in gardens, sports stadiums, car parks and drive‐ ways. The vacuum shredder is designed for picking up dry leaves and other lightweight, loose and noncombustible materials. Do not blow-sweep or vacuum hazardous materi‐ als. Do not operate your power tool indoors. Do not use the power tool for any other purpose because of the increased risk of accidents and damage to the power tool itself. The product must not be modified in any way – this may also lead to accidents or damage to the unit.
Operational conditions
Never work with the power tool in the rain, snow or in wet or very damp locations. Do not leave the power tool outdoors in the rain.
Clothing and equipment
Wear proper protective clothing and equipment.
Clothing must be sturdy but allow complete freedom of movement. Wear snug-fitting clothing, an overall and jacket combination, do not wear a work coat.
Avoid wearing any clothing, scarves, neckties or jewelry which could get into the air intake. Tie up and confine long hair above your shoulders.
WARNING
To reduce the risk of eye injuries, wear close-fitting safety glasses in accordance with European Standard EN 166. Make sure the safety glasses are a snug fit. Wear “personal” sound protection, e.g. ear defenders. STIHL can supply a comprehensive range of per‐ sonal protective equipment.
Accessories
Only use parts and accessories that are explicitly approved for this power tool by STIHL or are technically identical. If you have any questions in this respect, consult your dealer. Use only high quality parts and accessories. Otherwise there is a risk of accidents or damage to the unit. STIHL recommends the use of original STIHL parts and accessories. They are specifically designed to match the product and meet your performance requirements. Never attempt to modify your power tool in any way since this may increase the risk of personal injury. STIHL excludes all liability for personal injury and damage to property caused while using unauthorized attachments.
Before starting work
Check the machine
- Switch/trigger must move easily to STOP or 0
- The trigger/switch lever must be on STOP or 0.
- The blower tubes must be properly assembled
- Handles must be clean and dry, free from oil and dirt, for safe control.
- Check condition of blower wheel and blower housing – see chapter on “Using the Vacuum Attachment”.
To reduce the risk of accidents and personal injury, do not operate your power tool if it is not properly assembled and in good condition!
Do not operate your power tool if any of its com‐ ponents are damaged or not properly mounted.
Risk of injury from contact with rotat‐ ing blower wheel.Risk of injury from contact with rotating blower wheel. Always switch off the motor and dis‐ connect the plug from the power sup‐ ply before removing the intake screen, suction tube, blower tube or elbow. Wait for the blower wheel to come to a complete standstill.
Wear of the blower housing (cracks, nicks, chips) may result in an increased risk of injury from thrown foreign objects. If the blower housing is damaged, consult your dealer – STIHL recom‐ mends you contact a STIHL servicing dealer
Never attempt to modify the controls or safety devices
Electrical connection.
Reduce the risk of electric shock:
- Voltage and frequency of the machine (see rating plate) and the voltage and frequency of your power supply must be the same.
- Examine the connecting cord, power plug and extension cord for damage. Damaged cords, couplings and plugs or connecting cords that do not comply with the regulations must not be used
- Always connect the engine analyzer to a prop‐ erly installed wall outlet.
- Check that the insulation of the power cord, extension cord, plug and coupling is in good condition
- Never touch the power plug, power cord and extension cord and electrical plug connections with wet hands. Position the connecting and extension cords cor‐ rectly:
- Check minimum cross section of wires (wire gauge) – see “Connecting to Power Supply”.
- To reduce the risk of stumbling, position and mark the connecting cord so that it cannot be damaged or endanger others.
- Using unsuitable extension cords can be dan‐ gerous. Use only extension cords approved for outdoor use which are labeled as such and have the appropriate wire gauge.
- The plug and coupling of the extension cord must be water-proof and must never be immersed in water.
- Do not chafe on edges, pointed or sharp objects
- don’t trap or squeeze the cord in or under doors or windows
- If cords are twisted – unplug the power tool and straighten them out
- always unroll the connecting cord from the cable reel completely to avoid risk of fire due to overheating
Holding and guiding the machine
The blower is designed for one-handed opera‐ tion. It can be carried by the control handle in either the right or left hand. Always hold the power tool firmly in your hand.
WARNING
Operate the machine only with the blower tube completely mounted – risk of injury! The round nozzle is particularly suitable for use on uneven surfaces (e.g. fields and lawns). The flat nozzle (either included with unit or avail‐ able as special accessory) produces a broad and powerful airstream at ground level. It can be aimed and controlled very accurately. This noz‐ zle is highly effective for blow-sweeping sawdust, leaves, grass cuttings, etc. on flat surfaces.
Using the Vacuum Attachment
For specific assembling instructions, see appro‐ priate chapter in this User Manual.
The vacuum attachment is designed for twohanded operation. Hold and operate the unit with your right hand on the control handle and your left hand on the assist handle (union nut). Wear the catcher bag shoulder strap over your right shoulder, not across your chest. This ena‐ bles you to quickly remove the power tool and catcher bag in an emergency.
To reduce the risk of injury, operate your power tool only with a properly mounted suction tube and closed catcher bag.
To reduce the risk of personal injury from fire, never attempt to pick up hot or burning substances (e.g. smolder‐ ing ashes, glowing cigarettes).
To reduce the risk of fatal injury from fire or explosion, never attempt to pick up combustible fluids (e.g. gaso line) or materials soaked in combusti‐ ble fluids.
NOTICE
Vacuuming abrasive material (such as grit, stone chips, etc.) causes the impeller wheel and impel‐ ler housing to wear at a rapid rate. This results in a considerable loss of suction power. In such a case you should contact your dealer. STIHL rec‐ ommends you have this work done by a STIHL servicing dealer
Take particular care when vacuuming wet leaves since they may block the blower wheel and elbow.
To clear a blockage in the machine:
- Switch off the machine and disconnect the mains plug
- Remove the elbow and suction tube – see “Assembling the Vacuum Shredder”.
- Clean the elbow and blower housing.
While working
If the power cord is damaged, imme‐ diately disconnect the plug from the power supply to avoid the risk of elec‐ trocution.
Avoid damage to the power supply cord. Do not drive over it, pinch or tug it.
Never jerk the connecting cord to disconnect it from the wall outlet. To unplug, grasp the plug, not the cord.
The power cord and power plug must never be touched with wet hands.
In case of imminent danger or in an emergency, move the trigger/switch to STOP or.
Your power tool is designed to be operated by one person only. Do not allow other persons in the work area.
Children, animals and onlookers must remain at a safe distance.
To reduce the risk of injury from thrown objects, do not allow any other persons within 15 meters of your own position.
This distance must also be maintained in relation to objects (vehicles, window panes) – risk of property damage!
Do not direct the air blast towards bystanders or animals – the machine may eject small objects at high speed – risk of injury!.
When blow-sweeping and vacuum shredding (in open ground and gardens), watch out for small animals to avoid harming them.
Never leave a running machine unattended.
Walk slowly forwards as you work – observe the nozzle outlet at all times – do not walk back‐ wards – risk of stumbling.
Keep the connecting cord behind the power tool at all times – do not walk backwards – risk of stumbling.
Hold your power tool in a normal, relaxed work‐ ing position. Make sure you always have a firm and secure footing.
Take care in splippery conditions on slopes and uneven ground.
Watch out for obstacles: Be careful of refuse, tree stumps, roots and ditches which could cause you to trip or stumble
Do not work on a ladder or in unstable locations.
Be particularly alert and cautious when wearing hearing protection because your ability to hear warnings (shouts, alarms, etc.) is restricted.
Work calmly and carefully – in daylight conditions and only when visibility is good. Proceed with caution, do not put others in danger.
Take breaks when you start getting tired or feel‐ ing fatigue – risk of accidents!
Static electricity may build-up while blow-sweep‐ ing large quantities of very dusty material and suddenly discharge in certain unfavorable condi‐ tions (e.g. very dry work area).
Always wear a dust mask if dust is generated.
Vacuuming unsuitable materials may block the impeller wheel. Switch off the unit immediately and disconnect the plug from the power supply. Then clear the blockage.
Never attempt to insert objects into the impeller housing through the intake screen or the nozzle. They may be expelled at very high speed by the blower – risk of injury.
If there is a noticeable change in running behav‐ ior (e.g. higher vibrations), stop work and rectify the cause of the problem.
If your power tool is subjected to unusual stress for which it was not designed (e.g. heavy impact or a fall), always check that it is in good conditionbefore continuing work – see also “Before Start‐ ing Work”. Make sure the safety devices are working properly. Do not continue operating the machine if it is damaged. In case of doubt, con‐tact a dealer.
If the machine continues to run (does not switchoff) after the trigger switch is released, discon‐ nect the plug from the wall outlet and consult your STIHL servicing dealer. The machine has a malfunction.
Before leaving the power tool unattended: Switchit off and disconnect the plug from the power supply.
After finishing work
Disconnect the mains plug from the power sup‐ ply. Never jerk the connecting cord to disconnect it from the wall outlet. To unplug, grasp the plug, not the cord. Always clean dust and dirt off the power tool. Do not use any grease solvents for this purpose.
Vibrations
Prolonged use of the power tool may result in vibration-induced circulation problems in the hands (whitefinger disease). No general recommendation can be given for the length of usage because it depends on several factors.
The period of usage is prolonged by:
- Hand protection (wearing warm gloves)
- Work breaks
The period of usage is shortened by:
- Any personal tendency to suffer from poor cir‐ culation (symptoms: frequently cold fingers, tingling sensations).
- Low outside temperatures.
- The force with which the handles are held (a tight grip restricts circulation)
Maintenance and repairs
WARNING
Before starting any work on the machine: Always disconnect the machine from the mains power sup‐ ply.
- Use only high-quality spare parts. Otherwise, there may be a risk of accidents and damage to the unit. If you have any questions in this respect, consult a servicing dealer.
- To avoid risks, work on the machine (e. g. replacing a damaged power cord) may only be carried out by authorized dealers or qualified electricians.
Clean plastic parts with a cloth. Harsh detergents can damage the plastic. Clean ventilation slots in motor housing as nee‐ ded. The machine must be serviced regularly. Do not attempt any maintenance or repair work not described in the Instruction Manual. All other work should be carried out by a servicing dealer.STIHL recommends the use of genuine STIHL spare parts. Such parts have been optimized for the machine and the user’s requirements. STIHL recommends that maintenance and repair work be carried out only by authorized STIHL dealers. STIHL dealers receive regular training and are supplied with technical information.
Assembling the Blower
Mounting the Blower Tube BGE 71, BGE 81:
Your blower can be switched on only when the blower tube is properly mounted. The union nut activates a switch which closes the circuit to allow the motor to be switched on.
- Line up the recesses. The arrow (2) must be on the top of the blower tube (1).
- Push the blower tube (1) into the blower hous‐ ing stub (3) as far as the stop.
- Push the union nut (4) over the blower hous‐ ing stub (3) and turn it in the direction of the arrow until the tab (5) engages the opening (6) in the union nut.
BGE 71, BGE 81:
You will hear the safety switch being activated
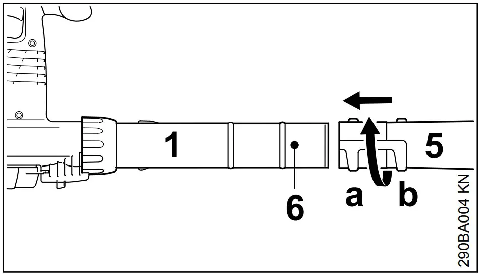
Mounting the Nozzle
- Push the nozzle (5) onto the blower tube (1) as far as lug (6), position (a) (long) or posi‐ tion (b) (short), and rotate the nozzle in the direction of the arrow to it lock in position.
Removing the Blower Tube
- Switch off the motor.
- Press down the lock button by inserting a suit‐ able tool through the opening in the union nut.
- Rotate the union nut (4) in the direction of arrow as far as the stop.
- Remove the blower tube (1).
Assembling the Vacuum Shredder
Your vacuum shredder can be switched on only when the elbow and suction tube are properly mounted. The union nuts activate a switch which closes the circuit to allow the motor to be switched on.
- Disconnect the plug from the power supply.
Mounting the Elbow
WARNING
Make sure the zipper on the catcher bag is closed.
- Push the elbow (1) into the catcher bag (2) as far as the mark (smaller arrow).
- Tighten strap (3) on catcher bag and press down the buckle tab (4).

- Line up the recesses.
- Push the elbow (5) into the blower housing stub (6) as far as stop.
- Push the union nut (7) over the blower hous‐ ing stub (6) and turn it in the direction of the arrow as far as the stop. You will hear the safety switch being activated.
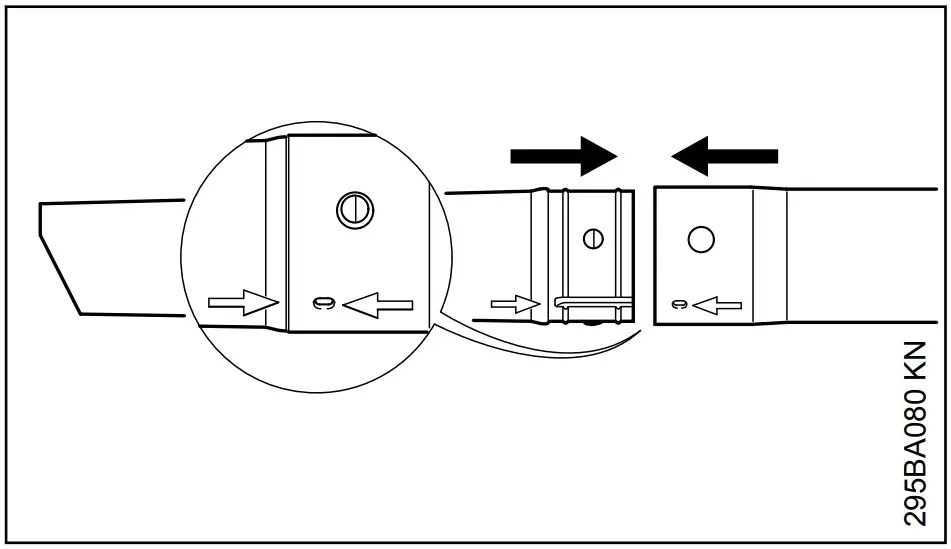
Assembling the Suction Tube
- Line up the arrows on the suction tube and extension tube. Push together and lock in position.
Mounting the Suction Tube
- Switch off the motor.
- Press down the lock button (1) by inserting a suitable tool through the opening.
- Push lug (arrow) against blower housing and hold it there.
- Rotate the intake screen (2) in the direction of arrow as far as the stop and lift it away

- Line up the arrows (3).
- Push the suction tube into the intake opening as far as the stop.

- Push the handle (4) over the intake opening.
- Line up the arrows (3 and 5).
- Rotate the handle (4) in direction of arrow until the lever (6) engages audibly on the blower housing.

Removing the Elbow
- Shut off the engine.
- Press down the lock button (1) by inserting a suitable tool through the opening.
- Rotate the union nut (1) in the direction of arrow as far as the stop.
- Remove the elbow (2).
Removing the Suction Tube
- Shut off the engine.
- Press down the lock button (1) by inserting a suitable tool through the opening.
- Depress lever (1) and rotate handle (2) in direction of arrow as far as the stop.
- Remove the handle together with the suction tube.

- Position the intake screen (3) on the intake opening.
- Line up the arrows (4).
- Rotate the intake screen (3) in direction of arrow until the lug (5) engages audibly on the blower housing.

Connecting to Power Supply
The voltage and frequency of the machine (see rating plate) must match the voltage and fre‐ quency of the power connection. The minimum fuse protection of the power con‐ nection must comply with the specifications – see “Specifications”.The machine must be connected to the power supply via an earth-leakage circuit breaker to dis‐ connect the power supply if the differential cur‐ rent to earth exceeds 30 mA. The power connection must correspond to IEC 60364 and relevant national regulations.
Extension cord
The design of the extension cord must at least fulfill the same features as the connecting cord on the machine. Observe the design marking (type designation) on the connecting cord.
Strain relief (cord retainer)
The strain relief protects the appliance cord against damage
- Insert the plug (1) into the extension cord cou‐ pling (2).

- Make a loop in the extension cord.
- Pass the loop (3) through the opening (4).
- Slip the loop over the hook (5) and pull it tight.

Connecting to Wall Outlet
Make sure your machine is switched off before you connect it to the power supply – see “Switch‐ ing Off”.
- Connect the extension cord plug to a properly installed wall outlet.
Switching On
- Make sure you have a secure and balanced footing.
- Hold the unit in the normal working position.
BGE 61, BGE 71, SHE 71
- Move switch (1) to I or II (position II depends on model).
Units with single switch setting (I):
I = full power
Units with two switch settings (I and II):
I = half power
II = full power
BGE 81, SHE 81
- Squeeze trigger switch (2) on control handle. Blowing and suction power are infinitely variable. Press in the lock button (3) to lock the trigger switch (2) in the maximum power position in the blower and vacuum modes.
Switching Off
During long work breaks – disconnect the plug from the power supply. When the machine is not in use, shut it off so that it does not endanger others. Secure it against unauthorized use.
BGE 61, BGE 71, SHE 71
- Move the switch (1) to 0
BGE 81, SHE 81
- Release trigger switch (2) on control handle. If the lock button (3) is engaged, squeeze the trigger switch briefly and let it go.
Storing the Machine
- Thoroughly clean the machine.
- Store the machine in a dry, high or locked location, out of the reach of children and other unauthorized persons.
Maintenance and Care
| The following intervals apply to normal operating conditions only. If your daily working time is longer or operating conditions are difficult (very dusty work area, etc.), shorten the specified intervals accord‐ ingly. | before starting work | after finishing work or daily | weekly | monthly | yearly | if problem | if damaged | if required | |
| Complete machine | Visual inspection (con‐ dition) | x | |||||||
| Clean | x | ||||||||
| Control handle | Check operation | x | |||||||
| Cooling inlets | Clean | x | |||||||
| Safety labels | Replace | x | |||||||
Minimize Wear and Avoid Damage
Observing the instructions in this manual helps reduce the risk of unnecessary wear and dam‐ age to the power tool. The power tool must be operated, maintained and stored with the due care and attention described in this instruction manual.
The user is responsible for all damage caused by non-observance of the safety precautions, oper‐ ating and maintenance instructions in this man‐ ual. This includes in particular:
- Alterations or modifications to the product not approved by STIHL.
- Using tools or accessories which are neither approved or suitable for the product or are of a poor quality.
- Using the product for purposes for which it was not designed.
- Using the product for sports or competitive events.
- Consequential damage caused by continuing to use the product with defective components
Maintenance Work
All the operations described in the “Maintenance Chart” must be performed on a regular basis. If these maintenance operations cannot be per‐ formed by the owner, they should be performed by a servicing dealer. STIHL recommends that you have servicing and repair work carried out exclusively by an author‐ ized STIHL servicing dealer. STIHL dealers are regularly given the opportunity to attend training courses and are supplied with the necessary technical information.
If these maintenance operations are not carried out as specified, the user assumes responsibility for any damage that may occur. Among other things, this includes:
- Damage to the motor due to neglect or defi‐ cient maintenance (e.g. not cleaning cooling air inlets).
- Damage due to incorrect electrical connection (voltage, inadequately rated connecting cords).
- Corrosion and other consequential damage resulting from improper storage.
- Damage to the product resulting from the use of poor quality replacement parts.
Parts Subject to Wear and Tear
Some parts of the power tool are subject to normal wear and tear even during regular operation in accordance with instructions and, depending on the type and duration of use, have to be replaced in good time. Among other parts, this includes:
- Fanwheel
- Catcher bag
Main Parts

- Fan nozzle
- Blower tube
- Union nut
- Cooling inlets
- Trigger (BGE 81, SHE 81 only)
- Switch (BGE 61, BGE 71, SHE 71 only)
- Lock button (BGE 81, SHE 81 only)
- Control handle
- Strain relief hook (cord retainer)
- Appliance plug
- Protective screen
- Union nut with handle*
- Suction tube*
- Elbow*
- Catcher bag*
# Serial number
Specifications
Motor (BGE 61) 120V version
Power supply: 120 V, 60 Hz, 9.2 A
Protect with a fuse 15 A
Engine power 1100 W
Protection class, safety class II E
240V version
Power supply: 240 V, 50 Hz, 4.8 A
Protect with a fuse 10 A
Engine power 1100 W
Protection class, safety class II E
Motor (BGE 71 / SHE 71)
120V version
Power supply: 120 V, 60 Hz, 9.2 A
Protect with a fuse 15 A
Engine power 1100 W
Protection class, safety class II E
Motor (BGE 81 / SHE 81)
230V version
Power supply: 230 V, 50 Hz, 6.1 A
Protect with a fuse 10 A
Engine power 1400 W
Protection class, safety class II E
230V – 240V version
Power supply: 230 V – 240 V, 50 Hz, 6.1 A
Protect with a fuse 10 A
Engine power 1400 W
Protection class, safety class II E
REACH
REACH is an EC regulation and stands for the Registration, Evaluation, Authorization and Restriction of Chemical substances. For information on compliance with the REACH regulation (EC) No. 1907/2006 see www.stihl.com/reach
Maintenance and Repairs
Users of this machine may only carry out the maintenance and service work described in this user manual. All other repairs must be carried out by a servicing dealer. STIHL recommends that you have servicing and repair work carried out exclusively by an author‐ ized STIHL servicing dealer. STIHL dealers are regularly given the opportunity to attend training courses and are supplied with the necessary technical information. When repairing the machine, only use replace‐ ment parts which have been approved by STIHL for this power tool or are technically identical. Only use high-quality replacement parts in order to avoid the risk of accidents and damage to the machine. STIHL recommends the use of original STIHL replacement parts. Original STIHL parts can be identified by the STIHL part number, the { logo and the STIHL parts symbol K (the symbol may appear alone on small parts).
Disposal
Contact the local authorities or your STIHL serv‐ icing dealer for information on disposal. Improper disposal can be harmful to health and pollute the environment.
- Take STIHL products including packaging to a suitable collection point for recycling in accord‐ ance with local regulations.
- Do not dispose with domestic waste.
EC Declaration of Con‐ formity
ANDREAS STIHL AG & Co. KG
Badstr. 115
D-71336 Waiblingen
Germany
declare under our sole responsibility that conforms to the relevant provisions of Directives 2011/65/EU, 2006/42/EC, 2000/14/EU and 2014/30/EC and has been developed and manu‐ factured in compliance with the following stand‐ ards in the versions valid on the date of produc‐ tion: EN 50636‑2‑100, EN 55014‑1, EN 55014‑2, EN 60335‑1, EN 61000‑3‑2, EN 61000‑3‑3 The measured and guaranteed sound power lev‐ els were determined according to Directive 2000/14/EC, Annex V
Measured sound power level
BGE 71: 98 dB(A)
BGE 81: 101 dB(A) SHE 71 98 dB(A)
SHE 81: 100 dB(A)
Guaranteed sound power level
BGE 71: 100 dB(A)
BGE 81: 103 dB(A)
UKCA Declaration of Conformity
ANDREAS STIHL AG & Co. KG
Badstr. 115
D-71336 Waiblingen
Germany
declare under our sole responsibility that complies with the relevant provisions of the UK regulations The Restriction of the Use of Certain Hazardous Substances in Electrical and Elec‐ tronic Equipment Regulations 2012, Supply of Machinery (Safety) Regulations 2008, Noise Emission in the Environment by Equipment for use Outdoors Regulations 2001 and Electromag‐ netic Compatibility Regulations 2016 and has been developed and manufactured in accordance with the versions of the following standards valid on the date of manufacture: EN 50636‑2‑100, EN 55014‑1, EN 55014‑2,EN 60335‑1, EN 61000‑3‑2, EN 61000‑3‑3 The measured and guaranteed equivalent sound power level has been determined in accordance with the UK regulation Noise Emission in the Environment by Equipment for use Outdoors Regulations 2001, Schedule 8.
Measured sound power level
BGE 71: 98 dB(A)
BGE 81: 101 dB(A)
SHE 71: 98 dB(A)
SHE 81: 100 dB(A)
Guaranteed sound power level
BGE 71: 100 dB(A)
BGE 81: 103 dB(A)
SHE 71: 100 dB(A)
SHE 81: 102 dB(A)
Technical documents deposited at:
ANDREAS STIHL AG & Co. KG
The year of construction, the country of manufac‐ ture and the machine number are shown on the machine.
Done at Waiblingen, 15.07.2021
ANDREAS STIHL AG & Co. KG
pp
Dr. Jürgen Hoffmann
Director Product Certification & Regulatory Affairs

























