Metalux
IB519090EN
Installation Instructions – VT4S LED Vaportite Luminaire Installation
WARNING
Risk of Fire, Electrical shock, Cuts and or other Casualty Hazards. This product must be installed in accordance with the applicable installation code by a qualified electrician or a person familiar with the construction and operation of the product and the hazards involved. Cooper Lighting Solutions assumes no responsibility for claims brought about by improper or careless installation or handling of this product.
WARNING
Risk of Fire and Electric Shock. If not qualified, consult an electrician.
CAUTION
Edges May Cut. Handle with care.
CAUTION
Risk of Burn. Disconnect power and allow fixture to cool before handling fixture.
Notice: Minimum 90° supply conductors.
Notice: Green ground screw provided in proper location. Do not relocate.
Note: Specifications and dimensions subject to change without notice.
IMPORTANT: Read carefully before installing fixture. Retain for future reference.
ATTENTION Receiving Department:
Note actual fixture description of any shortage or noticeable damage on delivery receipt. File claim for common carrier (LTL) directly with carrier. Claims for concealed damage must be filed within 15 days of delivery. All damaged material, complete with original packing must be retained.
VT4S Description
The VT4S LED is a Vaportite fixture using a reinforced fiberglass housing with a high impact diffuser. The fixture is suitable for interior and exterior applications and can be surface, pendent or chain mounted. The VT4S LED has been designed for maximum operation in commercial institutional and industrial environments and is suited for ambient temperatures ranging from -40°C to 40°C. It is also rated for wet locations and has IP ratings of IP65, IP66, IP67, and IP69.

Mounting
The VT4S supports the following 4 mounting options; (Rigid mount not for use in gymnasiums).
Hanging Loop: Each unit is supplied with 2 hanging loops. Install each hanging loop end in the hole on the mounting strap attached to the fixture. Locate appropriate hangers on the ceiling for chain or other mounting hardware desired (by others) and attach to loop hangers. (Figure 1)

Figure 1.
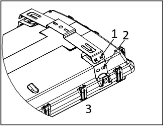
- Mounting Strap
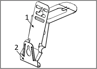
Surface Mounting Bracket: Option sold separately. Locate the mounting straps on the side of the fixture, push the mounting bracket end onto the mounting strap until the engagement teeth are properly engaged in the holes on the mounting strap, repeat for other side. (Figure 2)

Figure 2.
- Mounting Bracket Engagement Teeth
- Mounting Strap Engagement Holes
- Push Until The Mounting Bracket And Mounting Strap Are Properly Engaged
Single Point Mounting: Option sold separately. Remove the mounting straps (Qty 4) and remove the center latches on the long side of the fixture (quantity 1 latch per side). Reinstall the mounting straps (Qty 2) with the additional mounting tabs (Qty 2) in the center of the fixture on the long side, in the locations where the latches were removed. Then place the mounting beam on the backside of the housing and press the mounting tab through the duckbill spring clips on the mounting beam. Use #6 screws (not supplied) to secure the mounting tab to mounting beam. (Figure 3 & 4)

Figure 3.
- Mounting Tab
- Mounting Strap

Figure 4.
Pendent Mount: This is a specific fixture with a unique housing. Remove the lens and gear tray using the interior access instructions. Locate the hub (figure 7) supplied with the fixture, remove the locknut and insert the hub into the hole in the backside of the housing with the O-ring on the outside of the fixture. Thread the hub locknut onto the hub and tighten firmly, do not allow the outside portion of the hub and O-ring to rotate when tightening. Use thread sealant for the connection to the pendent mount hub. Then reinstall gear tray and lens. (Figure 5, 6 & 7)

Figure 5.

Figure 6.

Figure 7.
Interior Access
To access the interior of the fixture, begin by unlatching the lens and setting lens aside. The LED gear tray is then removed by pressing outward on the tabs at the corners of the fixture housing to release the gear tray (Figure 8). The gear tray is tethered to the housing. After reinstalling the lens, close all of the latches and press on the lens at each latch location toward the back of the housing to ensure the lens is seated properly.

Figure 8.
- Press tab to release Gear Tray
Electrical Supply Connection
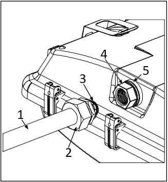
The VT4S is suitable for wet locations and approved for the IP ratings shown above. Please follow the specific instructions based on the IP ratings used for your particular installation. Apply thread sealant to all fitting threads and use a backup wrench when tightening any fitting to the hub.
Refer to figures 9 & 10. Assemble the hub through the housing access hole with the O-ring on the outside. Thread the hub locknut onto the hub and tighten firmly. Do not allow the outside portion of the hub and O-ring to rotate when tightening.
For general wet location installations and IP65, IP66, IP67 and IP69 (IP ratings are based on fixture being mounted in horizontal position with light facing down), use the supplied connector hub and install either a suitably rated WT cord grip and cord, or liquid-tight conduit and fittings.
Refer to figure 11 & 12, for IP69 use only liquid-tight conduit & fittings. When installing the hub, apply a small bead of silicone sealant around the inner corner of the O-ring and hub body before installing hub. Apply thread sealant to all threaded connections and use a backup wrench on the hub when tightening. IP69 cannot be achieved using any WT cord grip fittings.
Emergency Battery Backup
Only the 9000 lumen configuration has an integral EM battery pack. All others are remote mount only. The remote battery pack is housed separately in a 2ft vaportight housing and connected to the primary unit with a 3ft length of liquid-tight conduit and straight fittings with the units pre-wired. Only the EM unit requires input supply wiring. Once in operation and a/c power applied, connect the 2 red “converter connector” wires with supplied wire nut. The test button & indicator light is located in the EM housing for remote units and on the gear tray for integral units.

Figure 9.
- Liquid-Tight Conduit
- Liquid-Tight Fitting with Seal
- Apply Thread Sealant
- IP Hub (Supplied)
- Hub O-Ring

Figure 10.
- Tighten Hub Locknut Firmly Aganist Housing
- Hub

Figure 11.
- Hub O-Ring
- Apply Bead Of Silicon In Groove For IP69 Only

Figure 12.
FCC Statement
Note: This equipment has been tested and found to comply with the limits for a Class A digital device, pursuant to part 15 of the FCC Rules. These limits are designed to provide reasonable protection against harmful interference when the equipment is operated in a commercial environment. This equipment generates, uses, and can radiate radio frequency energy and, if not installed and used in accordance with the instruction manual, may cause harmful interference to radio communications. Operation of this equipment in a residential area is likely to cause harmful interference in which case the user will be required to correct the interference at his own expense.
Warranties and Limitation of Liability
Please refer to www.cooperlighting.com for our terms and conditions.

Cooper Lighting Solutions
1121 Highway 74 South
Peachtree City, GA 30269
P: 770-486-4800
www.cooperlighting.com
Canada Sales
5925 McLaughlin Road
Mississauga, Ontario L5R 1B8
P: 905-501-3000
F: 905-501-3172
© 2022 Cooper Lighting Solutions
All Rights Reserved
Publication No. IB519090EN
February 15, 2022
Cooper Lighting Solutions is a registered trademark. All trademarks are property of their respective owners.


















