
Thank you for purchasing a Sealey product. Manufactured to a high standard, this product will, if used according to these instructions, and properly maintained, give you years of trouble-free performance.
IMPORTANT: PLEASE READ THESE INSTRUCTIONS CAREFULLY. NOTE THE SAFE OPERATIONAL REQUIREMENTS, WARNINGS & CAUTIONS. USE THE PRODUCT IS CORRECTLY AND WITH CARE FOR THE PURPOSE FOR WHICH IT IS INTENDED. FAILURE TO DO SO MAY CAUSE DAMAGE AND/OR PERSONAL INJURY AND WILL INVALIDATE THE WARRANTY. KEEP THESE INSTRUCTIONS SAFE FOR FUTURE USE.
| Refer to the instruction manual | Wear protective gloves | Wear protective footwear |
SAFETY
√ Always lower, center,r and use the slide bar and safety rod before attempting to move the trolley.
√ Only use the trolley on firm, level, unobstructed surfaces which are capable of supporting the trolley and wheel.
x DO NOT overload the trolley – maximum capacity is 80kg.
x DO NOT ride on the trolley.
x DO NOT use on tarmacadam. The trolley must only be used on a concrete surface.
√ WD80 is fitted with locking castors, these are for use at the operator’s discretion and when the trolley is left unattended.
√ Replace or repair damaged parts. Use only recommended parts. Unauthorized parts may be dangerous and will invalidate the warranty.
√ Use a qualified person to lubricate and maintain the trolley. DO NOT use brake fluid to top up the hydraulic unit. Use Sealey hydraulic oil only.
WARNING! Failure to comply with these instructions may result in loss of load, damage to a trolley or other property, and/or personal injury.
beam using three pairs of fixings, two pairs in the horizontal plane and one pair in the vertical plane.
WARNING! The warnings cautions and instructions discussed in this manual cannot cover all possible conditions and situations that may occur. It must be understood that common sense and caution are factors that cannot be built into this product but must be applied by the operator.
INTRODUCTION
Long reach bottle jack type mechanism. The quick Lift feature reduces the time and effort needed to raise arms to the contact point. Steel construction with friction-mounted roller arms. Front and rear castors for easy maneuverability. Adjustable width, 300 or 360mm between rollers, gives greater flexibility. Supplied with a safety bar to prevent the wheel from tipping forward.
SPECIFICATION
Model No: …………………………………………………………… WD80
Maximum Lifting Height: ……………………………………… 930mm
Minimum Lifting Height: ……………………………………….. 0.1mm
Roller Length: ……………………………………………………. 280mm
Width Between Rollers: ……………………………….. 300, 360mm

ASSEMBLY
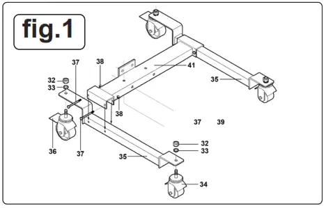
Note: Numbers in diagrams correspond to the item numbers on the parts diagram.
4.1. ASSEMBLING THE CASTOR BASE
4.1.1. Referring to fig.1, take one wheel beam (35) and attach a non-locking castor (34) to the short wheel mounting plate using a locking washer (33) and nut (32).
4.1.2. Attach a locking castor (36) to the long wheel mounting plate using a locking washer (33) and nut (32). Attach the castors to the other wheel beam (35).
4.1.3. Take the supporting beam (41) and mount a wheel beam at either end of it as shown below. Drop the ‘U’ channels at either end of the supporting beam down over each wheel beam. Align the holes in the wheel beams with the holes in the supporting beam and insert two bolts (37) at either side. Retain the four bolts by attaching four nuts (38).
Assembling the pump/column to the castor base.
4.1.4. The pre-assembled pump and column unit is fixed to the supporting beam using three pairs of fixings, two pairs in the horizontal plane and one pair in the vertical plane.
4.1.5. Referring to fig.2, take the pre-assembled pump and column unit and slide it onto the main support beam and up against the vertical plate welded to the support beam. Align the holes in the pump block with the holes in the vertical plate. Slide a spring washer (39) onto each socket cap bolt (26) and insert the bolts through the plate and screw them finger-tight into the pump block.
4.1.6. Slide a washer (27) onto each long bolt (28) and insert the bolts horizontally through the column bracket and all the way through the main support beam. Secure the bolts finger tight only at this stage using two spring washers (39) and two nuts (40).
4.1.7. Slide a washer (27) onto each long bolt (31) and insert the bolts vertically from underneath, through the corners of the column bracket, and all the way through the main support beam. Secure the bolts on the top surface of the beam using two spring washers (39) and two nuts (40).
4.1.8. Now progressively tighten all three pairs of fixings checking that the pump/column remains vertical.
4.2. ASSEMBLING THE ROLLER SUPPORT
4.2.1. Referring to fig.3, take the roller support assembly and bolt it to the angled plate at the base of the column using four socket cap bolts (20).
4.2.2. There are two mounting positions for the right-hand roller. Choose the position to suit the job at hand.
4.3. ASSEMBLING THE BRIDGE JOINT
4.3.1. Referring to fig.3, take the bridge joint (2) and push it onto the end of the hydraulic ram so that channel walls lie on either side of the lifting rod.
4.3.2. Slide the washer (4) onto the bolt (3) and insert the bolt through the channel and through the lifting rod. Secure the bolt with a spring washer (5) and nut (6). Insert the thumb screw (1) into the collar of the bridge joint and tighten it.
4.4. ASSEMBLING THE SLIDE BAR AND SAFETY ROD
4.4.1. Referring to fig.3, take the safety rod (13) and insert the slide bar (14) into and through the collar at the top of the safety rod. Insert the threaded end of the slide bar into the slide tube (10). Move the assembly up the lifting rod and lock it in the required place by turning the knob at the end of the slide bar clockwise until it is tight. Insert the butterfly nut (12) into the safety rod collar. Move the safety rod along the slide bar to the required position and tighten the butterfly nut.
OPERATION
5.1. Remove the transit plug at the back of the hydraulic unit between the handles and replace it with the vent valve supplied. See fig.4.
5.2. Set the position of the right-hand roller to suit the size of the wheel to be removed/installed. See fig.3.
5.3. LIFTING – Raise the roller assembly by pumping the foot pedal up and down through its full stroke until it reaches the correct height.
Centre the trolley around the wheel, as close in as possible. When the wheel has been released from the vehicle and is resting on the rollers move the trolley out from the vehicle and adjust the slide bar and safety rod to retain the wheel before lowering it. See fig.5.
5.4. LOWERING – The release valve is spring-loaded shut. The speed of lowering is dependent on how far you open the valve. Turn the valve anti-clockwise, against spring load, for controlled lowering of the roller assembly.
5.5. TRANSPORTATION – Before moving a laden trolley ensure that the wheel is centered on the rollers and adjust the slide bar and safety rod to retain the wheel. Ensure that the roller assembly is fully lowered before moving a wheel.
MAINTENANCE
Daily: Check for damage and oil leaks.
Monthly: Oil moving parts.
Check for abnormal wear and tear.
With roller assembly at the lowest point, check the hydraulic oil level by removing the vent valve. Top up, or allow to drain, as necessary.
Replace the vent valve.
6.1. To maintain peak performance of the wheel lift, periodically bleed the hydraulic system. Open the release valve by turning it anti-clockwise, against spring pressure, and hold it open whilst pumping the foot pedal four or five times. Allow the release valve to close.
TROUBLESHOOTING
7.1. Roller assembly does not reach full height – low oil level, check and fill. Bleed system as described in 6.1.
7.2. Pump ineffective – oil level too high, check and drain.
WEEE REGULATIONS
Dispose of this product at the end of its working life in compliance with the EU Directive on Waste Electrical and Electronic Equipment (WEEE). When the product is no longer required, it must be disposed of in an environmentally protective way. Contact your local solid waste authority for recycling information.
ENVIRONMENT PROTECTION
Recycle unwanted materials instead of disposing of them as waste. All tools, accessories, and packaging should be sorted, taken to a recycling center, and disposed of in a manner that is compatible with the environment. When the product becomes completely unserviceable and requires disposal, drain any fluids (if applicable) into approved containers and dispose of the product and fluids according to local regulations.
Note: It is our policy to continually improve products and as such we reserve the right to alter data, specifications, and component parts without prior notice.
Important: No Liability is accepted for incorrect use of this product.
Warranty: Guarantee is 12 months from purchase date, proof of which is required for any claim.
Sealey Group, Kempson Way, Suffolk Business Park, Bury St Edmunds, Suffolk. IP32 7AR
01284 757500
01284 703534
[email protected]
www.sealey.co.uk
© Jack Sealey Limited
Original Language Version
WD80 Issue:3 (H, F)

















