DRUCK PV 212 Hydraulic Hand Pump

OVERVIEW

Introduction
This manual provides operating instructions for the PV 212 hydraulic hand pump.
Safety
The manufacturer has designed this equipment to be safe when operated using the procedures detailed in this manual. The user must not use this equipment for any other purpose than that stated.
This manual contains safety and operating instructions that must be followed to make sure of safe operation and to keep the equipment in a safe condition. The safety instructions are either warnings or cautions issued to protect the user and the equipment from injury or damage.
Use suitably qualified technicians* and good engineering practice for all procedures in this manual.
Pressure
Do not apply pressure greater than the maximum safe working pressure stated in the specification.
Toxic Materials
There are no known toxic materials used in the construction of this equipment.
Maintenance
The equipment must be maintained using the procedures in this publication. Further manufacturer’s procedures should be done by authorized service agents or the manufacturer’s service departments.
Technical Advice
For technical advice contact the manufacturer or subsidiary.
Symbols
The following symbols mark this equipment:
Symbol Description
- This symbol, on the equipment, indicates a warning and that the user should refer to the user manual. Ce symbole, sur l’appareil, est un avertissement qui indique que l’utilisateur doit consulter le manuel d’utilisation.
- Do not dispose of this product as household waste. Use an approved organization that collects and/or recycles waste electrical and electronic equipment. For more information, contact one of these:
- Our customer service department: Druck.com
- Your local government office.
Abbreviations
The following abbreviations are used in this publication.
Note: Abbreviations are the same in the singular and plural.

- A qualified technician must have the necessary technical knowledge, documentation, special test equipment and tools to carry out the required work on this equipment.

Introduction
The PV 212 is a portable source of hydraulic pressure. Each pump includes a reservoir, and a volume control for fine adjustment. To prevent damage to sensitive instruments, there are five pressure relief valves available for different pressure ranges.
Operation
WARNING Before applying pressure, make sure all connections are correct and equipment is internally clean and free from damage.
Make sure that all equipment is to the correct pressure rating.
Do not exceed the maximum operating pressure stated in the specification.
Observe the relevant health and safety precautions.
CAUTION If PTFE tape is used to seal NPT threads, ensure that only a sufficient amount is used to achieve pressure seal. If excess tape is used, particles can become loose during the connector mating process and enter the pump, potentially leading to loss of pump performance or pressure leaks.
Note: Wherever possible, use o-ring seals in the BSP connection ports this is the recommended method of sealing.
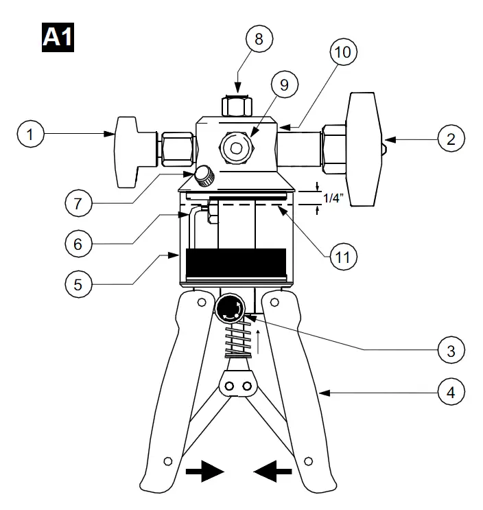
Key to Figure A1
- Pressure release valve.
- Fine adjust vernier.
- Prime/High pressure selector.
- Scissor handles.
- Reservoir.
- Fluid inlet tube.
- Reservoir fill plug.
- Output port.
- Output port.
- Rear port for an optional pressure relief valve. Do not use for other functions.
- Recommended fluid level.
Connecting the Pump
BSP ports can be fitted with any suitable length ¼ BSP male connector, sealing either with an o-ring at the bottom of the port or a bonded seal at the top. Adaptors are supplied to convert the BSP ports to ¼ NPT. Fit a suitable blanking plug to an unused port.
Pressure Release Valve (Figure A1)
Use this (1) to reduce or release the pressure in the system. The amount of turn sets the rate to release the pressure. Only minimum force is necessary to seal the system.
Fine Adjust Vernier (Figure A1)
INFORMATION To prevent damage, DO NOT use force to turn the fine adjust vernier (2).
To make accurate adjustments to the pressure, turn the fine adjust vernier (2) clockwise to increase the pressure or counterclockwise to decrease the pressure.
Operation
WARNING Uncontrolled release of high pressure is dangerous and may cause damage to equipment. Because the internal pressure can get very high during operation, make sure that all the connections are made correctly.
DO NOT ignore the maximum operating pressure specified on the pump label.
Before you connect a pressure component to the PV 212, make sure that it is isolated from the pressure supply and release the internal pressure slowly. DO NOT connect the pump to an external pressure source.
- Remove the reservoir fill plug (7), fill the reservoir (5) to the indicated level (11), and replace the fill plug.
- Connect a reference instrument to the connection (8).
Note: Use PTFE tape or appropriate sealant to seal all NPT connections. Do not use PTFE tape on parallel threads. If PTFE tape is used to seal NPT threads, ensure that only a sufficient amount is used to achieve pressure seal. If excess tape is used, particles can become loose during the connector mating process and enter the pump, potentially leading to loss of pump performance or pressure leaks. - Connect the instrument under test to connection (9). Use pressure-rated flexible hose or use the optional accessories to direct mount it.
- Set the fine adjust vernier (2) to the midpoint of its travel. Turn it fully clockwise, then four to six turns counterclockwise.
- Open the pressure release valve (1). Turn it fully clockwise and then one turn counterclockwise.
- Squeeze the scissor handles (4) fully together and turn the selector (3) to the “Prime” position.
- Remove trapped air from the pump by squeezing the scissor handles (4) several times. Make sure that the fluid inlet tube (6) remains immersed in fluid at all times.
- Close the pressure release valve (1) by turning it fully clockwise, and tighten to seal.
- To prime the system, squeeze the scissor handles (4) together and then release them to get the fluid into the pump cylinder. Repeat this operation until the system is fully primed, as indicated by pressure build-up on the reference instrument or the instrument under test.
- With the scissor handles (4) fully together, turn the selector (3) to the “High” position. Operate the scissor handles (4) until the pressure is almost correct. Note: At higher pressures, it is easier to use short handle strokes.
- To adjust the pressure to the correct value, turn the fine adjust vernier (2) clockwise to increase the pressure or counterclockwise to decrease the pressure.
Note: Initially, small pressure changes can occur
(thermodynamic effects, the seals settle, the hoses expand). The pressure will stabilize after a short time. - To fully release the pressure from the system, slowly turn the pressure release valve (1) counterclockwise one full turn. This completes the procedure.
Note: Careful operation of the pressure release valve (1) gives a controlled release of pressure.
Fault Finding
- If the system appears to lose pressure, repeat the above procedure. Make sure: there is no damage to the seals, the adapters are tightened sufficiently, the pressure release valve (1) is tightened sufficiently to seal.
- Check the optional pressure release valve (10) setting, if fitted.
- When in operation, if the fluid level in the reservoir falls by a large amount, this can create a partial vacuum and affect pump performance. To prevent this, loosen the fill plug (7) and let air into the reservoir.
- If the PV 212 has not been used for a period of time, it may be difficult to operate on the first stroke. It will become free after this.
- For seal replacement refer to the service kit instructions.
If, for any reason, a fault occurs within the pump, it is recommended that the equipment be returned to an appointed agent.
General Specification
INFORMATION Hydraulic fluids must be compatible with stainless steel, anodized aluminum, nitrile rubber, PTFE, polypropylene, Delrin, acrylic and nylon.

Returned Goods Procedure
If the unit requires calibration or is unserviceable, return it to the nearest Druck Service Centre listed at: Druck.com Contact the Service Department to obtain a Return Authorization (Worldwide excluding USA). In the USA, obtain a Return Material Authorization [RMA]. Provide the following information on either a RGA or RMA:
- Product (i.e. PV 212)
- Serial number
- Details of defect/work to be undertaken
- Operating conditions
Safety Precautions
INFORMATION Service by unauthorized sources will affect the warranty and may not guarantee further performance. You must inform Druck if the product has been in contact with any hazardous or toxic substance. The relevant COSHH or in the USA, MSDS, references and precautions to be taken when handling.
Approved Service Agents
- For the list of service centers:
- Druck.com

















