Led2 LIGHTING STEP ON Q S/L Exterior Wall LED Lamp Instruction Manual
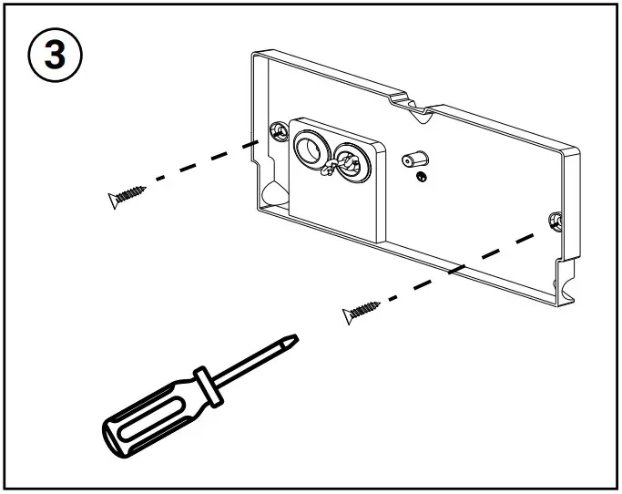
The installation may only be carried out by a technician
This product contains a light source of energy efficiency class G
Instruction






CAUTION!
Turn off the main power before proceeding with the installation in order to prevent possible shock. The installation may only be carried out by a technician or a qualified person. If the lamp has a lampshade/diffuser, handle it carefully as it is fragile. With an integrated LED light source, only a technician or a qualified person can make the replacement. The manufacturer is not responsible for the incorrect use and assembly of its products.



















