
Flush Mount
Montaje empotrable
Montage affleurant
Before Getting Started
Read the instructions carefully prior to assembling the product.
When you open the package with a sharp tool like a cutter knife, be careful not to damage thecomponents inside. Carefully remove all packaging materials and retain for future use.
Keep all hardware parts and packaging out of reach of small children.
Choose a clean, level, spacious assembly area.Avoid hard surfaces that may damage the product.
Ensure that you have all required contents for complete assembly.
Take care when lifting. Assemble the product inclose proximity to where you intend to positionthe item.
Do not over tighten the screws and bolts as this may damage the threads.
When you have finished assembling the product, place it on a flat surface and make sure it is stable before use.
Do not let children play with this product.
DANGER
Risk of suffocation! Keep any packagingmaterials away from children.
Cleaning & Maintenance
Keep the product away from direct heat and sunlight.
Prolonged exposure to heat sources may cause glazing, melting and scorching, or even cause color to fade.
Regular vacuuming or light brushing helps to remove dirt and prevent soil build-up, which increases the appearance wear.
Periodically (every 90 days) make sure that the screws are fully tightened.
Lamp Care Instructions
Carefully read through the instruction sheet before assembly and using the product.
Caution there is a risk of shock. Disconnect from power source before assembling or cleaning.
Switch off, unplug and allow bulb to cool before replacing bulb or cleaning.
Use a soft clean dry cloth that will not scratch or smudge the surface when cleaning.
Only use the recommended bulb type and do not exceed the maximum wattage as it could cause fire.
Electrical Installation
FIG. 1 Place the wall switch to the “OFF” position.
Depending on which type of fuse box you have in your home:
FIG. 2 Place either the main (Master) switch to the “OFF” position, cutting off power to your entire home ; OR turn off the individual switch that provides power to where the fixture will be installed.
OR FIG. 3 Place either the main (Master) switch to the “OFF” position, cutting off power to the entire home; OR unscrew the fuse that provides power to where the fixture will be installed.
ELECTRICIAN TO ENSURE CORRECT
Contents
Before getting started, ensure the package contains the following components:
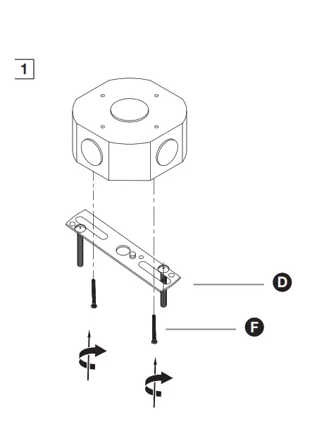
Assembly
![]() | ![]() |
![]() | ![]() |





















