![]()
HUGHES 300
6 AXIS GYRO 4 CHANNEL HELICOPTER

| Altitude Control | Auto Take Off + Landing | 6 Axis Gyro |
| 2.4Ghz | LiPo | RTF |
SAFETY INSTRUCTIONS
Please read the manual before start playing. This helicopter is not a toy and not suitable for children under 14 years of age. Only fly in open areas with no obstacles, away from any spectators and animals. Rotating propeller can cause severe injuries. Keep away from rotating propellers and protect your eyes with adequate protection. Always keep safety distance to the flying helicopter. When not in use, always unplug the battery and store in fireproof, cool and dry places. Only use the supplied charge lead to charge the battery. Always keep batteries away from children. If swallowed, call medical help immediately. Do not dismantle batteries, do not throw in fire and do not expose in heat and/or sunlight.

KIT CONTENT

(1) Helicopter (4) USB Charge Lead
(2) Radio Transmitter (5) Tools
(3) LiPo Battery (6) Instruction Manual
Radio Transmitter Functions

- Power Indicator LED
- Press button while TX power-on to change control mode 1 or 2.
- On/Off Power Switch
- Forward, backward, left, right (Mode 2)
- Fine tuning
- hoch / niedrig
- Up, down, left, right rotation (Mode 2)
- Press 3 seconds for emergency stop.
Short Press for auto take off or auto landing.
Control sticks work in opposite matter, when Mode 1 is active.
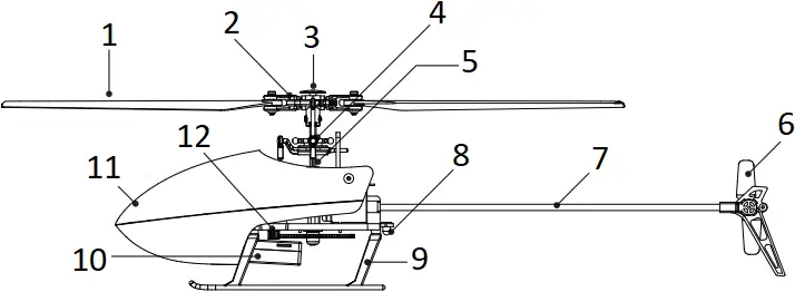
Parts Description

- Rotor Blade
- Rotor Clip
- Rotor Head
- Swash Plate
- Center Shaft
- Tail Rotor
- Tail Rod
- LED
- Landing Gear
- Battery Board
- Canopy
- Main Motor
Charge Battery
Lipo Battery can be charged at your PC’s USB port.

- Red LED
1. Plug USB charge lead into PC
2. Connect LiPo battery to charge lead, red light = charging, no light = charging completed
Charge Lead can also be plugged into a mobile phone power supply or Power Bank, to charge the battery.
Flight Preparations
Make sure flight battery and transmitter batteries are full.
Choose a flying area which is free of obstacles, apart from traffic, spectators and power lines. Rotor blades should move freely and not tighten too much, otherwise the helicopter can cause vibrations. For emergency situations, you can press the emergency button (left top side) on the radio transmitter for 3 seconds which will cause the motors to stop. If emergency stop is performed during flight, it may cause crashing.


- Slide Battery lid to open
- Push
- Radio Transmitter
- 4 x AA MIGNON Batteries
- Battery lid
Steering Functions
Throttle

- Throttle up
- Climb

- Throttle down
- Decend
Rudder

- Rudder left
- Nose yaws left

- Rudder right
- Nose yaws right
Elevator

- Stick forward = Forward

- Stick backwards = Backwards
Aileron

- Elevator left = move left sideways

- Elevator right = move right sideways
Starting Procedure
- Turn on transmitter with helicopter standing nearby.
- Attach LiPo battery to Helicopter.
- LED lights on Helicopter and Transmitter are blinking. Transmitter makes acoustic signal and lights are always on, binding successful.
- Pull both joysticks to outer angles downwards to start helicopter. You can also press the one-key auto take off button.
- To land the helicopter, pull back throttle for 3 seconds and then release until motors stop. You can also use the auto land function by pressing the auto land button on your radio transmitter.

Corresponding Corresponding Corresponding
to Step 1 to Step 3 to Step 4

- Corresponding to step 2
Beginners should pay attention to the direction of flight.

- Forward Flight
- Keep safe distance > 2 Meters
Fine tuning – Adjustment
If the Helicopter has yaw problems during hovering, it can be fine tuned using the trimming buttons on the radio transmitter during flight.
| Forward Backward | ![]() | ![]() | Fine tuning according direction of arrow |
| Left Right | ![]() | ![]() | Fine tuning according direction of arrow |
| Side | ![]() | ![]() | Fine tuning according direction of arrow |
| Fine Tune |
![]()
|
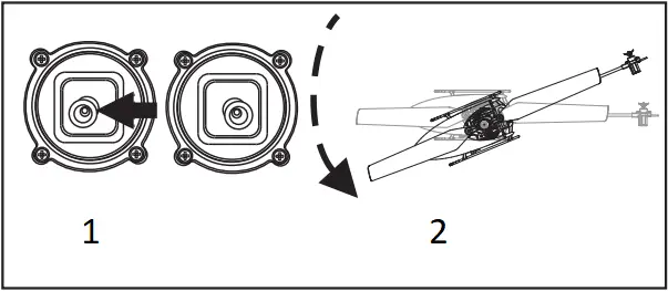
Gyro Calibration

To calibrate Gyro Sensors place Helicopter on leveled surface. Pull both control sticks to down left position. LED on helicopter flashes fast, then acoustic signal. If LED on Helicopter lights up, calibration is finished.
Spare Parts and Service
Spare parts for this product are available. Please ask your dealer or visit www.shop.pichler.de
| # 15036
| # 15037
| # 15038
| # 15041
|
| Spare Parts Bag (A) | Spare Parts Bag (B) | Spare Parts Bag (C) | Spare Parts Bag (D) |
| # 15040
| # 15492
| # 15045
| # 15046
|
| LiPo Battery 300 – 3,7V | Rotor Blades | Elektronik Board | Radion Transmitter |
| # 15042
| # 15039
| # 15044
| # 15492 yellow # 15493 red ![]() |
| Tail Rotor Complete | Servo | USB Charge Lead | Canopy |
HUGHES 300
Freitag, 5. August 2022 08:39:29





































