
Operating Instructions
3-CH Helicopter 2.4 GHz RtF
Item No. 2282651

Introduction
Dear customer,
Thank you for purchasing this product.
Important
Keep these operating instructions for reference and provide them together with the product to any third party.
This product complies with the statutory national and European requirements.
To maintain this status and to ensure safe operation, you as the user must observe these operating instructions!
If there are any technical questions, please contact: www.conrad.com/contact
Explanation of symbols
The symbol with the exclamation mark in the triangle is used to indicate important information in these operating instructions. Always read this information carefully.
The arrow symbol indicates special information and advice on operation.
Intended use
The product is a ready-to-fly remote-controlled mini helicopter.
The model is intended for indoor use.
It is suitable for persons aged 8 years or older.
Contact with moisture must be avoided under all circumstances.
For safety and approval purposes, you must not rebuild and/or modify this product. If you use the product for purposes other than those described above, the product may be damaged. In addition, improper use can result in short circuits, fires, electric shocks, or other hazards. Read the instructions carefully and store them in a safe place. Make this product available to third parties only together with its operating instructions.
All company names and product names are trademarks of their respective owners. All rights reserved.
Delivery content
- Helicopter
- Transmitter (remote control)
- 1x Spare tail blade
- 2x Main rotor blades (1x A, 1x B)
- 1x Spare connecting rod
- 1x LiPo Battery
- USB charging cable
- Mini screwdriver
- Safety sheet
- Operating instructions (on CDROM)
Up-to-date operating instructions
Download the latest operating instructions at www.conrad.com/downloads or scan the QR code shown. Follow the instructions on the website.

Features and functions
- Built-in gyroscope
- LED sidelights and headlight
- Coaxial rotors
- Rotor blades contact shut-off
- Ready to fly
Spare parts
Visit www.conrad.com and search Item No. for information about any optional accessories, spares, or replacement parts.
Only use genuine spare parts.
Safety instructions
Read the operating instructions carefully and especially observe the safety information. If you do not follow the safety instructions and information on proper handling in this manual, we assume no liability for any resulting personal injury or damage to property. Such cases will invalidate the warranty/guarantee.
| Before use | • Choose a suitable location. • Check the surroundings for possible hazards or obstacles. • Check that parts are properly attached and not damaged. See section “d) Preflight check” on page 12. • Check the transmitter batteries have sufficient charge before flying. • Turn ON the transmitter first, and then turn ON the model. This will prevent loss of control. |
| During use | • Always keep the transmitter on while the model is in operation. • Always keep your eye on the model. |
| After use | • Turn OFF the model first, and then turn OFF the transmitter. This will prevent loss of control. |
Caution, safety hazard!
This model has the potential to cause damage to property and/or harm individuals. Ensure that you are sufficiently insured, e.g. by taking out private liability insurance.
If you already have a policy, check with your insurance company that the use of this model is covered by the policy.
a) General information
- Do not leave packaging material lying around carelessly. This may become dangerous playing material for children.
- Protect the device from extreme temperatures, direct sunlight, strong jolts, high humidity, moisture, flammable gases, steam, and solvents.
- Do not place the product under any mechanical stress.
- If it is no longer possible to operate the product safely, take it out of operation and protect it from any accidental use. The safe operation can no longer be guaranteed
if the product:
– is visibly damaged,
– is no longer working properly,
– has been stored for extended periods in poor ambient conditions or
– has been subjected to any serious transport-related stresses.
• Please handle the product carefully. Jolts, impacts, or a fall even from a low height can damage the product.
• Consult an expert when in doubt about the operation, safety, or connection of the device.
• If you have questions that remain unanswered by these operating instructions, contact our technical support service or other technical personnel.
Battery information and safety
a) General information
- Do not leave any batteries/rechargeable batteries lying around. There is a risk of batteries being swallowed by children or pets. If swallowed, consult a doctor immediately!
- Batteries/rechargeable batteries must never be short-circuited, disassembled, or thrown into the fire. There is a danger of an explosion!
- Batteries/rechargeable batteries must not get damp or wet.
- Always observe the correct polarity (plus/+ and minus/-) when installing/inserting batteries.
- Leaking or damaged batteries/rechargeable batteries can cause chemical burns to the skin. Wear suitable protective gloves when handling them.
- Liquids leaking from batteries/rechargeable batteries are chemically highly aggressive. Objects or surfaces that come into contact with them may take severe damage. Therefore, keep batteries/rechargeable batteries in a suitable location.
b) LiPo (Rechargeable) batteries
- Never damage the rechargeable battery. Damaging the casing of the rechargeable battery might cause an explosion or a fire! Unlike conventional batteries/ rechargeable batteries (e.g. AA or AAA type), the casing of the LiPo rechargeable battery does not consist of a thin sheet but rather a sensitive plastic film only.
- Never short-circuit the contacts of the rechargeable battery. Do not throw the battery or the product into fire. There is a danger of fire and explosion!
- Charge the rechargeable battery regularly, even if you do are not using the product. Due to the rechargeable battery technology being used, you do not need to discharge the rechargeable battery first.
- Never charge the rechargeable battery of the product unattended.
- When charging, place the product on a surface that is not heat-sensitive. It is normal that a certain amount of heat is generated during charging.
c) AA (rechargeable) batteries
- (Rechargeable) batteries should be removed from the device if it is not used for a long period of time to avoid damage through leaking.
- All (rechargeable) batteries should be replaced at the same time. Mixing old and new (rechargeable) batteries in the device can lead to (rechargeable) battery leakage and device damage.
- (Rechargeable) batteries must not be dismantled, short-circuited, or thrown into fire. Never recharge non-rechargeable batteries. There is a risk of explosion!
d) Charging the helicopter battery
- (If provided) only use the provided charger to charge the battery.
- Always remove and completely disconnect the battery from the model before charging.
- Never leave the battery unattended while charging.
- Never cover the charger and the battery when charging is in progress.
- Disconnect the battery from the charger when the battery is fully charged.
- The charger and the rechargeable battery must not get damp or wet. This may result in a fatal electric shock or cause a fire or explosion!
- Do not expose the charger or battery to extremely high/low temperatures or direct sunlight.
- Never use an excessive charging current. Observe the manufacturer’s specifications for the ideal/maximum charging current.
- Keep a sufficient distance between the charger and the battery while charging.
- Do not wear any metal or conductive materials, such as jewelry (necklaces, bracelets, rings, etc.) while you are working with the charger or battery. Shortcircuit poses a danger of burns and explosion.
- When charging, place the battery on a heat-insensitive surface. It is normal that a certain amount of heat is generated during charging.
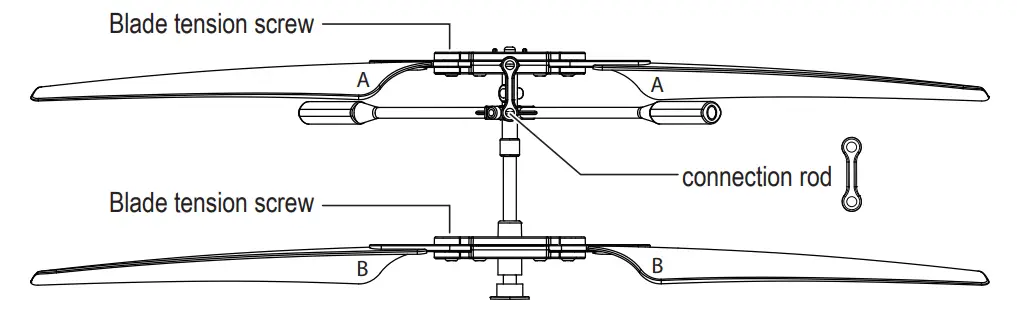
Operating elements
a) Helicopter

- Blade grip-tension screw
- Top rotor blade “A”
- Blade grip-tension screw
- Bottom rotor blade “B”
- Headlight
- Battery cage
- Landing gear
- Connecting rod
- Sidelights
- Battery socket
- Battery plug
- Tail blade
b) Transmitter (remote control)

- Throttle lever
- ON/OFF switch
- Direction/rotate the lever
- Trim: Left
- LED status indicator
- Headlight ON/OFF
- Trim: Right
- Battery compartment (rear)
Getting ready for the flight
a) Charge the helicopter battery
Important
- Only use the included charger to charge the battery pack. Disconnect the battery and remove it from the helicopter before charging.
- USB power source: Before connecting, make sure that the USB power source can deliver sufficient current, otherwise you may damage the source. Do not use a USB
port of a computer, keyboard or USB hub without a power adapter as the current supplied by these ports is insufficient.
Connect one end of the charger to the battery charging connector and the other end to a suitable power supply capable of delivering 5 V/DC 1000 mA via USB A.
| Charger LED | Description |
| On | Fully charged |
| Off | Charging |

b) Insert the transmitter batteries
- Use a plus head screwdriver to open the battery compartment.
- Insert 3x AAA batteries, and match polarities as shown inside the compartment.
- Replace the cover.
Use new batteries if the LED blinks slowly after switching it on.

c) Insert the helicopter battery
- Slide the battery into the battery cage and check that it is secure.
- Do not connect the battery plug to the helicopter battery socket until you are ready for
takeoff.
d) Preflight check
Loose, damaged, or missing parts can result in loss of control and further damage. To prevent this perform a preflight check:
- The battery pack is properly inserted.
- Propeller blades are not damaged.
- Blade grip tension is correct.
- Connecting rods are not damaged or missing.
- The tail blade is not damaged or missing.
See chapter “14. Repairs and maintenance” on page 17.
Flying the helicopter
Important
- Please complete the steps outlined in “11. Getting ready for flight” on page 11.
- Any time you disconnect the helicopter battery, switch the transmitter power off then repeat the pairing process described in “b) Taking off” on page 15.
- Stand at least 2 m away during takeoff.
- There should be ≥2 m clearance from obstacles in all directions before taking flight.
a) Controls
The helicopter will not automatically hover, use the throttle lever to control the height.
Transmitter | Flight | Description |
![]() | Ascend: Throttle lever up. | |
| Descend: Throttle lever down. | ||
| Rotate left: Direction lever left. | ||
![]() | Rotate right: Direction lever right. | |
| Forward: Direction lever up. | ||
| Reverse: Direction lever down. | ||
Throttle lever maximum down until the helicopter lands and the propellers stop spinning. | ||
b) Taking off
- Pull the throttle lever all the way down and leave it there.
- Switch the transmitter ON.
– The LED will blink slowly while waiting to connect to the helicopter.
– A beep will sound and the LED will be solid when successfully paired. - Switch the helicopter ON.
– Insert the battery plug into the socket on the helicopter to switch it ON.
– The headlight will blink slowly - Place the helicopter on a horizontal surface, facing away from you, and then step back at least 5 meters.

- Unlock the helicopter.
– Push the throttle lever all the way up (the LED will flash more quickly than light solid).
– Pull the throttle lever all the way down (a long beep will sound). - The helicopter is now ready for flight.
- Push the throttle lever up slowly to take flight.

c) Landing
- Make sure the landing area is clear, then slowly pull the throttle lever down until the helicopter touches the ground.
- Pull the throttle lever down all the way to stop the blades from spinning.
- Disconnect the helicopter battery.
d) Crash protection
If the helicopter blades collide with an object during flight, the propellers will stop spinning and the helicopter will automatically power off to avoid damage or injury. To resume flight:
- Disconnect the helicopter battery.
- Switch the transmitter OFF.
- Perform preflight checks. See “d) Preflight check” on page 12.
- Take off again. See “11. Getting ready for flight” on page 11.
e) Low helicopter battery
- Charge the helicopter battery if you hear a beeping sound and the helicopter LED blinks.
- If the battery runs out during use, the helicopter will slowly descend to the ground.
f) Adjust the trim
Adjust the trim if the helicopter spins left or right on its own.
- Press once for small adjustments, press and hold for rapid adjustments.
- If there are no beeps it means you have reached the maximum number of adjustments.
- The default trim setting is indicated by a long beep. E.g. Pressing the left trim button 5x, then pressing the right trim button 5x will take you back to the default setting.
- settings will reset each time the helicopter and transmitter are powered off.
| Flight | Problem | Trim adjustment |
![]() | Helicopter spins right | Press the left trim button The helicopter stops spinning right. |
| Helicopter spins left | Press the right trim button |
Finished flying
- Land the helicopter.
- Disconnect the helicopter battery.
- Turn the transmitter power OFF.
Repairs and maintenance
Important
- Always replace damaged blades. Attach new blades in the correct position (see below). Top blades = A, Bottom blades = B.
- Be careful not to damage parts when removing the tail blade or connecting rod.

a) Replace propeller blade(s)
- Release the blade tension screw for the affected blade(s).
- Each blade is marked with the letter “A” or “B”. Replace the damaged blade with the correct letter.
- Replace the blade tension screw, making sure the blade tension is correct.
Blade tension: Slowly tighten the screw stopping at the point where the blades do not “hang down” when the helicopter is tilted on its side. Then slowly release the screw tension until the blades hang down freely without friction.
b) Replace tail blade
- Pinch the tail blade and carefully pull straight up and off as shown.
Important
Grip the base of the tail with your other hand and do not use excessive force. - Push the new tail blade in all the way.

c) Replace the damaged connection rod
- Pinch the damaged connection rod at the sockets, and pop it off the ball joints.
- Pop the new connector rod sockets into the ball joints
Care and cleaning
Important
Do not use aggressive cleaning agents, rubbing alcohol, or other chemical solutions as they can cause damage to the housing and malfunction e.g. damage to electronics and discoloration of the body.
- Before cleaning or servicing, remove the battery. Let all parts cool down completely.
- Remove all dust and dirt e.g. with a long-haired clean brush or compressed air.
- A soft cloth, slightly dampened, can be used to wipe the body.
Troubleshooting
| Problem | Cause | Suggestion |
| The helicopter does not respond. | The helicopter is locked. | Unlock the helicopter. See section: “b) Taking off’ on page 15. |
| No battery. | Recharge the battery. | |
| Propellers keep spinning after landing. | Throttle lever not held in max. down position. | Hold the throttle lever at the maximum down position until the propellers stop spinning. |
| Cannot lift off. | Propellers not Installed correctly | See section: “14. Repairs and maintenance” on page 17. |
| Helicopters cannot fly after crashing | Loose tail blade. | Check that it is inserted all the way. Push it in if needed. |
| Damaged tail blade(s). | See section: “14. Repairs and maintenance” on page 17. | |
| Crash protection has been activated. | See section “d) Crash protection” on page 16. |
Declaration of Conformity (DOC)
Conrad Electronic SE, Klaus-Conrad-Straße 1, D-92240 Hirschau hereby declares that this product conforms to the 2014/53/EU directive.
Click on the following link to read the full text of the EU declaration of conformity:
www.conrad.com/downloads
Select a language by clicking on a flag symbol and entering the product order number in the search box. You can then download the EU declaration of conformity in PDF format.
Disposal
a) Product
Electronic devices are recyclable waste and must not be disposed of in the household waste. At the end of its service life, dispose of the product in accordance with applicable regulatory guidelines.
Remove any inserted (rechargeable) batteries and dispose of them separately from the product.
b) (Rechargeable) batteries
You as the end-user are required by law (Battery Ordinance) to return all used (rechargeable) batteries. Disposing of them in household waste is prohibited.
Contaminated (rechargeable) batteries are labeled with this symbol to indicate that disposal in domestic waste is forbidden. The designations for the heavy metals
involved are: Cd = Cadmium, Hg = Mercury, Pb = Lead (name on (rechargeable) batteries, e.g. below the trash icon on the left).
Used (rechargeable) batteries can be returned to collection points in your municipality, our stores, or wherever (rechargeable) batteries are sold.
You thus fulfill your statutory obligations and contribute to the protection of the environment.
Technical data
Helicopter
Speed ………………………………………max. 15 km/h
Rotors ……………………………………… Main: ø225 mm, tail: ø32.5
Dimensions (W x H x D) ……………..48.5 x 120 x 290 mm
Weight ……………………………………..approx. 70 g (without battery)
Transmitter (remote control)
Power supply …………………………….3x 1.5 V AAA batteries
Frequency range ……………………….2.400 – 2.475 GHz
Transmission power……………………4 dBm
Transmission range ……………………40 – 45 m (open area)
Channels ………………………………….3
Dimensions (W x H x D) ……………..100 x 63 x 150 mm
Weight ……………………………………..approx 100 g
Helicopter battery
Rechargeable battery …………………LiPo, 3.7 V 300 mAh
Type …………………………………………DS702030
Charging time ……………………………approx. 50 min
Flight time …………………………………approx. 6 mins
Dimensions (W x H x D) ……………..20 x 35 x 7 mm
Weight ……………………………………..8.9 g
USB charging cable
Input…………………………………………5 V/DC 1000 mA via USB-A
Output ………………………………………4.2 V/DC 440 mA
Cable length ……………………………..57 cm (including plug)
This is a publication by Conrad Electronic SE, Klaus-Conrad-Str. 1, D-92240
Hirschau (www.conrad.com).
All rights including translation reserved. Reproduction by any method, e.g. photocopy, microfilming, or capture in electronic data processing systems requires prior
written approval by the editor. Reprinting, also in part, is prohibited. This publication represents the technical status at the time of printing.
Copyright 2021 by Conrad Electronic SE.
2282651_v3_0121_02_dh_m_en























