EC-135 ÖAMTC Scale RC Helicopter Electric RTF
User Manual
Introduction
Thank you very much for choosing this product. It has been produced, tested and packaged with care in accordance with the applicable European regulations. Please unpack the contents carefully. Please check immediately upon receipt whether all parts included in the scope of delivery are present and whether there is any transport damage. If there is cause for complaint, please contact us immediately.
Safety instructions
Please read all enclosed instructions carefully before assembly and first use! You will receive important instructions for the use of the product. Keep these instructions for information or for ordering spare parts. If you are operating remote-controlled model airplanes, helicopters, cars or ships for the first time, we recommend that you ask an experienced model pilot for help.
- recommended age of users: Not suitable for children under 14 years old.
- make sure you have enough space to operate the product.
- follow the instructions and warnings to avoid any damage.
- it must be kept away from chemicals. Small parts and electrical equipment must be out of the reach of children.
- keep it away from water as this product has no waterproof function.
- do not put any parts into the mouth as it may cause injury or death.
- do not operate the model when the battery of the transmitter has low voltage.
- do not look into the beam of the light emitting diodes, as this will impair your eyesight.
- the motor and electrical equipment become hot after flight. Please do not touch them to avoid burns.
- do not reach into the rotor blades during operation to avoid injury.
- do not fly in wet weather or rain
- observe the necessary safety distance to buildings and people
- perform a functional check before each flight, failure to do so will void the warranty/guarantee.
- pay attention to the special instructions for charging the batteries, there is a risk of fire.
Spare parts
If you need spare parts for your helicopter, please use our spare part numbers when ordering. You can find them in the following list:
| Item Number: | Spare Part: |
| 291332 291333 291336 291339 295338 295772 295773 295819 295821 295822 295823 295824 295825 295826 295827 295828 295829 295830 295831 295832 | MODSTER BO 105/EC-135: spindle screw MODSTER BO 105/EC-135: swashplate and control rods MODSTER BO 105/EC-135: motor MODSTER BO 105/EC135: main gear MODSTER BO 105/EC135: Remote control version 2022 HB MODSTER EC-135 ÖAMTC Flybarless Elektro RTF HB MODSTER EC-135 Police Flybarless Elektro RTF MODSTER EC-135: rotor head MODSTER EC-135: sheet holder MODSTER EC-135: battery pack MODSTER EC-135: landing gear MODSTER EC-135: tail rotor blades MODSTER EC-135: rear engine MODSTER EC-135: LED tail MODSTER EC-135: rotor blades MODSTER EC-135: flight controller MODSTER EC-135: fuselage cell police MODSTER EC-135: ÖAMTC MODSTER EC-135: screw set MODSTER EC-135: main frame |
Package contents
Before you start building, please check the parts for quality and completeness. If any part is missing or damaged, or if you have any questions, please contact us:
MSG Online Ltd.
E-mail: [email protected]
Web: www.modster.at
Business Park 9 A-8530 Deutschlandsberg
Phone: +43 (0) 3462 2541 -100
Fax: +43 (0) 3462 2541 310
Battery
– Keep the battery pack away from children.
– Be careful when handling battery packs with high cell counts. It is essential to ensure good insulation, there is a risk of electric shock.
– Do not allow leaking electrolyte to come into contact with fire, it is highly flammable and can ignite. In the event of an explosion or fire, never extinguish the batteries with water. Only extinguish with dry extinguishing agent (sand, etc.) or smother the flames by covering.
– The electrolyte liquid should not get into the eyes, if it does, wash it out immediately with plenty of clean water and then consult a doctor.
– The electrolyte fluid can also be washed off clothing and other objects with plenty of water.
– Do not expose lithium batteries to excessive cold or heat and direct sunlight. Do not heat the battery, throw it into a fire or place it in the microwave. Charge and store batteries in a fireproof container or lithium safe (e.g. AN-262582).
– Do not subject battery to pressure or impact, deform or throw. Protect from accident or fall. Never use damaged batteries and dispose of them properly.
– Never place the charger or connected batteries on flammable or conductive surfaces. Never operate in the vicinity of flammable materials or gases. Charging the battery in the model can cause the model to burn down in case of a defect! Do not leave the battery unattended during the charging-discharging process or during operation. Read the charger instructions carefully before charging.
– Do not charge batteries which are strongly heated or undercooled. Allow batteries to cool down to approx. 20-30°C or warm them up before charging.
– Only cells of the same capacity and make may be charged together.
– Make absolutely sure that the polarity of the batteries is correct and prevent short-circuits, especially through non-insulated connector systems.
– In case of contact with water or penetration of moisture into the battery, there is a risk of explosion due to short-circuiting.
– Do not charge with reverse polarity.
– Do not solder directly to the battery.
– Do not modify or open battery.
– Do not charge batteries above 4.2 volts (+/-0.05V) per cell and do not discharge below 3 volts per cell.
– Charge batteries only with suitable lithium battery chargers with connected or built-in equalizer/balancer, never connect directly to a power supply.
– Do not use the battery in locations subject to high static discharge.
– All this can cause the battery to be damaged, explode or catch fire.
– Never charge batteries unattended!
– Never charge, store or keep the battery in the model or inside a car.
Charging procedure
Only use chargers that have been expressly approved by the manufacturer for use with lithium batteries. Lithium batteries can only be charged using the CC-CV charging procedure. Make sure that the charger is correctly selected. In the first charging phase, the charger keeps the charging current constant. With a charging current of 1C and a discharged battery, this first phase takes approx. 50- 60 minutes. A battery capacity of approx. 80-90% is charged. When the end-of-charge voltage of 4.2 volts/cell is reached, only the voltage is kept constant and the charge current drops. A further 35-40 minutes are required to charge the remaining capacity. If the value reaches the lower current limit of approx. 5-10% of the specified charging current, the charging process is switched off by the charging device. At a charge rate of 1C, this means that the entire charging process takes approx. 90 minutes when the battery is discharged. A lower charging current of 0.3-0.5 C is recommended for the first charging process. This measure facilitates balancing and increases the service life of the battery.
Voltage sensor cable
Due to different cell temperatures during the discharge process, the individual cells gradually acquire different charge states and voltage levels. The total charge voltage applied is then not distributed evenly across the individual cells, which means that cells with a higher voltage level can be overcharged.To measure the individual cell voltage, the lithium batteries have a separate plug connection (voltage sensor cable), from which a cable leads to each individual cell.The black cable (Pin1) is the negative terminal of the first cell, Pin2 the positive terminal. The next contact in each case is the respective positive pole of the subsequent cell. Connect the voltage sensor cable to the Equalizer/Balancer connector on the charger for charging, which conveniently and automatically brings all cells to the same voltage value at the same time. In addition, the voltage of each individual cell is monitored.
Technical data:
Rated voltage: 3.7 volts/cell
Low charge rates protect the battery, high charge rates reduce the number of cycles by approx. 10%.
End-of-charge voltage: 4.2 volts/cell (to be maintained to within 0.05 volts)
Discharge rate / discharge current:
Depending on battery type, e.g. a 25C battery can be discharged at a constant rate of 25C (25 times the rated capacity in Ah), and for a short time (for 3 seconds) up to 50C (twice the constant discharge rate).
Examples: 25C (discharge rate), means capacity value x C rate = discharge current.
25C-battery with 1000mAh (1Ah) x 25C = 25A discharge current continuous/50A short time
30C battery with 1000mAh (1Ah) x 30C = 30A discharge current duration/60A short-term
45C battery with 1000mAh (1Ah) x 45C = 45A discharge current duration/90A short-term
End of discharge voltage:
Lithium cells should be disconnected under load, at the latest at about 3 volts /cell. If the voltage falls below the limit, the cell may be destroyed, explode and start to burn. Maximum temperatures
Charging: +45°C, discharging +60°C
Temperature behavior
Lithium cells have a distinct temperature curve.
At temperatures below 10…15°C the removable capacity is significantly lower than at 20…35°C. Even at higher temperatures (above 35…40°C) the removable capacity is noticeably lower.
The maximum external cell temperature should not be exceeded during both charging and discharging, otherwise the cell will suffer permanent damage in the form of capacity loss. If exceeded for a longer period of time, it will be destroyed and may explode and start to burn.
Self-discharge:
Lithium cells have an extremely low self-discharge rate (about 0.2% per day) and therefore can be stored for long periods without problems. If the voltage drops below 3 volts/cell, it is essential to recharge.
Deep discharge must be avoided, otherwise the cell will suffer permanent damage in the form of capacity loss and render the battery pack unusable.
Storage:
Before longer storage, the batteries should be charged to the storage voltage of approx. 3.8…3.9 volts/cell. After approx. 3-5 months they should be recharged. Never store or keep fully charged but only fully charge immediately before use. Store batteries in a fireproof lithium safe or tested lithium bag. Store and keep at room temperature (1722°C). Lifetime:
The theoretical life of a cell at low discharge currents, is approximately 500 charge/discharge cycles. At medium discharge currents, the lifetime is lower and is only about 300 cycles. At high discharge currents, the number of cycles is in the range of 150-200 cycles. At very high discharge currents even significantly lower.
After that, the battery is used up and must be disposed of. If the lithium batteries are only discharged to approx. 7075% during operation, they will thank you with a longer service life. Stop operation before a noticeable loss of power becomes apparent. Disconnect the battery from the load after operation to avoid further discharge.
Memory effect, cell capacity
Since lithium cells have no memory or lazy-battery effect, the discharge-charge (cycling, matching) required for NC and NiMH batteries is not necessary. Discharging before charging should also be avoided. Since the capacity of the lithium battery decreases slightly with each charge, this would cause unnecessary loss of capacity to the cell. Interconnecting battery packs
Interconnecting lithium cells in series or parallel to increase voltage or capacity is problematic because of the differences in charge voltage and capacity. Only selected cells can be connected together to form a battery pack. For our lithium battery packs, only selected cells are connected together to form a battery pack.
Disposal of rechargeable batteries
Never dispose of rechargeable batteries in the household waste. To protect the environment, give defective or used batteries only discharged to the appropriate collection points. These are all sales points for batteries and rechargeable batteries, or municipal special waste collection points. To avoid short circuits, please tape off any bare contacts with adhesive tape.
Disclaimer
Since MODSTER cannot supervise the handling of the batteries, any liability and warranty is excluded.
Important Note
– Please read the manual to learn the function of this product before operation. Damage to the product and potential personal injury may occur if you make an operational error.
This is a RC helicopter, not a toy. You should not only have a prudent operation, but also to have an operational basis. All children using it should be under adult supervision. The manual includes safety, operation and maintenance. In order to avoid causing damage or serious injury, please obey the instructions and warnings before you using this product.
Additional Safety Precautions And Warnings
- Recommended age of users: Not suitable for children under 14 years old.
- Operate it in an open space, away from the traffic and people.
- Obey the instructions and warnings, includes the use of optional equipment.
- It has to stay away from chemicals. Small parts and electric equipment must be out of the reach of children.
- Keep away from water because this product has no waterproof function.
- Do not put any parts in the mouth, it will cause injury or death.
- .Don’t operate the model if the transmitter’s battery is in low voltage.
- Don’t view the beam of the light emitting diodes, it would effect the eyesight.
- The motor and electric equipment will be heat after flight. Please do not touch them to avoid scald.
- In order to avoid causing damage, please do not touch the high-speed.
Warning and the Guide of Using Battery
![]()
Note: Using the original factory USB charger can ensure charging safety. Suggest you use the original factory USB charger part, other chargers may cause battery- and property damage.
Warnings! The battery will fire, explode or leak if not strictly observing this item described below. :
- Do not immerse the battery in water or seawater, and keep the battery in a cool dry environment during stands by period.
- Keep all batteries out of the reach of little children. Consult a doctor immediately if a battery is swallowed.
- Do not use or leave the battery near a heat source such as fire or heater.
- Use the battery charger specifically for that purpose when recharging.
- Do not reverse the positive (+) and negative (-) terminals.
- Do not connect the battery to an electrical outlet.
- Do not dispose the battery in fire or heat.
- Do not short-circuit the battery by directly connecting the positive (+) and negative (-) terminals with metal objects such as wire.
- Do not transport or store the battery together with metal objects such as necklaces, hairpins etc.
- Do not strike or throw the battery against hard surface.
- Do not directly solder the battery.
- Do not unpack the battery with a nail or other sharp object.
- Never disassembling the battery in any way.
Note: The battery can not be placed for a long time under full power and low power. Otherwise, the battery will not be charged or the battery will be wrapped. For long-term storage, please charge the battery to 3.7V and store it in a dry and safe place.
Helicopter Parameters
| Length: | 235 mm |
| Height: | 80 mm |
| Weight: | 98G |
| Propeller length: | 256 mm |
| Battery Specifiication: | 380 mAh |
| Flight Time: | About 15 min. |
| Main Motor: | 1020 |
| Tail Motor: | 720 |
| Charge Time: | About 45 min. |

Packaging List

- Remote Control
- Lipo battery
- USB charger
- Helicopter
- Phillips screwdriver+hex wrench
- Upper connecting rod /Propeller / tail rotor
- Instruction manual
Introduction of transmitter function

Parts

Batteries Charging Method
Charging Method 1:
Charging Battery by the USB port on a computer.
LED ON when charging, LED OFF when charging finished
Description:
- Connect the USB charger with USB port.
- Connect the battery with USB charger: LED on when charging, LED OFF when charging finished
Charging Method 2:
Charging Battery by power supply adapter.
Description:
- Connect the USB charger with power supply adapter.
- Connect the battery with USB charger: Blue light ladder flashes while charging Fully charged, four lights on
Charging Method 3:
Charging Battery by power bank.
Description:
- Connect the USB charger with power bank .
- Connect the battery with USB charger: Blue light ladder flashes while charging Fully charged, four lights on
First Flight Preparation
CAUTION
- ensure suffcient power supply of the transmitter and helicopter.
- Keep a flight in a suitable space which away from the traffic, people, electricity pylons and pool.
- Do not lock the main rotor screws too tightly to keep folding smoothly. If the main rotor screws are too tight, the helicopter will shake when flying.
- Under emergency situation, you can press ,,sharp stop” button for 3″ to land the helicopter without rotating.
Note: this acticon may cause helicopter crash.)
Installation method of remote controller battery

Direction of operation
If you are unfamiliar with the control of the BO-105, take time to familiarize it before your first flight.

Flight Operation Steps
- Turn on the transmitter and let helicopter stay near to transmitter.
- Install the aircraft battery in the battery compartment safely and securely. Press the power switch for 2 seconds to turn on the aircraft power.
- The lights of the helicopter and the remote control flash at the same time. Then push the throttle stick from top to bottom quickly. The remote control makes a ,DI` sound, and the indicator lights of the helicopter and remote control are always on, which means binding successful.
- Pull the two joysticks to outer eight angles to start the helicopter. (You can also press the one-key takeoff button to take off the helicopter directly.)
- Keep the helicopter head forward, and keep safe distance with the helicopter.
- When manually operating the aircraft to land, please keep the throttle stick at the bottom for 2-3 seconds, and then release it after the propeller has completely stopped rotating. (This operation is not required when using the one-key landing function)
Note:
- In order to avoid hitting, do not look at the helicopter at hip level when it fly.
- In order to avoid distractions, please confirm without other transmitters at work around.


Note: Beginner should pay attention to the direction of flight. Keep the head forward to avoid causing injury.
Flight Yaw correction method
Press the triming button when helicopter has yaw problems.
The helicopter has set up hovering. If you are dissatisfied with hovering or the helicopter have a yaw, please follow there steps to adjust.
Take off with the throttle joystick. According the direction of yaw, press the fine-tuning button in the opposite direction until the plane hovering.

Warning Maintain a flying altitude above one meter
Introduction of the corresponding socket of receiver
Gyro calibration method
- When flying yaw, first land and calibrate the gyroscope.
- When calibrating the gyroscope, the aircraft must be placed on a level ground.
- The indicator light will flash quickly during the calibration process, the indicator light stops flashing to take off.
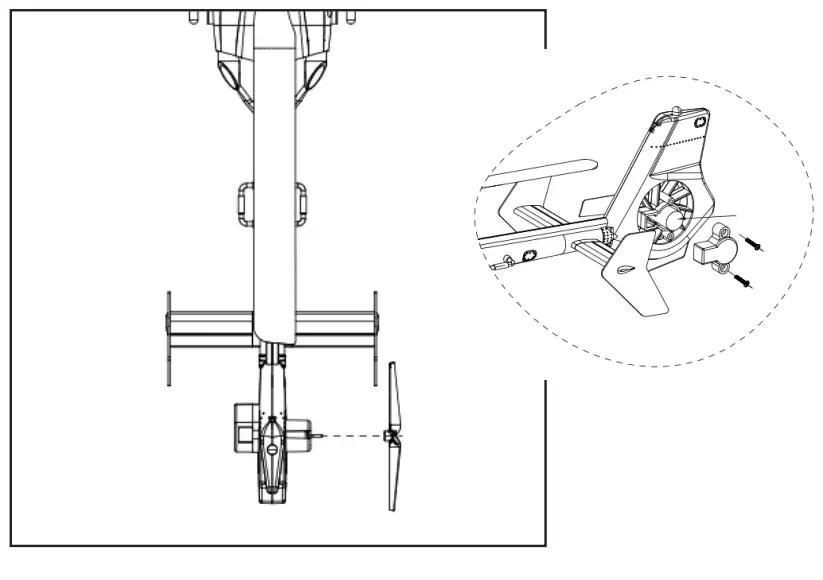
Commonly use parts replacements instructions
Remove the propeller with a hex wrench,
Be careful not to be too tight when installing the new propeller
Unplug the plug, then twist the motor left and right to pull out
First pull out the screw, and then pull out the big gear directly downward. Pay attention to the direction when installing the new gear. The plane of the shaft should be aligned with the plane of the inner hole of the gear.
When removing and replacing the tail rotor, please pay attention to the direction, align the motor shaft and press it slowly to ensure smooth rotation.
Abnormal Problem Solving Method
| Problem | Possible Cause | Solution | |
| 1 | Chopper power on. Taillight on Blinking, no response to operation. | The helicopter without bind with the transmitter. | Bind the transmitter again |
| 2 | After turning on the chopper power switch, the chopper Nothing happened. | Check the power supply of helicopter and transmitter; Check the battery’s voltage of the helicopter and transmitter; Batteries had a poor connecting. | Check the installation site of Transmitter’s batteries; Use full voltage batteries; Install the batteries again; Confirm the batteries have a good connecting. |
| 3 | Push the throttle but the motor not at work, the receiver’s signal light keep flashing | Helicopter’s battery has a low voltage; The lipo battery has a poor connecting. | Charge the battery or change a full charge battery; Connect the battery with receiver again. |
| 4 | Turn on the helicopter after bind, the main blade can rotate but the helicopter can not take off | Chopper battery low, no paddles,Loose or stuck | Charge the battery or replace it with a fully charged one, The propeller will be reinstal- led and turned smoothly. |
| 5 | The helicopter is violently shaking | Main rotor deformed cross shaft bent tail rotor bent Blade clamp screws are too tight to cause the main blade can not rotate | Change the main blade; Change the cross shaft; Change tail rotor; Loose the blade clamp screw. |
| 6 | Helicopter spinning to left after take off. | Tail motor has a poor power; The blades loose; Tail motor was broken. | Check the connection of tail blade and motor shaft. if loose, change tail blade or tail motor. |
| The helicopter has a little yaw: | made a operational error of the trimming button | 1.According to its yaw direction, push the trimming button in the opposite direction; 2.Reset the hovering point. | |
| 8 | The helicopter has a serious yaw. | Check the servo if work properly; Check the swash plate; Check the rod sticks if loosing. |
MSG ONLINE GMBH
Konformitatserklarung gemaf3 Richtlinie Radio Equipment Directive (RED) 2014/53/EU
Declaration of Conformity in accordance with the Radio Equipment Directive (RED) 2014/53/EU
I hereby declare that the product:
MODSTER EC-135 OAMTC Ferngesteuerter Helikopter
MODSTER EC-135 Polizei Ferngesteuerter Helikopter
Product number 295772
(EAN: 4260752718776) 295773
(EAN: 4260752718783)
Complies with the essential requirements and the other relevant provisions of the Directive (RED) 2014/53/EU, when used for its intended purpose.
Manufactured in accordance with the follow ng harmonised standards:
EN 62479:2010
EN 301 489-1 V2.1.1 (2017-02)
EN 301 489-3 V2.2.1 (2017-03)
EN 300 440 V2.1.1 (2017-03)1
EN 62368-1:2014 + All: 2017
EN 62311 Version 2008
Rechtiche Informationen:
RoHS 2-Richtlinie 2011/65 /EU;
RoHS 3-Richtlinie – Anderung 2011/65 / EU-Anhang II 2015/863
Richtlinie 2012/19/EU Ober Elektro- and Elektronik-Altgerate
Hersteller / verantwortliche Person: MSG Online GmbH
Walter Bittdorfer Manufacturer/responsible
Person: Wirtschaftspark 9 8530 Deutschlandsberg, Austria place of issue
Deutschlandsberg (Austria), 10.06.2022 


















