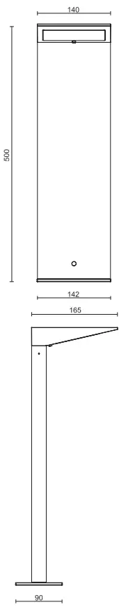
LEVITON Square LED Bollard Light

Installation instructions
Warnings & Cautions
- Do not install in areas that are exposed to continual running water.
- Ensure that the mounting surface is both flat and stable.
- Any broken or damaged parts should be replaced as soon as possible.
- JCC will not accept responsibility for claims arising from sub-standard installations.
- These products are suitable for outdoor use only.
- This product is battery-powered and they are charged via the solar panel.
- The batteries in this product are rechargeable and must only be replaced by a competent person.

Specifications
Color temp: 3000K Ra: 85 (Class III Solar light)


Prior to use, ensure that the product is fully charged
Installation of mounting Spike
Fit mounting spike to the base of the Solar light using the screws supplied as illustrated in Fig.1. Select a suitable flat and stable location to insert the spike into the earth(fig.1.a.). Apply even firm pressure to the top corners with your hands. Do not use a hammer or weighted object to force the spike into the ground. This will damage the product and the solar panel. Ensure the sensor is facing the direction of travel (Fig.3.)
Installation of Base plate

Remove base plate from the Solar light as illustrated in Fig.2.
- Select a suitable flat and stable location, and use the base plate as a template, drill holes suitable for fixings(supplied) (fig.2.a.). Refit the Solar light to the base plate and secure with the 4 screws as shown in(fig.2.b.). Ensure the sensor is facing the direction of travel (Fig.3.)Refit body to base(fig.2.c.)
- Once installed, turn on by pressing the Touch Button for 3 seconds, the blue light will come on, allow the batteries to charge for 6-8hrs in full sunlight.
When the light level is less the 20 Lux the light will come on and dim to 15%, as soon as the sensor detects movement it will increase to full power.
General Maintenance Requirements
JCC Lighting Products recommends that the this product is cleaned with warm water and dried with a chamois leather of absorbent dry cloth. Weathering, environmental pollution and birddroppings should be cleaned off with a non-abrasive cleaner. This is to ensure that the solar panel is fully effective in charging the batteries, and to preserve the finish of this product. You can help protect the environment. Please remember to respect the local regulations: hand in the non-working electrical equipment to an appropriate waste disposal centre. The packaging material is recyclable. Dispose of the packaging in an environmentally friendly manner and make it available for the recyclable material collection service.
Important warranty information
This product is supported by a 2-year standard warranty which will extend to 3 years if registered within the first year of purchase. (2 year on batteries). Please register at jcc.co.uk/warranty – Terms and conditions apply. The installer will be asked to provide the following information, which is detailed on a label attached to the luminaire’s chassis: Product Code/Date Code.
BS EN ISO9001 – 2015 – Registered Firm Certificate No. GB 1552 JCC Lighting Products Ltd. Innovation Centre, Beeding Close, Southern Cross Trading Estate, Bognor Regis, West Sussex, PO22 9TS, United Kingdom Technical Support: +44(0)1243 838986 Customer Services: +44(0)1243 838999
Replacement of Batteries
1 x SPR017001- 1 x 3.7V 18650 2200mAh Lithium battery
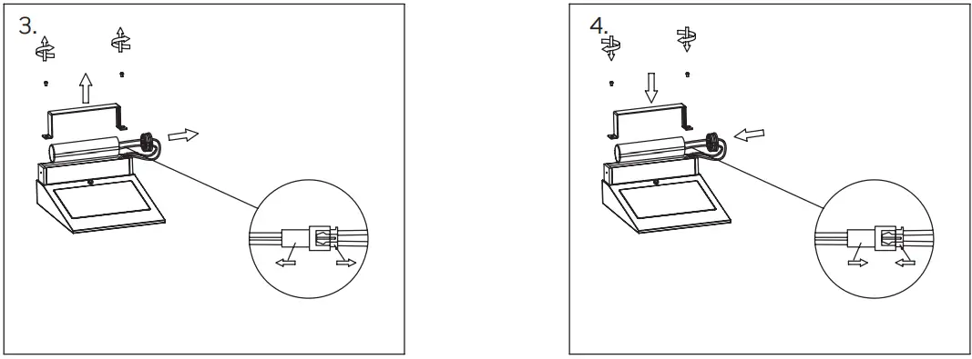
- Remove the two screws with a screwdriver indicated above to release head from the body

- Remove the head from the body and lay upside down on a protective cover to protect the solar panel

- Remove the bracket securing the battery, disconnect the battery and remove from the head unit
- Connect replacement battery and fit into head unit and refit the bracket to secure the battery

- Refit the head unit into the body, align the holes in the body and head unit then secure using the screws
- Please hand in the non-working battery to an appropriate waste disposal centre, do not dispose of with household waste

Prior to use after replacing the battery, ensure that the product is fully charged. Please refer to point 2 in the installation instructions. BS EN ISO9001 – 2015 – Registered Firm Certificate No. GB 1552 JCC Lighting Products Ltd. Innovation Centre, Beeding Close, Southern Cross Trading Estate, Bognor Regis, West Sussex, PO22 9TS, United Kingdom
- Technical Support: +44(0)1243 838986
- Customer Services: +44(0)1243 838999























