artika 8BOL-GELV-HD2BL LED Path Bollard Light

Product Information
LED Path Bollard Light – GeminiTM
- The LED path bollard light – GeminiTM is a landscape lighting system.
- The product comes with an aluminium spike, screwdriver, and the bollard light.
- The product is designed for outdoor use only and should be used with low voltage power units with a maximum output rating of 15V, 300W per secondary.
- The product is accepted as a component of a landscape lighting system where the suitability of the combination shall be determined by local inspection authorities having jurisdiction.
- The product should be installed after switching off the main electrical supply from the fuse box/circuit breaker to avoid the risk of electrical shock.
- The product is suitable for use with Type SPT-2W cable sized in accordance with the table provided in the manual.
- The product’s actual performance will depend on the installation layout, fixtures, and cable condition.
- The product’s maintenance should be done as per the instructions provided in the manual.
Product Usage Instructions
- Before installing the LED path bollard light, turn off the breaker at the panel and switch off the main electrical supply from the fuse box/circuit breaker.
- Verify the type of soil where you will install your fixtures.
- Never push the fixture into the ground by the fixture head.
- Use the suitable Type SPT-2W cable sized in accordance with the table provided in the manual.
- Adjust the effects of light by night before burying the cable.
- The landscape wire and connector can also be hidden under stone or buried under grass at a maximum depth of 6 inches (15.24cm).
- Follow the instructions provided in the manual for the maintenance of the product.
- If all the bollard lights fail to work or only some bollard lights work, refer to the manual for troubleshooting instructions.
- Changes or modifications to the product not expressly approved by the party responsible for compliance could void the user’s authority to operate the equipment.
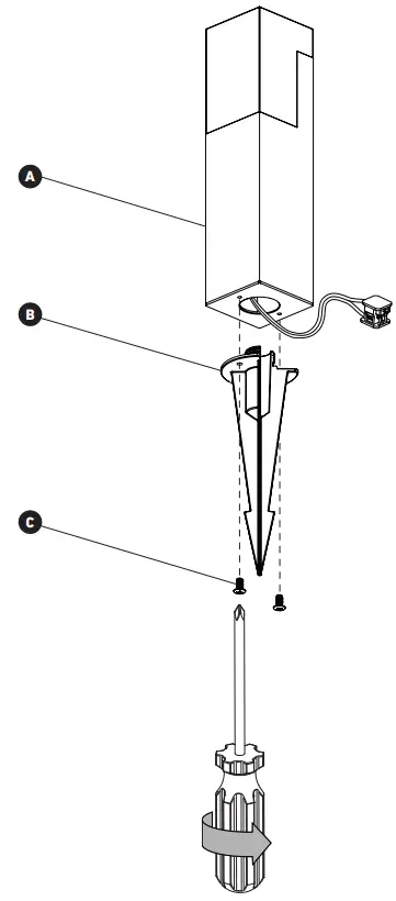
INCLUDED HARDWARE
| ITEM | DESCRIPTION | QUANTITY |
|
A |
Bollard light Borne |
× 1 |
|
B |
Aluminium Spike |
× 1 |
C | Fixation screw | × 2 |
WHAT YOU WILL NEED
DETAILLED VIEW
CAUTION
WARNING:
Risk of electrical shock. Turn off breaker at the panel.
Switch off the main electrical supply from the fuse box/circuit breaker before installing the unit or doing any maintenance.
For landscape lighting systems only, Outdoor use only.
INSTRUCTIONS PERTAINING TO A RISK OF FIRE, OR INJURY TO PERSONS. IMPORTANT SAFETY INSTRUCTIONS
- To reduce the risk of FIRE OR INJURY TO PERSONS turn off, unplug transformer and allow lamp to cool before replacing it. Lamp gets HOT quickly.
- Keep the lamp away from materials that may burn.
- WARNING – Risk of Electric Shock. Install all luminaires 10 feet (3.05 m)or more from a pool, spa or fountain.
- Install in accordance with all local codes and ordinances.
- There are no serviceable parts inside the deck light. DO NOT DISASSEMBLE OR REMOVE SCREWS.
- Must be installed minimum 2 in. (5,1 cm) from the ground.
Only for use with low voltage power units with a maximum output rating of 15V, 300W per secondary.
The device is accepted as a component of a landscape lighting system where the suitability of the combination shall be determined by local inspection authorities having juridiction.
BOLLARD LIGHT LOCATION
Once you have decided where you will install your fixtures, verify the type of soil.
- If the soil is of a loose, sandy or organic type, grasp the fixture post, close to the spike, with both hands and firmly push into the ground.
- If the soil is heavy or stony, dig a small hole, insert the fixture spike, replace the soil and tap down.
Never push the fixture into the ground by the fixture head.
COMBINED WATTAGE OF ALL BOLLARD LIGHTS ON LINE
15V POWER SUPPLY
| 15V POWER SUPPLY | |||||
| WATTS | 0′-30′ 0-9,1m | 30′-50′ 9,1-15,2m | 50′-75′ 15,2-22,8m | 75′-100′ 22,8-30,4m | 100′-175′ 30,4-53,3m |
| 0 – 60 | 16 AWG | 16 AWG | 16 AWG | 14 AWG | 12 AWG |
| 60 – 120 | 16 AWG | 14 AWG | 12 AWG | Not recommended | Not recommended |
| 120 – 180 | 14 AWG | 14 AWG | Not recommended | Not recommended | Not recommended |
| 180 – 240 | 14 AWG | Not recommended | Not recommended | Not recommended | Not recommended |
| 240 – 300 | 12 AWG | Not recommended | Not recommended | Not recommended | Not recommended |
12V POWER SUPPLY
| 12V POWER SUPPLY | |||||
| WATTS | 0′-30′ 0-9,1m | 30′-50′ 9,1-15,2m | 50′-75′ 15,2-22,8m | 75′-100′ 22,8-30,4m | 100′-175′ 30,4-53,3m |
| 0 – 15 | 16 AWG | 16 AWG | 16 AWG | 14 AWG | 12 AWG |
| 15 – 30 | 16 AWG | 14 AWG | 12 AWG | 12 AWG | Not recommended |
| 30 – 45 | 16 AWG | 12 AWG | 12 AWG | Not recommended | Not recommended |
Suitable cable should be sized in accordance to the table, should be Type SPT-2W.
NOTE: This data is provided as a general guideline. Actual performance will depend on the installation layout, the fixtures, and the condition of the cable
BOLLARD LIGHT ASSEMBLY
WIRING AND POWER SUPPLY SET UP
The landscape wire should run from the power pack to each light without being cut.
Do not run the landscape wire within 10 feet (3m) of a pool, spa or fountain. If the landscape wire is too long, cut it with a cable cutter.
The landscape wire should be protected by routing it close to proximity of the light fixture or next to a building, deck or fence. Use cable suitable for low voltage landscape lighting.
See chart page 9 for recommended cable gauges.
For uniform brightness and longer LED life, attach first fixture at least 10 feet from power pack.
Illustration of fixture is for example only.
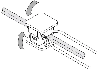
BOLLARD LIGHT CONNECTION TO THE WIRING
CAUTION
BE CAREFUL! THE WIRE STABS ARE VERY SHARP!


NIGHT LIGHT ADJUSTMENT
it is recommended to adjust your lighting effect at night before burying the cable.
Illustration of fixture is for example only.
WIRING BURIAL
The landscape wire and connector can also be hidden under stone or buried under grass at a maximum depth of 6” (15,24cm).
Illustration of fixture is for example only.
TROUBLESHOOTING
All of the bollard lights fail to work
- Check that the power is on.
- Check if there is a loose connection at the power pack screw terminal.
- Check that the power switch is not in the OFF setting.
Only some bollard lights work
- The problem here is with the fixture’s connector.
- Check the connector to make sure the wire stabs have pierced the landscape wire.
MAINTENANCE
- To clean, wash with a damp soft cloth.
FCC
WARNING:
Changes or modifications to this unit not expressly approved by the party responsible for compliance could void the user’s authority to operate the equipment.
This device complies with Part 15 of the FCC Rules. Operation
is subject to the following two conditions:
- this device does not cause harmful interference, and
- this device must accept any interference received,including interference that may cause undesired operation.
NOTE: This equipment has been tested and found to comply with the limits for Class B digital device, pursuant to part 15 of the FCC Rules. These limits are designed to provide reasonable protection against harmful interference in a residential installation. This equipment generates, uses and can radiate radio frequency energy and, if not installed and used in accordance with the instructions, may cause harmful interference to radio or television reception. However, there is no guarantee that interference will not occur in a particular installation. If this equipment causes harmful interference to radio or television reception, which can be determined by turning the equipment off and on, the user is encouraged to try to correct the interference by one or more of the following measures:
- Reorient or relocate the receiving antenna.
- Increase the separation between the equipment and the receiver.
- Connect the equipment into an outlet on a circuit different from that to which the receiver is connected.
- Consult the dealer or an experienced radio/TV technician for help.
FCC Warning
This device complies with part 15 of the FCC rules. Operation is subject to the following two conditions: (1) this device may not cause harmful interference, and (2) this device must accept any inte rference received, including interference that may cause undesired operation.
Changes or modifications not expressly approved by the party responsible for compliance could void the user’s authority to operate the equipment.
NOTE: This equipment has been tested and found to comply with the limits for a Class B digital device, pursuant to part 15 of the FCC Rules. These limits are designed to provide reasonable protection against harmful interference in a residential installation. This equipment generates uses and can radiate radio frequency energy and, if not installed and used in accordance with the instructions, may cause harmful interference to radio communications. However, there is no guarantee that interference will not occur in a particular installation. If this equipment does cause harmful interferenceto radio or television reception, which can be determined by turning the equipment off and on, the user is encouraged to try to correct the interference by one or more of the following measures:
- Reorient or relocate the receiving antenna.
- Increase the separation between the equipment and receiver.
- Connect the equipment into an outlet on a circuit different from that to which the receiver is connected.
- Consult the dealer or an experienced radio/TV technician for help.
WARRANTY
Artika For Living Inc. is proud to offer you a three-year (3) limited warranty on manufacturing defects from the date of purchase for residential use only. The warranty is extended to the original owner in USA, Canada, Mexico, UK, Iceland, France and Spain and is non-transferable. It does not apply to retailers, commercial applications or establishments. The original sales receipt is required for all warranty claims. The remedy under this limited warranty shall be product or part replacement at Artika’s discretion as provided herein and cannot exceed the original purchase price.
This warranty is valid only on products installed in accordance with the building code and laws effective in the region where the unit is being used, as well as in accordance with the provided instruction manual. It does not cover products installed incorrectly or subjected to abnormal use. Product(s) or component part(s) may be required to be returned for inspection and verification.
Normal wear and tear, misuse, negligence, vandalism, improper maintenance (surface damage due to chemical interaction or cleaning agents including, but not limited to, scouring pads, use of cleaners containing abrasives, alcohol or other organic solvents) improper handling, accident, abuse, fire, flood, theft, acts of God, neglect, or alteration of the product will not be covered under this limited warranty. It excludes any accessories that accompany the product including, but not limited, to bulbs or batteries.
The warranty does not cover handling, labour, transportation, or any other cost associated with the installation or replacement of the product. This limited warranty is valid in the country of purchase and by Artika authorized retailers only.
Artika for Living Inc. will not be
held responsible for any direct or consequential damages or injuries related to the use of this product arising from improper use or installation of this product.
Please visit www.artika.com to discover more about Artika for Living Inc.
Artika For Living Inc.
1756, 50th Avenue Montréal (Lachine), Québec Canada H8T 2V5
1-866-661-9606
[email protected]
www.artika.com
Customer Service Monday to Friday 9 am – 5 pm EST






















