2-Port HDMI KVM Switch
w/ 3 USB-A ports, 2 USB-B Ports, x2 USB-A to USB-B cables, & x2 HDMI Cables
User Manual
DO NOT RETURN THE PRODUCT
There are good days and there are bad days. It is our BAD if the product is not working, or if you are not happy with it. PLEASE GIVE USA CHANCE and WF WII I MAKE IT RIGHT.
1-833-3-Fosmon (833-336-7666) (612)435-7508 [email protected]
Thank you for purchasing this Fosmon product. For optimum performance and safety, please read this user manual carefully before operating and keep it for future reference.
Fosmon’s HDMI KVM switch enables you to operate multiple computers through one set of devices, such as a keyboard, mouse, and monitor. This allows you to save space and also on costs. Use a single mouse and keyboard to operate two different computers and swap between them at your own leisure.
Specifications
| Video-Input: | 2CR HDMI input |
| Video Output: | 1 CH HDMI output |
| USB Uplink | 2CH |
| USB Downlink: | 3CH |
| Voltage: | USB port power supply – DC 5V/1 A |
| Consumption: | <5W |
| HDMI Version: | HDMI 1.4 |
| HDCP Version: | HDCP 1.2 |
| HDMI Resolution: | 4K@30Hz/1080p/1080i/720p/576p/576i 480p/480i |
| Video Color Format: | 24-bits/deep color 30-bits/deep color 36-bits |
| Audio Format: | DTS/HD/Dolby-TrueHD/LPCM7.1/DTS Dolby-AC3/DSD |
| Max Transmission Rate: | 3.4Gbps |
| Input and Output TMDS Signal: | 0.5-1.5Vp-p (TMDS) |
| Input and Output DDC Signal: | 5Vp-p (TTL) |
| Size: | 145mm*72mm*22mm |
| Weight: | 306q |
| MTBF: | >20000 hours |
In The Box
HDMI KVM Switch 1 x
USB-A to USB-B Cable 2x
HDMI Cable x2
User Manual xl
Product Diagram – Front Panel

- USB-A 1-3 Ports (connect your mouse, keyboard, and other devices)
- Power LED Status Light
- PC1 LED Status Light
- PC2 LED Status Light
- Select (Switch) Button (swap between your two PCs)
Front Panel Notes
Make sure you have your keyboard and mouse plugged into the front USB ports to allow you to use them on both PC’s. Do not plug your keyboard and mouse into your actual PC.
If you have two PC’s plugged in, the Select Button will allow you to switch between the PC’s, depending on which one you want to use.
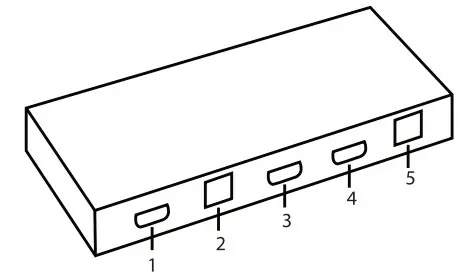
Product Diagram – Rear Panel

- HDMI Output (connect with your monitor/output device)
- PC2 USB-B Port (connect with your computer)
- PC2 HDMI Port (connect with the HDMI port on your computer)
- PC1 HDMI Port (connect with the HDMI port on your computer)
- PC1 USB-B Port (connect with your computer)
Operation and Connection
- Connect the provided USB cables to the PC1/PC2 USB ports on the rear panel to your two computer’s USB ports. The USB-B ends will go into the KVM switch, while the USB-A ends will go into your computer’s USB ports.
- Connect the provided HDMI cables to the PC1/PC2 HDMI ports on the rear panel to your two computer’s HDMI ports.
- Connect your monitor’s (output device) HDMI cable from the monitor to the KVM switch’s HDMI Out port located on the rear panel.
- Connect your keyboard and mouse into the first and second USB-A ports located on the front panel. You can plug in any other device you want in the third USB-A port such as a printer or webcam.
- Press the Select button to switch between your first and second The PC status LED indicators on the front panel will let you know which computer you are currently using.
Notes
A mouse and a keyboard must be plugged in, in order for the 3rd USB port to recognize a device. For example, if you plug in a webcam, a printer and a keyboard, there will be recognition issues. Two of the USB ports must consist of the mouse and keyboard.
There is no actual power supply that you plug into power the KVM switch. The power comes from the USBs plugged into the KVM switch to your computers.
Caution
The KVM switch should be placed in a location far from damp, high-temperature, dusty, erosive and oxidative environments.
Make sure your cables and the KVM switch are secure and stable. A shake, hit or fall can cause damage to your devices.
A shake, hit or fall can cause damage to your devices.
Troubleshooting
| No Power Connected |
|
| No Picture |
|
| Obscure/Unstable Picture |
|
| Other accessories/devices not working |
|
| Both computers plugged in but only seeing one computer |
|
www.fosmon.com
[email protected]
© 2021 Fosmon, Inc.
All rights reserved.
FCC Information
This device complies with Part 15 of the FCC Rules. Operation is subject to the following two conditions: (1) this device may not cause harmful interference, and (2) this device must accept any interference received, including interference that may cause undesired operation.
Recycling the Product
To dispose of this product properly, please follow the recycling process regulated in your area. All trade names are registered trademarks of the respective manufacturers listed.



















