
HALL RESEARCH KVMC-UH-8-UHD 8-Port HDMI KVM Switch Console

Introduction
The KVMC-UH-8-UHD is an 8-port HDMI KVM Switch Console in a 1U rack drawer. The switch console features built-in LCD supporting Ultra-High video resolutions such as 2560×1440, 2560×1600, and 3840×2160.
The switch provides keyboard and mouse emulation for all 8 PC inputs. It does not matter if a PC is selected on the KVM Switch all the host PC’ “see” connection to a keyboard and a mouse. However, the data from the “actual” built-in keyboard and mouse pad are only sent to the selected PC. The KVM Switch also provides LCD emulation on all HDMI video inputs. The HDMI outputs from all PCs get an HPD (hot plug detect) signal as if they were connected directly to an LCD. This reduces the video switching times to 1~2 seconds. Since each PC always detects a monitor when switching dual-video PCs, there is no interruption in the video since the Operating System of the host PC is unaware of the KVM Switching. The KVMC-UH-8-UHD also provides an integrated 2-port USB 2.0 Hub with one port on the rear and one on the front. When you select a new PC on the KVM, the USB 2.0 hub connects to the selected PC. The console features 8 individual buttons for selecting inputs. LED indicators show the currently selected input channel and the status of each input. Inputs can also be selected via hot-key sequences from the keyboard. The console provides self-locking rails and automatically locks when the LCD panel is closed for simple and hassle-free operation.
Features
- Enterprise-grade performance
- Compact 1U drawer construction mountable in 19” rack
- Built-in LCD supports high resolutions such as 1920×1080, 1920×1200, 2560×1440, 2560×1600 and 3840×2160
- 8 Individual buttons on the front panel for selecting PC inputs
- Emulates keyboard, mouse, and video monitor for each PC
- Fast-switch technology for minimal delay when switching PCs
- Provides USB 2.0 Hub that switches to the selected PC
- Computer OS independent – No driver or software required
- Durable 104-key keyboard and touchpad.
- Self-locking and auto release rails for ultra-convenience
- Hot-Key Switching
Installation
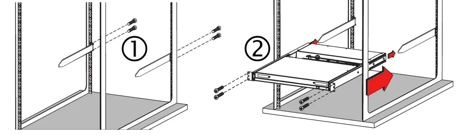
The KVM Switch Console is designed to mount in a standard 1U 19” 4-post rack system.
Sliding out the rear mounting brackets
- Remove the retaining screw from the rear mounting brackets secured in channels on both sides of the console.
- Slide and remove both brackets out towards the rear as shown.
Mount in 4-post Rack
The Console must be supported on all its four corners. Do not install the rack using its front panel only.
- Mount both brackets (separated from the console) to the inside rear of a standard 1U rack system using user-supplied screws.
- Take the console and gently slide it into the two rear-mounted brackets in the rack and secure the console in place by inserting user-supplied screws.
Setup and Operation
The figures below show the front and rear of the KVM Switch Console. Cables are not included. For each input, you must provide one HDMI and one USB cable.

Item Function
- 4K LCD Screen
- LCD Controls: Use to turn the LCD panel on and off or adjust the image

- Input selection panel with 8 push-buttons for selecting inputs, and 8 LED indicators for input and selection status
Blinking = Current selection
Solid On = Input detected (or connected PC is on) Off = No input detected (or connected PC is off) - Standard 104 keyboard with convenient number pad
- Touchpad for mouse pointer operation. Note: There is a USB port on the rear of the console for connecting an external mouse.
- USB 2.0 Hub port. This USB port connects to the selected PC.
- Power input connector and main power switch. Connect to AC power (universal input accepts 100~240 VAC). The console has a standard IEC320-C14 input connector. Customers are required to provide their own AC input power cords. The Console consumes a maximum of 30 watts of AC power. Power cords with a rating of 6A or above are recommended.
- Keyboard and Mouse connector. For connection to an optional external KM – normally not used.
- USB 2.0 Hub port. This USB port connects to the selected PC.
- HDMI and USB inputs for PC #1 to PC #8.
Hotkey Sequences
- To select the different PC inputs, press the following key sequence (1 represents the desired input channel)

- To start SCAN MODE press the following key sequence

Note:
- You must complete the key sequence within 3 seconds.
- In SCAN mode, the switch automatically cycles through all inputs one at a time. Each input is shown for 10 seconds. To stop the scan mode, press any key.
Troubleshooting
If you are experiencing problems getting the switch to work properly, please use the following troubleshooting suggestions.
- Make sure that all external connections are securely connected.
- Check the operation of all LEDs on the front panel.
- Disconnect power and all USB inputs and reconnect them
If you still are not able to get the system working properly, contact Hall Research support via email or fill out the form on the support page of http://www.hallresearch.com. Please give a detailed description of the issue and the troubleshooting steps you have taken along with the serial number. Do not open or try to repair the unit yourself, as this will void your warranty. To return the extender for repair, contact HR Support and obtain an RMA (Return Material Authorization) number.
Specifications
Video
- Standard: HDMI
- Number of inputs: 8
- Bandwidth: 600 MHz pixel clock or 18 Gbps video data rate
- Max Resolution: 3840 x 2160 @ 60Hz
- Built-in LCD: Visible Size: 17.4 ” diagonal Aspect Ratio: 16:9 Viewing Angle: Horizontal=140 Degrees / Vertical=120 Degrees
USB
- Standard Version 2.0
- Connectors 8x USB Type B Female for Hosts (PCs) 1x Keyboard Type A Female 1x Mouse Type A Female 2x USB 2.0 Peripherals from Built-in Hub. Type A Female
General
- Power Input 100-240V AC 50/60Hz via standard IEC-Type power connector
- Power Consumption 5 watts in standby mode (or when the display is off), 30 watts maximum
- Temp/humidity Operating: +32~+122 °F (0~+50 °C) / 10%~90%, non-condensing Storage: -4~+140 °F (-20~+60 °C) / 10%~90%, non-condensing
- Cooling Convection
- Enclosure type Metal
- Dimensions W x H x D Device: 17.64 x 1.65 x 22.84 inch (448 x 42 x 580 mm) Package/box: 28.15 x 5.51 x 30.71 inch (715 x 140 x 780 mm)
- Weight Device: 27 lbs (12.3 kg) Shipping: 38 lbs (17.2 kg)
- Vibration ISTA 1A in carton (International Safe Transit Association
- Safety CE
- EMI/EMC CE, FCC Class A
- MTBF 90,000 hours (Calculated Estimate)
- Warranty 3 years parts and labor
FCC RADIO FREQUENCY INTERFERENCE STATEMENT
This device complies with part 15 Class A of the FCC Rules. Operation is subject to the following two conditions:
- This device may not cause harmful interference, and
- this device must accept any interference received, including interference that may cause undesired operation.
Changes or modifications not expressly approved by the party responsible for compliance could void the user’s authority to operate the equipment.


Blinking = Current selection




















