HG POWER YNF150-2T Industrial Fan

Please read this manual carefully before using the product Please keep the instructions properly.
Installation Notes
- The exhaust fan must be installed on a firm wall surface, which is more than 1.8m away from the ground;
- the distance between the exhaust fan and the roof must be more than SCM;
- Before installation, first check whether the exhaust fan parts are complete and safe, and check whether the outer casing and the fan blades are deformed or damaged due to the transportation process. Otherwise, they should be used after being repaired and determined to be normal. Check the frame, whether the blade is deformed, whether the fan blade is flexible, whether there is friction or not, check whether all the fasteners are complete and tightened;
- Before installation, check whether the exhaust fan has sufficient strength and whether the fixing screws meet the size of the fan mounting hole;
- Check the position of the air inlet and outlet and the installation dimensions before installation.
- The line voltage must match the rated voltage on the motor;
- The non-wired part of the motor can not be dismantled at will. When wiring, open the cover of the wiring room, and insert the lead into the terminal. After connecting, cover the cover and tighten the screw so that the clearance is less than 0.2MM;
- Check whether the rotating parts touch each other and the fasteners are firm;
- Before use, check whether the direction of rotation of the blades is consistent with the fan;
- the exhaust fan in use should always clean the dust and other accumulations on the motor, so as not to affect the heat dissipation;
- Before starting the fan, check whether there are any objects in the fan that hinder the rotation of the wind wheel, such as tools;
- When the exhaust fan that has not been used for a long time is reused, it should be checked again according to the instructions, and appropriate cleaning should be carried out before use.

Sincerely thank you for using our products, please read this manual carefully before using this product, and keep it properly.
Brief induction
The YNF series exhaust fan is operated by a single-phase asynchronous motor. It is a new product developed through repeated research and trial production. Compared with the general axial flow fan, the exhaust fan has energy saving, high efficiency, low noise, small vibration, compact structure and beautiful appearance. The impeller is directly fixed outside. On the wheel, the axial dimension is shorter, and its successful development is a major breakthrough of the axial flow fan, reaching the international advanced level.
Due to its high efficiency, full closure, low noise, low vibration, short axial length and maintenance-free, this series of exhaust fans can be widely used in any applications, replacing general axial fans and residential, such as toilets, living rooms, bedrooms, shops, offices, conference rooms, hospitals, hotels, etc.
YNF Series Key Parameter
| Spec. (No) | Blade {Pcs) | Voltage (v) | Frequency (Hz) | Power {W) | Flow (m3/h) | Speed {r/min) | Noise dB(A) |
| YNF150-2T | 7 | 220 | 50 | 38 | 525 | 2800 | 55 |
| YNF200-2T | s | 220 | 50 | 53.5 | 980 | 2650 | 50 |
| YNF250-2T | 5 | 220 | 50 | 74.5 | 1680 | 2580 | 60 |
| YNF300-2T | 5 | 220 | 50 | 107 | 2677 | 2677 | 60 |
| YNF350-2T | 5 | 220 | 50 | 125 | 4300 | 2620 | 58 |
| YNF400-4T | 5 | 220 | 50 | 145 | 4300 | 1390 | 58 |
| YNF400-2T | 5 | 220 | 50 | 195 | 5800 | 2260 | 72 |
Usage Environment
- Ambient Temperature: -4o·c ~+so·c
- Altitude: SSKpa (2500m)
- Relative Humidity: 90%-95%
Electrical schematic

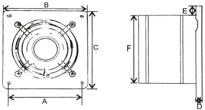
Installation Dimension Table
| Spec. | A | B | C | D | E | F |
| YNF150-2T | 165 | 190 | 190 | 10 | 20 | 148 |
| YNF180-2T | 185 | 220 | 220 | 10 | 20 | 178 |
| YNF200-2T | 215 | 250 | 250 | 12 | 20 | 198 |
| YNF250-2T | 245 | 295 | 295 | 12 | 20 | 248 |
| YNF300-2T | 300 | 350 | 350 | 12 | 20 | 298 |
| YNF350-2T | 335 | 410 | 410 | 12 | 25 | 348 |
| YNF400-4T | 400 | 485 | 485 | 12 | 28 | 410 |
| YNF400-2T | 400 | 485 | 485 | 12 | 28 | 410 |

Special Notes During Usage and installation
- DO NOT install the exhaust fan in a place which could be easily sprayed by water.
- Installation must be wire-connected according to the wiring schematic from this mannual.
- Pay attention to check whether the connecting parts are loose or not, and the blades and the cylinder case are evenly spaced, could not be conflicted during installation.
- This fan shoul NOT be used while lifting, for lifting;
- After the installation is completed, it is necessary to carry out the trial transfer first, and the normal operation can be used.
- After the exhaust fan is officially running,check whether the screw is loose or not, and whether the blade paint is off, if the wire is damaged, repair the wire according to its specific conditions every year.
- .If the cable of the fan is damaged, in order to avoid danger, please be sure to resort to a professional maintenance person.
- Shut off the power during the installation or maintenance of this product.
- The fan should be connected to the all-pole circuit breaker with the contact distance greater than 3mm.




















