www.moacolors.com
Tower Fan TF1
Instruction Manual
BEFORE USE
Before use, please read this manual carefully.
Only connect the appliance to an earthed wall socket.
This appliance is for household use only. When using electrical appliances, basic safety precautions should always be followed to avoid fires, electric shocks, burns, or other injuries and damage. Read these operating and safety instructions carefully.
IMPORTANT SAFEGUARDS
- Remove the protective case and ensure that the product is disconnected from the power supply.
- Away from the fire source.
- It is forbidden to use in places where serious dust is found.
- Products can not be placed in high temperatures and low temperatures.
- The use of wire and other foreign objects shall be prohibited to insert any pores in this product, Avoid electric shock or damage to the product.
- It is forbidden to immerse the product in water and prohibit spraying water or water.
- If any abnormality occurs during the use of this product, please immediately shut down and remove the power cord plug and send it to repair.
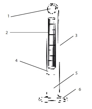
PARTS & LOCATION

- Display panel
- Air outlet
- Back cover
- Front shell
- Rotating column
- Chassis
PACKING LIST
2 sets Baseboard
8 Mounting screws
1 Remote
INSTALLATION
- Open the packing box and place the product on a flat surface or table. Check whether the goods in the box are in line with the packing list.
- Remove two bottom plates and assemble a disk as shown. Screw the sides of the disc with four screws.

- Pass the power cord through the bottom panel, and insert the base plate with four screws and the main body of the product.

USAGE

- Plug it in. The buzzer emits a “di” and the digital screen displays the ambient temperature. Products standby.
- ON/OFF: press the first time, product the first plastic seal the normal way to send the wind, the first plastic seal icon bright. By the second time, the product is reworking.
- Speed: Press this piece to choose medium-speed wind – high-speed wind – low-speed wind.
- Wind: You can choose the sleeping wind – natural wind – normal wind.
- Timer: 12-hour time.
- Swing: The left or right direction is automatically sent off.
- Remote control: Please take the diaphragm before use.
CLEAN, MAINTAIN AND STORE
- Clean the shell
– Unplug the power and gently wipe with a cloth.
– Do not use alcohol, gasoline, banana water, and other solvents for cleaning. - Product storage
– Clean the product and put it in the carton, and place it in the shade.
DISPOSAL
Do not dispose of the device in normal domestic waste.
Dispose of the device over a registered waste disposal firm or throughout communal waste disposal facility.
Observe the currently valid regulations. In case of doubt, consult your waste disposal facility.
WARRANTY
Dear Valued Customer,
Thank you very much for purchasing an MOA product.
We wish to inform you that this product is covered by a warranty that complies with all legal provisions concerning existing warrant and consumer rights in the country where the product was purchased.
Should you find any defect or malfunction of your MOA product, please contact the appropriate Customer Care Center.
Sincerely yours, The MOA Team





















