ConServ RCRF 320 Convertible Refrigerator-Freezer

MODEL: RCRF 320
Please read the instructions carefully and keep for future reference. Information may be updated from time to time so please refer to the manual online for the latest version of the manual.
Warranty
Conserv Appliances undertakes to the consumer-owner to repair or, at our option, to replace any part of this product which proves to be defective in workmanship or materials under normal personal, family or household use, in the USA and Canada, for a period of one year from the date of original purchase. For commercial use, the product is warranted for a period of 90 days. During this period, we will provide all labor and parts necessary to correct such defect, free of charge, if the appliance has been installed and operated in accordance with the written instructions with the appliance. Ready access to the appliance, for service, is the responsibility of the consumer-owner. Service would be provided from Monday to Friday between normal business hours.
Exclusions
In no event shall Conserv Appliances be liable for incidental or consequential damages or for damages resulting from external causes such as abuse, misuse, incorrect voltage or acts of God. This warranty does not cover service calls which do not involve defective workmanship or materials covered by this warranty. Accordingly, diagnosis and repair costs for a service call which does not involve defective workmanship or materials will be the responsibility of the consumer-owner.
Specifically, the following work is not covered under warranty and does not constitute warranty work:
- Installation – e.g. Insufficient spacing around appliance
- Maintenance – e.g. Cleaning the appliance using solvents
- Mishandling – e.g. Breakage of door handle
Most work is covered. The defining factor is, has the machine malfunctioned (Conserv Appliances is responsible) or has the customer omitted or done something to cause the appliance to malfunction (customer is responsible). Some states do not allow the exclusion or limitation of incidental or consequential damages, so the above limitation of exclusion may not apply to you.
WARRANTY SERVICE
This warranty is given by: Conserv Appliances 10222 Georgibelle Drive, Suite 200, Houston, Texas 77043-5249
For Customer Service:
- Appliance Desk
- Phone/Text: 1-800-776-3538
- Email: [email protected]
- Web: www.ApplianceDesk.com
- Business hours: 9:00 am to 5:00 pm weekdays
- You can register your warranty by either of the following methods:
Scan QR Code
- Open Smart Phone
- Open Photo
- Scan QR Code
- Click the Link
Register on line at ApplianceDesk.com/Warranty
GENERAL
Since it is the responsibility of the consumer-owner to establish the warranty period by verifying the original purchase date, Conserv Appliances recommends that a receipt, delivery slip or some other appropriate payment record be kept for that purpose.
This warranty gives you specific legal rights, and you may also have other rights which vary from State to State.
All rights reserved. Manual subject to change without notice
Safety
Please always follow the safety precautions listed below:
- Do not put acid or flammable or volatile materials inside the appliance.
- Do not puncture or damage refrigerant tubing.
- Unplug the unit immediately if you find any abnormal smell or smoke, and contact Customer Service.
- This appliance is not intended for use by children or persons with reduced physical, sensory or mental capabilities, or lack of experience and knowledge, unless they have been given supervision or instruction concerning use of the appliance by a person responsible for their safety. Children should be supervised to ensure that they do not play with the appliance.
- Use a dedicated power outlet and a three prong power socket, that is properly grounded.
- Secure the cord behind the unit to prevent a tripping hazard.
- Do not use extension cords or ungrounded two prong adapters.
- Do not use the power cord or plug if it is damaged.
- When removing the power plug, do not pull on the cord. Grasp the plug firmly and pull it out from the socket.
- Do not connect or disconnect plug with wet hands.
- Unplug the unit first when doing maintenance or repair.
- Keep ventilation openings free of obstructions.
- Repairs must be done only by a qualified technician.
Safe Disposal
- Before discarding the refrigerator, remove the door in order to prevent risk of child entrapment. Leave shelves in place.
- Dispose off this appliance in accordance with local regulations.
State of California Proposition 65 Warnings:
- WARNING:This product contains one or more chemicals known to the State of California to cause cancer.
- WARNING:This product contains one or more chemicals known to the State of California to cause birth defects or other reproductive harm.
Installation
Placement
- This unit is designed to be free standing and not built-in.
- The unit should be placed in a ventilated and dry environment.
- Do not put the unit in direct sunlight, and keep it as far as possible from heat sources.
- Don’t put the unit in a cold area.
- The unit should be placed on flat and stable ground. Keep the unit level by adjusting the feet.
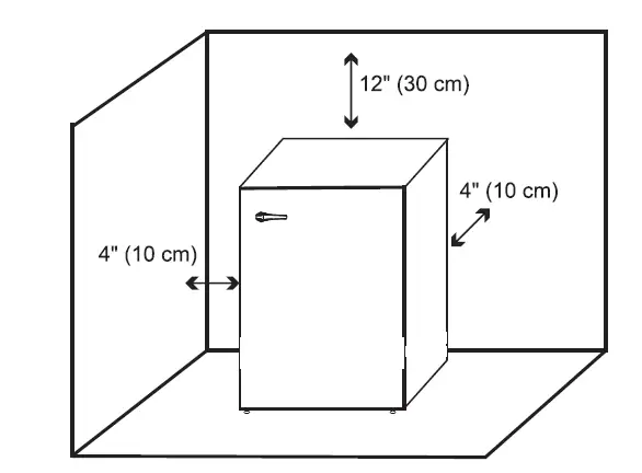
- Ensure there is at least a distance of 4″ (10 cm) between the back of the unit and the wall and also on either side. There should also be a space of at least 12″ (30 cm) above the unit.

Before Use
- Before initially plugging in the refrigerator, keep the unit standing upright and stable for 6 hours. The refrigerator should be on for up to 4 hours and adequately cold, before putting food in it.
- It is recommended that you clean the interior of the unit before placing food inside.
Operation
- The temperature of the refrigerator is pre-set to 41 ° F (5° C) and doesn’t require any temperature to be set. It is ready to use.
- However, if desired, the temperature can be increased or decreased.
- This appliance can also be converted to be used as a freezer. This selection and temperature settings can be made on the Control Panel.
Control Panel
- The Control Panel is located inside the appliance on the top. Press and hold the Select button for 3 seconds to select “Refrig” for use as a refrigerator or “Freezer” for use as a freezer. The indicator light under Refrig or Freezer will be illuminated to show whether the refrigerator or freezer is in operation.
- Press the Select button repeatedly to choose the level of cold in the appliance. Each time the Select button is pressed, the indicator light will come on one by one for each temperature setting, until the indicator light under Max, Med or Min illuminates steadily. Max is least cold and Min is coldest. Med is the average medium cold setting and suggested as the default to start with. The temperatures associated with each level of cold is provided below.
Refrigerator Temperatures
- Max: 46.4 ° F (8 ° C) – least cold
- Med: 41 ° F (5° C)
- Min: 35.6 ° F (2 ° C) coldest
Maintenance
Cleaning
- Always remove all items and unplug the unit before cleaning.
- Clean inside, behind and around the appliance regularly, using water and mild detergent, and a damp cloth (not wet).
- Never use boiling water, harsh cleaning chemicals or abrasive materials.
- Clean the door gasket regularly to ensure that the door closes and seals properly.
- Dry all surfaces thoroughly.
- Manual defrosting is not necessary as this appliance has an auto defrost function.
Extended Absence
- If the unit will be switched off for a long time, remove all items, turn off the appliance and clean the unit throughly.
- Leave the door open and place the unit in a well ventilated area to avoid build up of odor.
The following phenomenon is normal
- The sound like a rivulet is caused by the refrigerant flowing inside of the system pipe.
- While the unit runs, heat is emitted from both sides of the cabinet.
- When the environment is too humid, the edges around door may have a little moisture. Simply wipe it with a dry cloth.
Technical Specifications
| Model No. | RCRF 320 |
| Capacity | 3.21 cu.ft. |
| Rated Voltage / Frequency | 110V / 60Hz |
| Refrigerant | R600a |
| Type of Defrost | Frost Free |
| Thermostat | Electronic |
| Temperature Range | -35°F to 10°F |
| Weight (NeUGross) lbs | 75/ 82 |
| Product Dimensions (H*W*D) inches | 36 X 24 X 28 |
Troubleshooting
Before calling for service, please check the following table.




















