TESLA RC3200FHXE Refrigerator Freezer

Refrigerator Freezer RC3200FHXE
Product Information
The RC3200FHXE is a refrigerator freezer designed to keep your food and drinks fresh and frozen. The appliance has an LED light, temperature control knob, fridge shelves, fridge balconies, crisper cover, crisper, freezer drawers, and leveling feet. The appliance has a warning symbol at the rear panel or compressor with yellow or orange color, indicating that there are flammable materials in refrigerant pipes and compressor, and it’s a risk of fire warning symbol.
Product Usage Instructions
Safety Information
Children and vulnerable people should be kept away from the appliance. Keep ventilation openings clear of obstruction. Do not use mechanical devices or other means to accelerate the defrosting process. Any electrical components must be replaced by a certified service agent or qualified service personnel. The light bulb supplied with the appliance is a special use light bulb usable only with the appliance supplied. Clean the drain regularly to avoid water collection at the bottom of the appliance.
Daily Use
Adjust the temperature control knob to set the desired temperature for the fridge and freezer compartments. Store food and drinks in the appropriate compartments. Use the fridge shelves and balconies to organize your food and drinks. Use the crisper cover and crisper to keep your vegetables fresh. Use the freezer drawers to store frozen food.
Care and Cleaning
Clean the appliance regularly using a damp cloth and mild detergent. Do not use abrasive cleaners, solvents, or metal objects. Clean the drain regularly to avoid water collection at the bottom of the appliance.
Installation
The appliance should be installed well away from sources of heat such as radiators, boilers, and direct sunlight. Ensure that air can circulate freely around the back of the cabinet to ensure best performance. If the appliance is positioned below an overhanging wall unit, the minimum distance between the top of the cabinet and the wall unit must be at least 100 mm. Accurate leveling is ensured by one or more adjustable feet at the base of the cabinet. The appliance is not intended to be used as a built-in appliance.
Energy Saving
Keep the appliance well maintained and defrost it regularly to ensure lower energy consumption.
Environment Protection
Dispose of the packaging in a suitable collection container to recycle it. When disposing of the appliance, disconnect the mains plug from the mains socket and cut off the mains cable.
SAFETY INFORMATION
In the interest of your safety and to ensure the correct use, before installing and first using the appliance, read this user manual carefully, including its hints and warnings. To avoid unnecessary mistakes and accidents, it is important to ensure that all people using the appliance are thoroughly familiar with its operation and safety features. Save these instructions and make sure that they remain with the appliance if it is moved or sold, so that everyone using it through its life will be properly informed on appliance use and safety.
For the safety of life and property keep to the precautions of these user instructions as the manufacturer is not responsible for damages caused by omission.
Children and vulnerable people safety
- This appliance can be used by children aged of 8 years and above and persons with reduced physical, sensory or mental capabilities, or lack of experience and knowledge if they have supervision or have been given instructions concerning the use of the appliance in a safe way and understand the hazards involved.
- Children aged from 3 to 8 years are allowed to load and unload this appliance.
- Children should be supervised to ensure that they do not play with the appliance.
- Cleaning and user maintenance should not be done by children unless they are aged from 8 years and above and supervised.
- Keep all packaging well away from children. There is risk of suffocation.
- If you are discarding the appliance pull the plug out of the socket, cut the connection cable (as close to the appliance as you can) and remove the door to prevent playing children from suffering electric shock or closing themselves in.
- If this appliance features a magnetic door seal to replace an older appliance having a spring lock (latch) on the door or lid, be sure to make that spring lack unusable before you discard the old appliance. This will prevent it from becoming a death trap for a child.
General safety
- WARNING! Keep ventilation openings, in the appliance enclosure or in the built-in structure, clear of obstruction.
- WARNING! Do not use mechanical devices or other means to accelerate the defrosting process, other than those recommended by the manufacturer.
- WARNING! Do not damage the refrigerant circuit.
- WARNING! Do not use other electrical appliances (such as ice cream makers) inside of refrigerating appliances, unless they are approved for this purpose by the manufacture.
- WARNING! Do not touch the light bulb if it has been on for a long period of time because it could be very hot.1
- WARNING! When positioning the appliance, ensure the supply cord is not trapped or damaged.
- WARNING! Do not locate multiple portable socket-outlets or portable power suppliers at the rear of the appliance.
- Do not store explosive substances such as aerosol cans with a flammable propellant in this appliance.
- The refrigerant isobutene (R600a) is contained within the refrigerant circuit of the appliance, a natural gas with a high level of environmental compatibility, which is nevertheless flammable.
- During transportation and installation of the appliance, be certain that none of the components of the refrigerant circuit become damaged.
- avoid open flames and sources of ignition
- thoroughly ventilate the room in which the appliance is situated
- It is dangerous to alter the specifications or modify this product in any way.
Any damage to the cord may cause a short circuit, fire and/or electric shock. - This appliance is intended to be used in a household and similar applications such as
- staff kitchen areas in shops, offices and other working environments;
- farm houses and by clients in hotels, motels and other residential type environments;
- bed and breakfast type environments;
- catering and similar non-retail applications.
- WARNING! Any electrical components (plug, power cord, compressor and etc.) must be replaced by a certified service agent or qualified service personnel.
WARNING! The light bulb supplied with this appliance is a “special use light bulb” usable only with the appliance supplied. This “special use lamp” is not usable for domestic lighting.1 - Power cord must not be lengthened.
- Make sure that the power plug is not squashed or damaged by the back of the appliance. A squashed or damaged power plug may overheat and cause a fire.
- Make sure that you can come to the main plug of the appliance.
- Do not pull the main cable.
- If the power plug socket is loose, do not insert the power plug. There is a risk of electric shock or fire.
- You must not operate the appliance without the lamp.
- This appliance is heavy. Care should be taken when moving it.
- Do not remove nor touch items from the freezer compartment if your hands are damp/wet, as this could cause skin abrasions or frost/freezer burns.
- Avoid prolonged exposure of the appliance to direct sunlight.
Daily use
- Do not put hot things on the plastic parts in the appliance.
- Do not place food products directly against the rear wall.
- Frozen food must not be re-frozen once it has been thawed out. 2
- Store pre-packed frozen food in accordance with the frozen food manufacture, s instructions. 2
- Appliance, s manufactures storage recommendations should be strictly adhered to. Refer to relevant instructions.
- Do not place carbonated of fizzy drinks in the freezer compartment as it creates pressure on the container, which may cause it to explode, resulting in damage to the appliance.2
- Ice lollies can cause frost burns if consumed straight from the appliance.2 To avoid contamination of food, please respect the following
instructions - Opening the door for long periods can cause a significant increase of the temperature in the compartments of the appliance.
- Clean regularly surfaces that can come in contact with food and accessible drainage systems.
- Clean water tanks if they have not been used for 48h; flush the water system connected to a water supply if water has not been drawn for 5 days.
- Store raw meat and fish in suitable containers in the refrigerator, so that it is not in contact with or drip onto other food.
- Two-star frozen-food compartments (if they are presented in the appliance) are suitable for storing pre-frozen food, storing or making ice-cream and making ice cubes.
- One-, two- and three -star compartments (if they are presented in the appliance) are not suitable for the freezing of fresh food.
- If the appliance is left empty for long periods, switch off, defrost, clean, dry and leave the door open to prevent mount developing within the appliance.
Care and cleaning
- Before maintenance, switch off the appliance and disconnect the main plug from the power socket.
- Do not clean the appliance with metal objects.
- Do not use sharp objects to remove frost from the appliance. Use a plastic scraper. 2
- Regularly examine the drain in the refrigerator for defrosted water. If necessary, clean the drain. If the drain is blocked, water will collect at the bottom of the appliance. 3
Installation
- IMPORTANT! For electrical connection carefully follow the instructions given in specific paragraphs.
- Unpack the appliance and check if there are damages on it. Do not connect the appliance if it is damaged. Report possible damages immediately to the place you bought it. In that case retain packing.
- It is advisable to wait at least four hours before connecting the appliance to allow the oil to flow back in the compressor.
- Adequate air circulation should be provided around the appliance, lacking this leads to overheating. To achieve sufficient ventilation, follow the instructions relevant to installation.
- Wherever possible the spacers of the product should be against a wall to avoid touching or catching warm parts (compressor, con- denser) to prevent possible burn.
- The appliance must not be located close to radiators or cookers.
- Make sure that the main plug is accessible after the installation of the appliance.
Service
- Any electrical work required to do the servicing of the appliance should be carried out by a qualified electrician or competent person.
- This product must be serviced by an authorized Service Center, and only genuine spare parts must be used.
Energy saving
- Do not put hot food in the appliance;
- Do not pack food close together as this prevents air circulating;
- Make sure food does not touch the back of the compartment(s);
- If electricity goes off, do not open the door(s);
- Do not open the door(s) frequently;
- Do not keep the door(s) open for a long time;
- Do not set the thermostat on exceeding cold temperatures;
- All accessories, such as drawers, shelves balconies, should be kept there for lower energy consumption.
Environment Protection
This appliance does not contain gasses which could damage the ozone layer, in either its refrigerant circuit or insulation materials. The appliance shall not be discarded together with the urban refuse and rubbish. The insulation foam contains flammable gases: the appliance shall be disposed according to the appliance regulations which can be obtained from your local authorities. Avoid damaging the cooling unit, especially the heat exchanger. The materials used on this appliance marked by the symbol are recyclable.
The symbol on the product or on its packaging indicates that this product may not be treated as household waste. Instead it should be taken to the appropriate collection point for the recycling of electrical and electronic equipment. By ensuring this product is disposed of correctly, you will help prevent potential negative consequences to the environment and human health, which could otherwise be caused by inappropriate waste handling of this product. For more detailed information about recycling of this product, please contact your local council, your household waste disposal service or the shop where you purchased the product.
Packaging materials
The materials with the symbol are recyclable.
Dispose the packaging in a suitable collection container to recycle it.
Disposal of the appliance
- Disconnect the mains plug from the mains socket.
- Cut off the mains cable and discard it.
WARNING!
During using, service and disposal the appliance, please pay attention to symbol similar as left side, which is located on rear of appliance (rear panel or compressor) and with yellow or orange color.
It’s risk of fire warning symbol. There are flammable materials in refrigerant pipes and compressor.
Please be far away fire source during using, service and disposal.
OVERVIEW
Note: Picture is for reference only. Real appliance probably is different.
INSTALLATION
Space Requirement
- Select a location without direct exposure to sunlight;
- Select a location with enough space for the refrigerator doors to open easily;
- Select a location with level (or nearly level) flooring;
- Allow sufficient space to install the refrigerator on a flat surface;
- Allow clearance to the right, left, back and top when installing. This will help reduce power consumption and keep your energy bills lower.
- Keep at lest 50mm gap at two sides and back. this refrigerating appliance is not intended to be used as a built-in appliance
Positioning
Install this appliance at a location where the ambient temperature corresponds to the climate class indicated on the rating plate of the appliance:
For refrigerating appliances with climate class:
- extended temperate: this refrigerating appliance is intended to be used at ambient temperatures ranging from 10 °C to 32 °C (SN);
- temperate: this refrigerating appliance is intended to be used at ambient temperatures ranging from 16 °C to 32 °C (N);
- subtropical: this refrigerating appliance is intended to be used at ambient temperatures ranging from 16 °C to 38 °C (ST);
- tropical: this refrigerating appliance is intended to be used at ambient temperatures ranging from 16 °C to 43 °C (T);
Location
The appliance should be installed well away from sources of heat such as radiators, boilers, direct sunlight etc. Ensure that air can circulate freely around the back of the cabinet to ensure best performance. If the appliance is positioned below an overhanging wall unit, the minimum distance between the top of the cabinet and the wall unit must be at least 100 mm. Ideally, however, the appliance should not be positioned below overhanging wall units. Accurate leveling is ensured by one or more adjustable feet at the base of the cabinet.
This refrigerating appliance is not intended to be used as a built-in appliance.
WARNING!
It must be possible to disconnect the appliance from the mains power supply; the plug must therefore be easily accessible after installation.
Electrical connection
Before plugging in, ensure that the voltage and frequency shown on the rating plate correspond to your domestic power supply.
The appliance must be grounded. The power supply cable plug is provided with a contact for this purpose. If the domestic power supply socket is not grounded, connect the appliance to a separate grounder in compliance with current regulations, consulting a qualified electrician.
The manufacturer declines all responsibility if the above safety precautions are not observed. This appliance complies with the E.E.C. Directives.
Door Reversibility
Before reversing the door, please prepare tools and material: straight screwdriver, cross screwdriver, spanner and the components in the poly bag:
- Left Door Hinge Cover x 1

- Left Aid-Closer on Upper Door x 1

- Left Aid-Closer on Lower Door x 1

- Unscrew top hinge cover and then unscrewthe top hinge .
Then lift upper door and place it on a soft pad to avoid scratch and damage.
- Remove the top left screw cover.

- Take off the upper door, take out the screw from the middle hinge by cross screwdriver, then take off the lower door.

- Laying down the refrigerator, take out the adjusting feet as below, then take off the lower hinge by cross screwdriver.

- Adjusting the hinge core position of the lower hinge and upper hinge to opposite position

- Install the lower hinge under to the refrigerator like below, screwing in the adjusting feet, make sure the position in horizon.

- Remove the original aid-closers from upper and lower door, then install the aid-closers from the internal bag (with instruction manuals) to the opposite side.

- Install the lower door, adjust and fix the middle hinge onto the cab.

- Place the upper door back on. Ensure the dooris aligned horizontally and vertically so thatthe seal are closed on all sides before finally tightening the top hinge. Then inertthe top hinge and screw into the top of unit and then fix hinge cover (in accessary bag) by screw.

- Fix the screw cover.

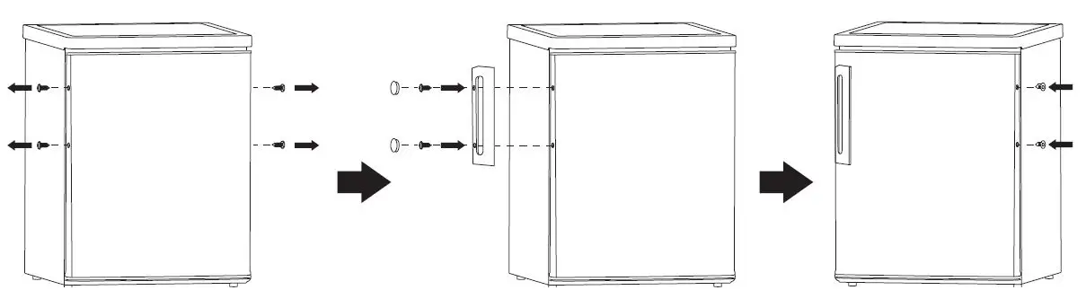
Install door external handle (if external handle is present)
Space Requirement
- Keep enough space for opening of doors.
- Keep at least 50mm gap at two sides and back.

| A | 600 |
| B | 600 |
| C | 1858 |
| D | min=50 |
| E | min=50 |
| F | 1007 |
| G | 1071 |
| H | 135° |
Levelling the unit
To do this adjust the two levelling feet at front of the unit.
If the unit is not level, the doors and magnetic seal alignments will not be covered properly.

USER CONTROL PANEL
Temperature setting of the Fridge Compartment
The fridge temperature setting knob
- The knob in fridge compartment is used to adjust temperature of fridge compartment.
- The internal temperature is controlled by a sensor. There are 4 settings: OFF, COLD, COLDER and COLDEST. COLD is warmest setting and COLDEST is coldest setting.
- The appliance may not operate at the correct temperature if it is in aparticularly hot or if you open the door often.
- Neither fridge, nor freezer compartment works when the setting is OFF.

Temperature setting of the Freezer Compartment
The freezer temperature setting slider
- This slider in fridge compartment is used to adjust temperature of freezer compartment.
- Slider is positioned toward
,the temperature in freezer compartment will be higher. Contrarily, the temperature in freezer compartment will be lower if the slider is moved toward
. - Middle position
of slider is advised position for normal using. - To get lowest temperature in freezer compartment, you can adjust setting knob at coldest and position the slider at
.
Temperature setting recommendation
- Information above give users recommendation of temperature setting.
- In winter or temperature below 16C, users should avoid set on and cold.
- For energy saving , the
and coldest set only apply to special need(such as quick-freezing or ice making) ,and need turn back after special need.
DAILY USE
First use
Cleaning the interior
Before using the appliance for the first time, wash the interior and all internal accessories with lukewarm water and some neutral soap so as to remove the typical smell of a brand new product, then dry thoroughly.
IMPORTANT! Do not use detergents or abrasive powders, as these will damage the finish.
Freezing fresh food
- The freezer compartment is suitable for freezing fresh food and storing frozen and deep-frozen food for a long time.
- Place the fresh food to be frozen in the freezer compartment.
- The maximum amount of food that can be frozen in 24 hours is specified on the rating plate.
- The freezing process lasts 24 hours: during this period do not add other food to be frozen.
Position different food in different compartments according to be below table
Refrigerator compartments Type of food
Door or balconies of fridge compartment
- Foods with natural preservatives, such as jams, juices, drinks, condiments.
- Do not store perishable foods.
Crisper drawer (salad drawer)
- Fruits, herbs and vegetables should be placed separately in the crisper bin.
- Do not store bananas, onions, potatoes, garlic in the refrigerator.
Fridge shelf – middle
- Dairy products, eggs
Fridge shelf – top
- Foods that do not need cooking, such as ready-to-eat foods, deli meats, leftovers.
Freezer drawer(s)/shelf
- Foods for long-term storage.
- Bottom drawer/shelf for raw meat, poultry, fish.
- Middle drawer/shelf for frozen vegetables, chips
- Top drawer/shelf for ice cream, frozen fruit, frozen baked goods.
Storing frozen food
When first starting-up or after a period out of use, before putting food in the compartment let the appliance run at least 2 hours on a higher setting.
IMPORTANT! In the event of accidental defrosting, for example the power has been off for longer than the value shown in the technical characteristics chart under “rising time”, the defrosted food must be consumed quickly or cooked immediately and then re-frozen (after cooked).
Thawing
- Deep-frozen or frozen food, prior to being used, can be thawed in the fridge compartment or at room temperature, depending on the time available for this operation.
- Small pieces may even be cooked still frozen, directly from the freezer. In this case, cooking will take longer.

Accessories
Movable shelves
The walls of the refrigerator are equipped with a series of runners so that the shelves can be positioned as desired.
Positioning the door balconies
Door balconies can be disassembled for cleaning. To make the disassembling as follows: gradually pull the balcony in the direction of the arrows until it comes free, after cleaning, reposition it.
Disassemble the bottom drawer
- Pull out the bottom drawer to stopper position.
- Left up the front of drawer.
- Pull out the bottom drawer.

Helpful hints and tips
To help you make the most of the freezing process, here are some important hints:
- the maximum quantity of food which can be frozen in 24 hrs. is shown on the rating plate;
- the freezing process takes 24 hours. No further food to be frozen should be added during this period;
- only freeze top quality, fresh and thoroughly cleaned, foodstuffs;
- prepare food in small portions to enable it to be rapidly and completely frozen and to make it possible subsequently to thaw only the quantity required;
- wrap up the food in alumi num foil or polythene and make sure that the packages are airtight;
- do not allow fresh, unfrozen food to touch food which is already frozen, thus avoiding a rise in temperature of the latter;
- lean foods store better and longer than fatty ones; salt reduces the storage life of food;
- water ices, if consumed immediately after removal from the freezer compartment, can possibly cause the skin to be freeze burnt;
- it is advisable to show the freezing in date on each individual pack to enable you removal from the freezer compartment, can possibly cause the skin to be freeze burnt;
- it is advisable to show the freezing in date on each individual pack to enable you to keep tab of the storage time.
Hints for storage of frozen food
To obtain the best performance from this appliance, you should:
- make sure that the commercially frozen foodstuffs were adequately stored by the retailer;
- be sure that frozen foodstuffs are transferred from the food store to the freezer in the shortest possible time;
- do not open the door frequently or leave it open longer than absolutely necessary.
- once defrosted, food deteriorates rapidly and cannot be re-frozen;
- do not exceed the storage period indicated by the food manufacture.
Hints for fresh food refrigeration
To obtain the best performance:
- Do not store warm food or evaporating liquids in the refrigerator
- Do cover or wrap the food, particularly if it has a strong flavor
- Meat (all types): wrap in polythene bags and place on the glass shelves above the vegetable drawer.
- For safety, store in this way only one or two days at the most.
- Cooked foods, cold dishes, etc…: these should be covered and may be placed on any shelf.
- Fruit and vegetables: these should be thoroughly cleaned and placed in the special drawer(s) provided.
- Butter and cheese: these should be placed in special airtight containers or wrapped in aluminum foil or polythene bags to exclude as much air as possible.
- Milk bottle: these should have a cap and should be stored in the balconies on the door.
- Bananas, potatoes, onions and garlic, if not packed, must not be kept in the fridge.
- For energy efficiency ,all drawers,baskets and shelves,must be in right place ,must not be kept in the fridge.
Cleaning
For hygienic reasons the appliance interior, including interior accessories, should be cleaned regularly.
CAUTION!
The appliance may not be connected to the mains during cleaning. Danger of electrical shock! Before cleaning switch the appliance
off and remove the plug from the mains, or switch off or turn out the circuit breaker or fuse. Never clean the appliance with a steam cleaner. Moisture could accumulate in electrical components, danger of electrical shock! Hot vapors can lead to the damage of plastic parts. The appliance must be dry before it is placed back into service.
IMPORTANT! Ethereal oils and organic solvents can attack plastic parts, e.g. lemon juice or the juice form orange peel, butyric acid, cleanser that contain acetic acid.
- Do not allow such substances to come into contact the appliance parts.
- Do not use any abrasive cleaners
- Remove the food from the freezer. Store them in a cool place, well covered.
- Switch the appliance off and remove the plug from the mains, or switch off or turn out the circuit breaker of fuse.
- Clean the appliance and the interior accessories with a cloth and lukewarm water. After cleaning wipe with fresh water and rub dry.
- After everything is dry place appliance back into service.
Replace the lamp
The internallight is a LED type. To replace the lamp, please contact qualified technician.
TROUBLESHOOTING
CAUTION!
Before troubleshooting, disconnect the power supply. Only a qualified electrician of competent person must do the troubleshooting that is not in this manual.
IMPORTANT! There are some sounds during normal use (compressor, refrigerant circulation).
| Problem | Possible cause | Solution |
|
Appliance does not work | Temperature regulation knob is set at number “0”. | Set the knob at other number to switch on the appliance. |
| Power plug is not plugged in or is loose | Insert power plug. | |
| Fuse has blown or is defective | Check fuse, replace if necessary. | |
| Socket is defective | Socket malfunctions are to be corrected by an electrician. | |
| Appliance freezes or cools too much | Temperature is set too cold or the appliance runs at coldest. | Turn the temperature regulator to a warmer setting temporarily. |
|
The food is not frozen enough. | Temperature is not properly adjusted. | Please look in the initial Temperature Setting section. |
| Door was open for an extended period. | Open the door only as long as necessary. | |
| A large quantity of warm food was placed in the appliance within the last 24 hours. | Turn the temperature regulation to a colder setting temporarily. | |
| The appliance is near a heat source. | Please look in the installation location section. | |
| Heavy build up of frost on the door seal. | Door seal is not air tight. | Carefully warm the leaking sections of the door seal with a hair dryer (on a cool setting). At the same time shape the warmed door seal by hand such that it sits correctly. |
|
Unusual noises | Appliance is not level. | Re-adjust the feet. |
| The appliance is touching the wall or other objects. | Move the appliance slightly. | |
| A component, e.g. a pipe, on the rear of the appliance is touching another part of the appliance or the wall. | If necessary, carefully bend the component out of the way. | |
| Water on the floor | Water drain hole is blocked. | See the Cleaning and Care section. |
| Side panel is hot | It’s normal. Heat exchange parts are in the sides. | Take gloves to touch sides if needed. |
| Product Information Sheet COMMISSION DELEGATED REGULATION (EU) 2019/2016 with regard to energy labelling of refrigerating appliances | |||||
| Supplier’s name or trade mark: Tesla | |||||
| Supplier’s address: Tesla Electronics, Litijska 47, 1000 Ljubljana, SI | |||||
| Model identifier: RC3200FHXE | |||||
| Type of refrigerating appliance: | |||||
| Low-noise appliance: | No | Design type: | freestanding | ||
| Wine storage appliance: | No | Other refrigerating appli- ance: | Yes | ||
| General product parameters: | |||||
| Parameter | Value | Parameter | Value | ||
| Overal dimensions (millimetre) | Height | 1 850 | Total volume (dm³ or l) | 293 | |
| Width | 600 | ||||
| Depth | 600 | ||||
| EEI | 100 | Energy efficiency class | E | ||
| Airborne acoustical noise emis- sions (dB(A) re 1 pW) | 40 | Airborne acoustical noise emission class | C | ||
| Annual energy consumption (kWh/a) | 233 | Climate class: | temperate, subtropi- cal | ||
| Minimum ambient tempera- ture (ºC), for which the refrig- erating appliance is suitable | 16 | Maximum ambient tem- perature (ºC), for which the refrigerating appliance is suitable | 38 | ||
| Winter setting | No | ||||
| Compartment Parameters: | |||||
|
Compartment type | Compartment parameters and values | ||||
|
Compartment Vol- ume (dm³ or l) | Recom- mended tempera- ture setting for opti- mised food storage (ºC) These set- tings shall not con- tradict the storage conditions set out in Annex IV, Table 3 |
Freezing capacity (kg/24h) |
Defrosting type (auto-defrost=A, manual defrost=M) | ||
| Pantry | No | – | – | – | – |
| Wine storage | No | – | – | – | – |
| Cellar | No | – | – | – | – |
| Fresh food | Yes | 210,0 | – | – | A |
| Chill | No | – | – | – | – |
| 0-star or ice-making | No | – | – | – | – |
| 1-star | No | – | – | – | – |
| 2-star | No | – | – | – | – |
| 3-star | No | – | – | – | – |
| 4-star | Yes | 83,0 | -18 | 3,8 | A |
| 2-star section | No | – | – | – | – |
| Variable temperature compartment | – | – | – | – | – |
| For 4-star compartments | |||||
| Fast freeze facility | No | ||||
| Light source parameters: | |||||
| Type of light source | – | ||||
| Energy efficiency class | – | ||||
| Minimum duration of the guarantee offered by the manufacturer: 24 months | |||||
| Additional information: | |||||
| Weblink to the manufacturer’s website, where the information in point4(a) Annex of Commission Regulation (EU) 2019/2019 is found: tesla.info | |||||
Link to the EU EPREL database
The QR code on the energy label supplied with the appliance provides a web link to the registration of this appliance in the EU EPREL database. Keep the energy label for reference together with the user manual and all other documents provided with this appliance.
It is possible to find information related to the performance of the product in the EU EPREL database using the link https://eprel.ec.europa.eu and the model name and product number that you can find on the rating plate of the appliance.
For more detailed information about the energy label, visit www.theenergylabel.eu.
EU DECLARATION OF CONFORMITY
Manufacturer business name: TESLA/COMTRADE DISTRIBUTION D.O.O. BEOGRAD
Manufacturer address: BULEVAR ZORANA DINDICA 125i, 11000 BEOGRAD
WE, MANUFACTURER OF BELOW DESCRIBED PRODUCTS, HEREBY DECLARE UNDER OUR SOLE RESPONSIBILITY, THAT THE PRODUCTS TO WHICH THIS DECLARATION RELATES:
product description:
ARE IN CONFORMITY WITH THE FOLLOWING STANDARDS AND LEGISLATIVE ACTS:








































