TESLA RB4600FMX Side by Side Refrigerator Freezer User Manual
SAFETY WARNINGS
- This appliance is intended to be used in household and similar applications such as staff kitchen areas in shops, offices and other working environments; farm houses and by clients in hotels, motels and other residential type environments; bed and breakfast type environments; catering and similar non-retail applications.
- If the supply cord is damaged, it must be replaced by the manufacturer, its service agent or similarly qualified persons in order to avoid a hazard.
- Do not store explosive substances such as aerosol cans with a flammable propellant in this appliance.
- The appliance has to be unplugged after use and before carrying out user maintenance on the appliance.
- Keep ventilation openings, in the appliance enclosure or in the built-in structure, clear of obstruction.
- Do not use mechanical devices or other means to accelerate the defrosting process, other than those recommended by the manufacturer.
- Do not damage the refrigerant circuit.
- Do not use electrical appliances inside the food storage compartments of the appliance, unless they are of the type recommended by the manufacturer.
- Please abandon the appliance according to local regulators for it use flammable blowing gas and refrigerant.
- When positioning the appliance, ensure the supply cord is not trapped or damaged.
- Do not locate multiple portable socket-outlets or portable power supplies at the rear of the appliance.
- Do not use extension cords or ungrounded (two prong) adapters.
- Risk of child entrapment. Before you throw away the appliance:
- Take off the doors.
- Leave the shelves in place so that children may not easily climb inside.
- The appliance must be disconnected from the source of electrical supply before attempting the installation of accessory.
- Refrigerant and cyclopentane foaming material used for the refrigerator are flammable.Therefbre, when the refrigerator is scrapped, it shall be kept away from any fire source and be recovered by a special recovering company with corresponding qualification other than be disposed by combustion, so as to prevent damage to the environment or any other harm.
- This appliance can be used by children aged from 8 years and above and persons with reduce physical sensory or mental capabilities or lack of experience and knowledge if they have been given supervision or instruction concerning use of the appliance in a safe way and understand the haza ds involved. Children shall not play with the appliance. Cleaning and user maintenance shall not be made by children without supervision. Children aged from 3 to 8 years are allowed to load and unload refrigerating appliances.
- This appliance is not intended for use by persons (including children) with reduced physical, sensory or mental capabilities, or lack of experience and knowledge, unless they have been given supervision or instruction concerning use of the appliance by a person responsible for their safety.)
- Children should be supervised to ensure that they do not play with the appliance.
- The instructions shall include the substance of the following: To avoid contamination of food, please respect the following instructions:
- Opening the door for long periods can cause a significant increase of the temperature in the compartments of the appliance.
- Clean regularly surfaces that can come in contact with food and accessible drainage systems.
- Clean water tanks if they have not been used for 48 h; flush the water system connected to a water supply if water has not been drawn for 5 days. (note 1)
- Store raw meat and fish in suitable containers in the refrigerator, so that it is not in contact with or drip onto other food.
- Two-star frozen-food compartments are suitable for storing pre-frozen food, storing or making ice-cream and making ice cubes. (note 2)
- One , two and three-star compartments are not suitable for the freezing of fresh food. (note 3)
- If the refrigerating appliance is left empty for long periods, switch off, defrost, clean, dry, and leave the door open to prevent mould developing within the appliance. Note 1,2,3: Please confirm whether it is applicable according to your product compartment type.
- This cooling device is not intended for use as a built-in device.
- Any replacement or maintenance of LED bulbs should be performed by the manufacturer, its service technician or a similarly qualified person.
- To avoid the danger of device instability, it must be repaired according to the instructions.
- Connect only to the drinking water supply. (Suitable for ice making machine)
- To prevent the child from being trapped, keep him out of the reach of children and not near the refrigerator.
Meaning of safety warning symbols
This is a prohibition symbol. Any incompliance with instructions marked with this symbol may result in damage to the product or endanger the personal safety of the user.
This is a warning symbol. It is required to operate in strict observance of instructions marked with this symbol; or otherwise damage to the product or personal injury may be caused.
This is a cautioning symbol. Instructions marked with this symbwol require special caution Insufficient caution may result in slight or moderate injury, or damage to the product,
This manual contains lots of important safety information which shall be observed by the users.
Electricity related warnings
- Do not pull the power cord when pulling the power plug of the refrigerator. Please firmly grasp the plug and pull out it from the socket directly.
- To ensure safe use, do not damage the power cord or use the power cord when it is damaged or worn.
- Please use a dedicated power socket and the power socket shall not be shared with other electrical appliances. The power plug should be firmly contacted with the socket or else fires might be caused.
- Please ensure that the grounding electrode of the power socket is equipped with a reliable grounding line.
- Please turn off the valve of the leaking gas and then open the doors and windows in case of leakage of gas and other flammable gases. Do not unplug the refrigerator and other electrical appliances considering that spark may cause a fire.
- Do not use electrical appliances on the top of the appliance, unless they are of the type recommended by the manufacturer.
Warnings for using
- Do not arbitrarily disassemble or reconstruct the refrigerator, nor damage the refrigerant circuit; maintenance of the appliance must be conducted by a specialist.
- Damaged power cord must be replaced by the manufacturer, its maintenance department or related professionals in order to avoid danger.
- The gaps between refrigerator doors and between doors and refrigerator body are small, be noted not to put your hand in these areas to prevent from squeezing the finger. Please be gentle when open the refrigerator door to avoid falling articles.
- Do not pick foods or containers with wet hands in the freezing chamber when the refrigerator is running, especially metal containers in order to avoid frostbite.
- Do not allow any child to get into or climb the refrigerator; otherwise suffocation or falling injury of the child may be caused.
- Do not place heavy objects on the top of the refrigerator considering that objectives may fall when close or open the door, and accidental injuries might be caused.
- Please pull out the plug in case of power failure or cleaning. Do not connect the freezer to power supply within five minutes to prevent damages to the compressor due to successive starts.
Warnings for placement
- Do not put flammable, explosive, volatile and highly corrosive items in the refrigerator to prevent damages to the product or fire accidents.
- Do not place flammable items near the refrigerator to avoid fires.
- The refrigerator is intended for household use, such as storage of foods; it shall not be used for other purposes, such as storage of blood, drugs or biological products, etc.
- Do not store beer, beverage or other fluid contained in bottles or enclosed containers in the freezing chamber of the refrigerator; otherwise the bottles or enclosed containers may crack due to freezing to cause damages.
Warnings for energy
- Refrigerating appliances might not operate consistently (possibility of defrosting of contents or temperature becoming too warm in the frozen food compartment) when sited for an extended period of time below the cold end of the range of temperatures for which the refrigerating appliance is designed.
- The fact that effervescent drinks should not be stored in food freezer compartments or cabinets or in low-temperature compartments or cabinets, and that some products such as water ices should not be consumed too cold;
- The need to not exceed the storage time(s) recommended by the food manufacturers for any kind of food and particularly for commercially quick-frozen food in food freezer and frozen-food storage compartments or cabinets;
- The precautions necessary to prevent an undue rise in the temperature of the frozen food while defrosting the refrigerating appliance, such as wrapping the frozen food in several layers of newspaper.
- The fact that a rise in temperature of the frozen food during manual defrosting, maintenance or cleaning could shorten the storage life.
- The necessity that, for doors or lids fitted with locks and keys, the keys be kept out of the reach of children and not in the vicinity of the refrigerating appliance, in order to prevent children from being locked inside.
PROPER USE OF REFRIGERATORS
Placement
- Before use, remove all packing materials, including bottom cushions, foam pads and tapes inside of the refrigerator; tear off the protective film on the doors and the refrigerator body.v
- Keep away from heat and avoid direct sunlight. Do not place the freezer in moist or watery places to prevent rust or reduction of insulating effect.
- Do not spray or wash the refrigerator; do not put the refrigerator in moist places easy to be splashedwith water so as not to affect the electrical insulation properties of the refrigerator.
- The refrigerator is placed in a well-ventilated indoor place; the ground shall be flat, and sturdy (rotate left or right to adjust the wheel for leveling if unstable).
- The top space of the refrigerator shall be greater than 30cm, and The refrigerator should be placed against a wall with a free distance more than 10cm to facilitate heat dissipation.

- Spare enough space for convenient opening of the doors and drawers.
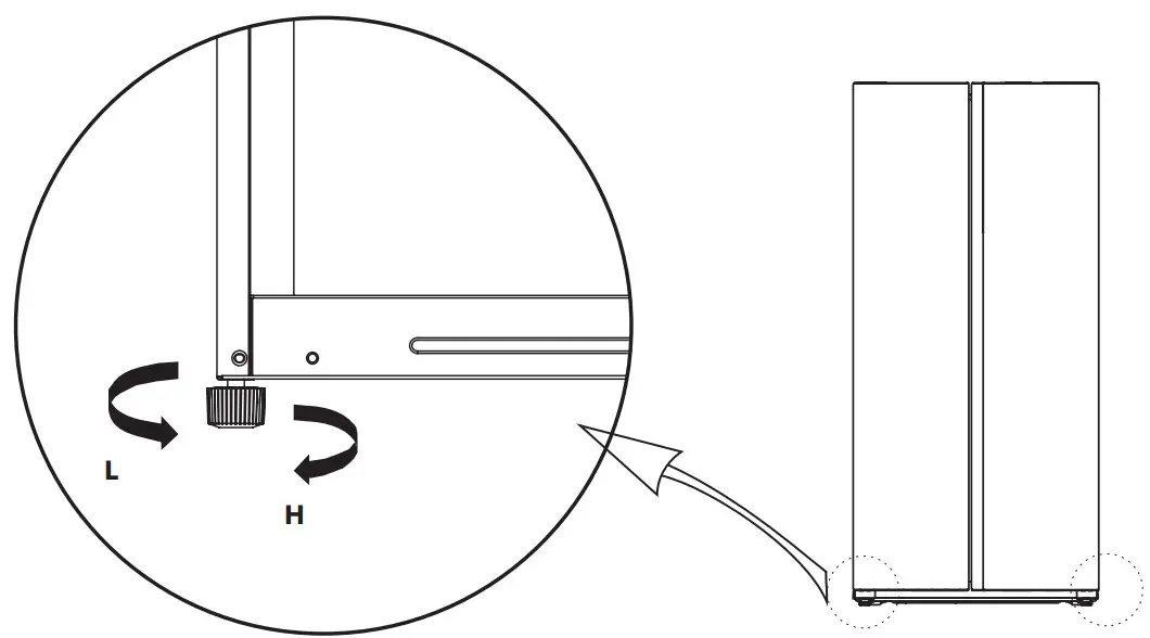
Levelling feet
Precautions before operation:
Before operation of accessories, it shall be ensured that the refrigerator is disconnected from power. Before adjusting the leveling feet, precautions shall be taken to prevent any personal injury

The picture above is only for reference. The actual configuration will depend on the physical product or statement by the distributor.
Levelling door
Precautions before operation:
Before operation of accessories, it shall be ensured that the refrigerator is disconnected from power. Before adjusting the door , precautions shall be taken to prevent any personal injury

The picture above is only for reference. The actual configuration will depend on the physical product or statement by the distributor.
When the fridge door is low:
Open the door, use a wrench to loosen the locking nut and to rotate the adjusting nut anti-clockwise to raise the height of the door. Once the doors are aligned, then tighten the locking nut by rotating it anti-clockwise.
When the fridge door is high:
Open the door, use a wrench to rotate the adjusting nut clockwise to lower the height of the door. Once the doors are aligned, then tighten the locking nut by rotating it anti clockwise.
Changing the Light
Any replacement or maintenance of the LED lamps is intended to be made by the manufacturer, its service agent or similar qualified person.
Starting to use
- Before initial start, keep the refrigerator still for half an hour before connecting it to power supply.
- Before putting any fresh or frozen foods, the refrigerator shall have run for 2-3 hours, or for above 4 hours in summer when the ambient temperature is high.
- Spare enough space for convenient opening of the doors and drawers.
- The picture above is only for reference. The actual configuration will depend on the physical product or statement by the distributor
Energy saving tips
- The appliance should be located in the coolest area of the room, away from heat producing appliances or heating ducts, and out of the direct sunlight.
- Let hot foods cool to room temperature before placing in the appliance. Overloading the appliance forces the compressor to run longer. Foods that freeze too slowly may lose quality, or spoil.
- Be sure to wrap foods properly, and wipe containers dry before placing them in the appliance. This cutsdown on frost build-up inside the appliance.
- Appliance storage bin should not be lined with aluminum foil, wax paper, or paper toweling. Liners interfere with cold air circulation, making the appliance less efficient.
- Organize and label food to reduce door openings and extended searches. Remove as many items as needed at one time, and close the door as soon as possible.
STRUCTURE AND FUNCTIONS
Key components

The picture above is only for reference. The actual configuration will depend on the physical product or statement by the distributor.
Refrigerating chamber
- The Refrigerating Chamber is suitable for storage of a variety of fruits, vegetables, beverages and other food consumed in the short term.
- Cooking foods shall not be put in the refrigerating chamber until cooled to room temperature.
- Foods are recommended to be sealed up before putting into the refrigerator.
- The glass shelves can be adjusted up or down for a proper storage space and easy use. Freezing chamber
- The low temperature freezing chamber may keep food fresh for a long time and it is mainly used to store frozen foods and making ice.
- The freezing chamber is suitable for storage of meat, fish, rice balls and other foods not to be consumed in short term.
- Chunks of meat are preferably to be divided into small pieces for easy access. Please be noted food shall be consumed within the shelf time.
Note: Storage of too much food during operation after the initial connection to power may adverselyaffect the freezing effect of the refrigerator. Foods stored shall not block the air outlet; or otherwise the freezing effect will also be adversely affected.
Functions

The picture above is only for reference. The actual configuration will depend on the physical product or statement by the distributor.
- When the power is on for the first time, full display shall last for 3 seconds, then enter into the normal operation display; (When the power is on for the first time, the setting temperature of refrigerator and freezer is 5’C/- 18’C respectively) When there is a fault, the fault code is displayed; when there is no fault, the setting range of the refrigeration compartment is displayed. The display screen is on when the refrigerate door is open while the display screen is off when the freeze door is closed;
- Key operation After each key operation of temperature adjustment, the corresponding set temperature flashes for 3S; In the refrigeration temperature setting mode, long press the setting key for 3S to switch to the freezing temperature setting mode; In the freezing temperature setting mode, long press the setting key for 3S to switch to the refrigeration temperature setting mode;
- Locking and unlocking The locking state shall be automatically entered after 30 seconds without key operation; No manual lock/unlock settings;
- When setting the refrigerating temperature, the temperature will cycle in the following order each time the setting key is pressed. In the super cool state, LED4 and LED6 will light up at the same time. Super cool exists for 6 h, as shown below:

- Freezer setting
When setting the freezer temperature, the temperature will cycle in the following order each time the setting key is pressed. In the super freeze state, LED1 and LED3 will light up at the same time, superfreeze exists for 24 h, as shown below:
- When the door is opened, the the corresponding chamber lamp are on. There is no door opening prompt tone and door opening alarm.
- Fault indication The following warnings appearing on the display indicate corresponding faults of the refrigerator. Though the refrigerator may still have cold storage function with the following faults, the user shall contact a maintenance specialist for maintenance, so as to ensure optimized operation of the appliance.
| Fault code | Fault Description |
| LED1, LED6 flash | Refrigerator temperature sensor fault |
| LED1, LED3 flash | Freezer temperature sensor fault |
| LED1, LEDS flash | Frozen defrosting sensor fault |
| LED1, LED4flash | Ambient temperature faul |
Note: The quick-freezing function is designed to maintain the nutritional value of the food in the freezer. It can freeze the food in the shortest time. If a large amount of food is frozen at one time, it is recommended that the user turn on the quick-freezing function and put the food in. At this time, the freezing speed of the Freezer compartment is increased, which can quickly freeze the food, effectively lock the nutrition of the food, and facilitate storage.
MAINTENANCE AND CARE OF THE APPLIANCE
Overall cleaning
- Dusts behind the refrigerator and on the ground shall be timely cleaned to improve the cooling effect and energy saving.
- Check the door gasket regularly to make sure there are no debris. Clean the door gasket with a soft cloth dampened with soapy water or diluted detergent.
- The interior of the refrigerator should be cleaned regularly to avoid odor.
- Please turn off the power before cleaning interior, remove all foods, drinks .shelves, drawers, etc.
- Use a soft cloth or sponge to clean the inside of the refrigerator, with two tablespoons of baking soda and a quart of warm water. Then rinse with water and wipe clean. After cleaning, open the door and let it dry naturally before turning on the power.
- For areas that are difficult to clean in the refrigerator (such as narrow sandwiches, gaps or corners), it is recommended to wipe them regularly with a soft rag, soft brush, etc. and when necessary, combined with some auxiliary tools (such as thin sticks) to ensure no contaminants or bacterials accumulation in these areas.
- Do not use soap, detergent, scrub powder, spray cleaner, etc., as these may cause odors in the interior of the refrigerator or contaminated food.
- Clean the bottle frame, shelves and drawers with a soft cloth dampened with soapy water or diluted detergent. Dry with a soft cloth or dry naturally.
- Wipe the outer surface of the refrigerator with a soft cloth dampened with soapy water, detergent, etc., and then wipe dry.
- Do not use hard brushes, clean steel balls, wire brushes, abrasives (such as toothpastes), organic solvents (such as alcohol, acetone, banana oil, etc.), boiling water, acid or alkaline items, which may damage the fridge surface and interior. Boiling water and organic solvents such as benzene may deform or damage plastic parts.
- Do not rinse directly with water or other liquids during cleaning to avoid short circuits or affect electrical insulation after immersion.
Please unplug the refrigerator for defrost and cleaning.
Cleaning of door tray, Fruits and vegetables box and drawer
- According to the direction arrow in the figure below, use both hands to squeeze the tray, and push it upward, then you can take it out.
- After washing the tray having been taken out, you can adjust its installing height in accordance with your requirement. Soft towels or sponge dipped in water and non-corrosive neutral detergents are suggested for cleaning. The freezer of shall be finally cleaned with clean water and dry cloth. Open the door for natural drying before the power is turned on. Do not use hard brushes, clean steel balls, wire brushes, abrasives, such as toothpastes, organic solvents (such as alcohol, acetone, banana oil, etc.), boiling water, acid or alkaline items clean refrigerator considering that this may damage the fridge surface and interior.

The picture above is only for reference. The actual configuration will depend on the physical product or statement by the distributor.
Cleaning of Glass shelf
- As the innermost part of the refrigerator liner where contacting the shelves has a backstop, you shall raise the shelves upward, then you can be able to take it out.
- Adjust or clean the shelves according to your requirement. Soft towels or sponge dipped in water and non-corrosive neutral detergents are suggested for cleaning. The freezer of shall be finally cleaned with clean water and dry cloth. Open the door for natural drying before the power is turned on. Do not use hard brushes, clean steel balls, wire brushes, abrasives, such as toothpastes, organic solvents (such as alcohol, acetone, banana oil, etc.), boiling water, acid or alkaline items clean refrigerator considering that this may damage the fridge surface and interior.

Defrosting
- The refrigerator is made based on the air-cooling principle and thus has automatic defrosting function. Frost formed due to change of season or temperature may also be manually removed by disconnection of the appliance from power supply or by wiping with a dry towel.
Out of operation
- Power failure: In case of power failure, even if it is in summer, foods inside the appliance can be kept for several hours; during the power failure, the times of door opening shall be reduced, and no more fresh food shall be put into the appliance.
- Long-time nonuse: The appliance shall be unplugged and then cleaned; then the doors are left open to prevent odor.
- Moving: Before the refrigerator is moved, take all objects inside out, fix the glass partitions, vegetable holder, freezing chamber drawers and etc. with tape, and tighten the leveling feet; close the doors and fix them with tape. During moving, the appliance shall not be laid upside down or horizontally, or be vibrated; the inclination during movement shall be no more than 45°.
The appliance shall run continuously once it is started. Generally, the operation of the appliance shall not be interrupted;otherwise the service life may be impaired.
TROUBLESHOOTING
You may try to solve the following simple problems by yourself. If them cannot be solved, please contact the after-sales department.
| Failed operation | Check whether the appliance is connected to power or whether the plug is in well contactCheck whether the voltage is too lowCheck whether there is a power failure or partial circuits have tripped |
| Odor | Odorous foods shall be tightly wrapped Check whether there is any rotten food Clean the inside of the refrigerator |
| Long-time operation of the compressor | Long operation of the refrigerator is normal in summer when the ambient temperature is highIt is not suggestible having too much food in the appliance at the same time Food shall get cool before being put into the applianceThe doors are opened too frequently |
| Light fails to get lit | Check whether the refrigerator is connected to power supply and whether the illuminating light is damagedHave the light replaced by a specialist |
| Doors cannot be properly closed | The door is stuck by food packages The refrigerator is tilted |
| Loud noise | Check whether the floor is level and whether the refrigerator is placed stably Check whether accessories are placed at proper locations |
| Door seal fails to be tight | Remove foreign matters on the door sealHeat the door seal and then cool it for restoration(or blow it with an electrical drier or use a hot towel for heating) |
| Water pan overflows | There is too much food in the chamber or food stored contains too much water, resulting in heavy defrostingThe doors are not closed properly, resulting in frosting due to entry of air and increased water due to defrosting |
| Hot housing | Heat dissipation of the built-in condenser via the housing, which is normal. When housing becomes hot due to high ambient temperature and storage of too much food, it is recommended to provide sound ventilation to facilitate heat dissipation. |
| Surface condensation | Condensation on the exterior surface and door seals of the refrigerator is normal when the ambient humidity is too high. Just wipe the condensate with a clean towel. |
| Abnormal noise | Buzz: The compressor may produce buzzes during operation, and the buzze: are loud particularly upon start or stop. This is normal.Creak: Refrigerant flowing inside of the appliance may produce creak, which is normal. |
Warnings for disposal
Refrigerant and cyclopentane foaming material used for the refrigerator are flammable. Therefore, when the refrigerator is scraped, it shall be kept away from any fire source and \ be recovered by a special recovering company with corresponding qualification other than be disposed by combustion, so as to prevent damage to the environment or any other
When the refrigerator is scraped, disassemble the doors, and remove gasket of door and shelves; put the doors and shelves in a proper place, so as to prevent trapping of any child.
Correct Disposal of this product:
This marking indicates that this product should not be disposed with other household wastes throughout the EU. To prevent possible harm to the environment or human health from uncontrolled waste disposal, recycle it responsibly to promote the sustainable reuse of material resources. To return your used device, please use the return and collection systems or contact the retailer where the product was purchased. They can take this product for environmental safe recycling.
| PRODUCT INFORMATION SHEETCOMMISSION DELEGATED REGULATION (EU) 2019/2016with regard to energy labelling of refrigerating appliances | |||||
| Supplier’s name or trademark: Tesla | |||||
| Supplier’s address: Tesla Electronics, Litijska 47, 1000 Ljubljana, SI | |||||
| Model identifier: RB4600FMX | |||||
| Type of refrigerating appliance: | |||||
| Low-noise appliance: | No | Design type: | freestanding | ||
| Wine storage appliance: | No | Other refrigerating appliance: | No | ||
| General product parameters: | |||||
| Parameter | Value | Parameter | Value | ||
| Overall dimensions (millimetre) | Height | 1 775 | Total volume (dm³ or l) | 460 | |
| Width | 835 | ||||
| Depth | 635 | ||||
| EEI | 124 | Energy efficiency class | F | ||
| Airborne acoustical noise emissions (dB(A) re 1 pW) | 41 | Airborne acoustical noise emission class | C | ||
| Annual energy consumption (kWh/a) | 365 | Climate class: | extended temperate, temperate, subtropical, tropical | ||
| Minimum ambient temperature (ºC), for which the refrigerating appliance is suitable | 10 | Maximum ambient temperature (ºC), for which the refrigerating appliance is suitable | 43 | ||
| Winter setting | No | ||||
| Compartment Parameters: | |||||
Compartment type | Compartment parameters and values | ||||
Compartment volume (dm³ or l) | Recommended temperature setting for optimised food storage (ºC) These settings shall not contradictthe storage conditions set out in Annex IV, Table 3 | Freezing capacity (kg/24h) | Defrosting type (auto- defrost=A, manual defrost=M) | ||
| Pantry | No | – | – | – | – |
| Wine storage | No | – | – | – | – |
| Cellar | No | – | – | – | – |
| Fresh food | Yes | 271,0 | 4 | – | A |
| Chill | No | – | – | – | – |
| 0-star or icemaking | No | – | – | – | – |
| 1-star | No | – | – | – | – |
| 2-star | No | – | – | – | – |
| 3-star | No | – | – | – | – |
| 4-star | Yes | 189,0 | -18 | 12,0 | A |
| 2-star section | No | – | – | – | – |
| Variable temperature compartment | – | – | – | – | – |
| For 4-star compartments | |||||
| Fast freeze facility | Yes | ||||
| Light source parameters: | |||||
| Type of light source | LED | ||||
| Energy efficiency class | – | ||||
| Minimum duration of the guarantee offered by the manufacturer: 24 months | |||||
| Additional information: | |||||
| Weblink to the manufacturer’s website, where the information in point4(a) Annex of Commission Regulation (EU) 2019/2019 is found: tesla.info | |||||






















