cecotec Fast and Furious 9040 Absolute Powerful Steam Station

SAFETY INSTRUCTIONS
Read these instructions thoroughly before using the appliance Keep this instruction manual for future reference or new users. Make sure that the mains voltage matches the voltage stated on the rating label of the appliance and that the wall outlet is grounded. This appliance is designed for domestic use only. Do not use it for commercial or industrial purposes. This product is a high-power home appliance. To reduce the possibility of circuit overload, please do not use high-power appliances or excessive electrical appliances on the same AC power outlet. Otherwise, there may be a risk of shock. e or electric Do not operate the appliance ifit has dropped, ifit shows visible signs of damage, or if it leaks. Do not immerse the cord, plug. or any non-removable part of the appliance in water or any other liquid, nor expose the electricalconnections to water. Make sure your hands are drybefore handling the plug or switching on the appliance. It is recommended to use pure water with this product, not distilled water. Before using this product, please check the water tank carefully for the right amount of water. Check the power cord regularly for visible damage. Ifthe cord isdamaged, it must be replaced by the o Service of Cecotec in order to avoid any type of danger. Never leave the appliance unattended when it is connected to the mains. Do not add hot water to the water tank, otherwise, the water Technical Support tank will be deformed. Do not add solutions such as cleaning agents to the water tank, and do not inject perfume, vinegar, starch, descaling agents, or other chemicals into the water tank. Do not bend the steam hose or block the steam outlet to avoid accidents caused by high air pressure. When there is water in the water tank, please keep the whole machine upright. Do not tip or shake the machine to prevent water from wing out of the machine. Never let the main cord and steam tubes come into contact with the hot soleplate of the iron. Do not open the drain valve before the machine is completely cooled. Never remove the ironing board cover while ironing or immediately after use. Always let the appliance cool down y before removing the cover. Do not leave the device in use on clothes or cloth covers for a long time to avoid damage. Do not pull on the cord to disconnect or move the device. Instead, pull on the plug. Do not allow the power cord to come into contact with sharp edges or surfaces to prevent damage to the power cord. When using the various detachable accessories of the machine, do it in a non-steam mode to avoid being scalded by hot steam The appliance will reach very high temperatures during and after use, especially the soleplate. Do not touch it to avoid burns. Unplug the device from the power supply as soon as you have used it, before cleaning it, or before leaving it unattended. Do not move the appliance during use. Do not use the appliance with wet fabrics. Always place and use the appliance on a Do not cover the device with any cloth or plastic immediately after use. Always transport the appliance with its components stored
and with the ironing board folded. Make sure transportation is safe. Do not pull from the power cord to unplug or move the appliance, use the plug instead. The appliance is not intended to be used by children under the age of 12. It can be used by children over the age of 12, as long as they are given continuous supervision. This appliance can be used by children aged 12 and above, and persons with reduced physical, sensory or mental capabilitiess or lack of experience and knowledge, as long as they have been given supervision or instruction concerning the use of the appliance in a safe way and understand the hazards involved. Supervise young children to make sure that they do not play with the appliance. Close supervision is necessary when the appliance is being used by or near children.
ARTS AND COMPONENTS
Img.1.
- Hanger
- Light indicator
- Intermittent steam
- Continuous steam
- Steam adjustment
- Power cord
- Water knob
- Outlet valve
- Lack of water
- Descale
- Operation light indicator
- Switch
- Watertank
- Body
- Base
BEFORE USE
Note: Some parts of the steam iron have been slightly greased and as a result, the iron may slightly smoke when switched on for the time. After a short time, this will cease. Take the product out of the box. Make sure all parts and components are included and in good conditions. Ifany visible signs of damage are observed, contact the Technical Support Service immediately. Remove any packaging materials, stickers or protective foil from the soleplate. Clean the soleplate with a soft cloth.
OPERATION
Product installation Hanger support rod installation Take out the support rod assembly and insert it into the body vertically through the hole of the support rod into place. frame following the indications on the e. The support rod will click
Img. 2.
Insert it in the direction shown by the arrow and check if it is in place by pulling it back after clicking into place. Support rod height adjustment Release the support rod lock, adjust it to the desired height, and then fasten the support rod k again.
Img. 3
Once the height is adjusted, you may use a hanger to iron sheets, dresses, or delicate garments comfortably. (Only included in Fast&Furious 9050 X-Treme)
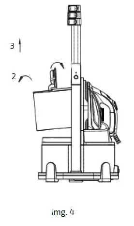
Note: Before use, check whether there are deposits in the water pump inlet tank of the machine body. If there is any deposit, please remove it; if the steam hose outlet is blocked, clear it. Water tank Open the water tank by pulling upward from the handle and adding water. Then place the water tank in the main unit and cover the water tank handle.
Img. 4.
It is recommended to use tap water at room temperature to use the device. Do not use hot water, vinegar, starch, detergent, additives or other chemical products. If the water in your zone contains high amounts of scale, mix demineralized water or distilled water with tap water.
Warning: Do not use distilled, descaled or perfumed water only. How to use the steam station
Note: Be careful of hot water from the steam outlet of the iron before use to prevent burns. When using the appliance, pay attention to prevent the danger caused by steam spray.
Image 5
Steam levels
- Dry clothes
- Fiber
- Silk
- wool
- Cotton
- Linen
Horizontal ironing
Place the clothes horizontally on the ironing board. Connect the device toa power supply. The device will beep and the lack of water and descalung indicatorswll ounk dnd turno The operation light indicator will turn on and then enter standby mode. Press the main switch, the operation light indicatorwill blink. The device will start preheating. this process will take 2 minutes 30 seconds approximately. During this process, n steam willbe emitted. Once the device is preheated, the operation light indicatorwill remain steady. Press the manual steam switch to release steam or press the automatic steam switch automaticaly releases steam during1 second and then stops tor 1 second). At this time, the iron knob can be adjusted. There are 6 modes: Dry clothes, chemical e, silk, wool, cotton and linen. Select the desired one according to the type ot garment to be ironed. Vertical steam ironing Hang the clothes or garment from the device. Connect the device toa power supply. The device will beep and the lack of water and descaling indicators will blink and turn o. The operation light indicatorwill turn on and then enter standby mode. Press the main switch, the operation light indicatorvwill blink. The device will start preheating. this process will take 2 minutes 30 seconds approximately. During this process, no steam will be emitted. Once the device is preheated, the operation light indicator will remain steady on. For hanging curtains and clothes (coats, suits. jackets, etc.), use the vertical ironing function. At this time, the iron is lifted and the steam is sprayed on the clothes Spray back and forth several times to remove creases.
Warning: The iron will spray hot steam. Never try to use it on clothing that someone is
wearing. Never use steam on yourself or others. After use After using the device, turn it o from the main switch and unplug itfrom the power supply. Let the iron rest on its heel. Wind the power cord around the base and with the clamp. Allow the machine to cool naturally before storin8
CLEANING AND MAINTENANCE
After using the product for a period of time (the cumulative working time reaches 10 hours or the continuous use of 10 boxes of water), it must be cleaned and maintained. To avoid the risk of burns, remove the power plug and allow the machine to cool down for at least two hours before descaling. Unplug the power plug when servicing, cleaning, or repairing the product. If there is any fabric adhered to the soleplate, use a damp cloth with vinegar to wipe off the soleplate. Do not use abrasive scouring pads, powders or cleaners to clean the product. Stam generator descaling Residual water in the part where the water tank is connected to the body must be cleaned up to prevent scale from building up. During use, after the machine has accumulated 10 hours of working time or ten times of use, the descaling indicator light will turn on, reminding the user that descaling is required. Follow the below steps: Turn the device off and unplug it from the power supply. When the device has cooled down to room temperature, remove the water tank from the main body and turn the water valve by hand to drain the remaining water in the machine.
Fig. 6.
Mix 15 g of the descaling product (if there is more scale, please increase the descaling product quantity as appropriate) and 1L of water, pour it into the machine through the drain valve port, tighten the drain valve and shake it for 3-5 times. You may also use white vinegar with water in a 1:1 solution. If there is more scale, please increase the amount of vinegar as appropriate. Pour the mixed liquid into the drain valve hole and tighten the drain valve so that the amount of mixed liquid does not overflow the machine. Let the mixture stand at room temperature for 1-2 hours (if there is more scale, let it sit for longer, but do not exceed 8 hours). Pour the mixed liquid out of the drain valve. Fill the drain valve port with clear water, and then pour the water from the drain valve port. Repeatedly inject clean water until the residual scale and organic acid smell disappear. Rinse well. After the descaling process is completed, the descaling indicator will blink. Press and hold the main switch for five seconds to turn off the indicator.
Descaling
Pour the mixed liquid into the water tank to the maximum scale line, turn the steam adjustment knob to the maximum position, and press the auto steam button until all the water in the water tank is sprayed out. Then clean the water tank, fill it with an appropriate amount of clean water, and run it for a period of time until the sprayed steam has no vinegar smell.
TECHNICAL SPECIFICATIONS
- 05595 Fast&Furious 9040 Absolute
- 05596 Fast&Furious 9050 X-Treme
- 2600 W, 220-240 V~, 50 Hz
- Made in China | Designed in Spain
DISPOSAL OF OLD ELECTRICAL APPLIANCES
The European directive 2012/19/EU on Waste Electrical and Electronic Equipment (WEEE)that old household electrical appliances must not be disposed of with the normal unsorted municipal waste. Old appliances must be collected separately, in order to optimize the recovery and recycling of the materials they contain and reducing the impact on human health and the environment. The crossed out “wheeled bin” symbol on the product reminds you of your obligation to dispose of the appliance correctly. Consumers must contact their local authorities or retailer for information concerning the correct disposal of old appliances and/or their batteries.
TECHNICAL SUPPORT AND WARRANTY
This product is under warranty for 2 years from the date of purchase, as long as the proof of purchase is submitted, the product is in perfect physical condition, and it has been given proper use, as explained in this instruction manual. th The warranty will not cover the following situations: The product has been used for purposes other than those intended for it, misused, beaten, exposed to moisture, immersed in liquid or corrosive substances, as well as any other fault attributable to the customer. The prepared by persons, not authorized by the o Technical Support Service of Cecotec. Faults deriving from the normal wear and tear of its parts, due to use. The warranty service covers every manufacturing defects of your appliance for 2 years, based on current legislation, except consumable parts. In the event of misuse, the warranty will not apply. If at any moment you detect any problem with your product or have any doubt, do not hesitate to contact Cecotec Technical Support Service at +34 963 210 728
- www.cecotec.es
- Grupo Cecotec Innovaciones S.L.
- C/ de la Pinadeta s/n, 46930
- Quart de Poblet, Valencia (Spain)
- ICO1201021




















