emerio SG-123562 Steam Station

SAFETY INSTRUCTIONS
Before use make sure to read all of the below instructions in order to avoid injury or damage, and to get the best results from the appliance. Make sure to keep this manual in a safe place. If you give or transfer this appliance to someone else make sure to also include this manual.
In case of damage caused by user failing to follow the instructions in this manual the warranty will be void. The manufacturer/importer accepts no liability for damages caused by failure to follow the manual, a negligent use or use not in accordance with the requirements of this manual.
- This appliance can be used by children aged from 8 years and above and persons with reduced physical, sensory or mental capabilities or lack of experience and knowledge if they have been given supervision or instruction concerning use of the appliance in a safe way and understand the hazards involved.
- Children shall not play with the appliance.
- Cleaning and user maintenance shall not be made by children without supervision.
- If the supply cord is damaged, it must be replaced by the manufacturer, its service agent or similarly qualified persons in order to avoid a hazard.
- The iron must not be left unattended while it is connected to the supply mains.
- Keep the iron and its cord out of reach of children less than 8 years of age when it is energized or cooling down.
- The iron must be used and rested on a flat, stable surface.
- When placing the iron on its stand, ensure that the surface on which the stand is placed is stable.
- The filling aperture must not be opened during use.
- The iron is not to be used if it has been dropped, if there are visible signs of damage or if it is leaking.
- Before inserting the plug into the mains socket, please check that the voltage and frequency comply with the specifications on the rating label.
- If an extension cord is used it must be suited to the power consumption of the appliance, otherwise overheating of the extension cord and/or plug may occur. There is a potential risk of injuries from tripping over the extension cord. Be careful to avoid dangerous situations.
- Disconnect the mains plug from the socket when the appliance is not in use and before cleaning.
- Ensure that the mains cable is not hung over sharp edges and keep it away from hot objects and open flames.
- Do not immerse the appliance or the mains plug in water or other liquids. There is danger to life due to electric shock!
- To remove the plug from the plug socket, pull the plug. Do not pull the power cord.
- Do not touch the appliance if it falls into water. Remove the plug from its socket, turn off the appliance and send it to an authorized service center for repair.
- Do not plug or unplug the appliance from the electrical outlet with a wet hand.
- Never attempt to open the housing of the appliance, or to repair the appliance yourself. This could cause electric shock.
- Never leave the appliance unattended during use.
- This appliance is not designed for commercial use. Indoor use only.
- o not use the appliance for other than intended use.
- The iron should always be off before plugging or unplugging from the wall socket.
- Never use the appliance if damaged in anyway.
- When leaving, even when only for a short while, always unplug the iron.
- Burns can occur from touching hot metal parts, hot water or steam.
- Keep the soleplate smooth. Avoid hard contact with a metal object.
- The cord should not be allowed to touch the soleplate when it is hot.
- Prevent water overflow. Do not fill over max level.
- When using the iron for the first time use it on an old piece of fabric to check if the soleplate and water from the water tank are completely clean.
- The iron shall be used on a stable ironing board.
- The appliance must use pure water or steam water, not tap water or other liquids.
- Do not aim the steam at people or animals to avoid burns.
- Use the provided base. The base shall not be replaced arbitrarily to avoid danger.
Caution, hot surface
WARNING: Please do not touch surface while in use. The temperature of accessible surfaces may be high when the appliance is operating. - Regarding the instructions for cleaning and maintenance, please refer to the below paragraphs.
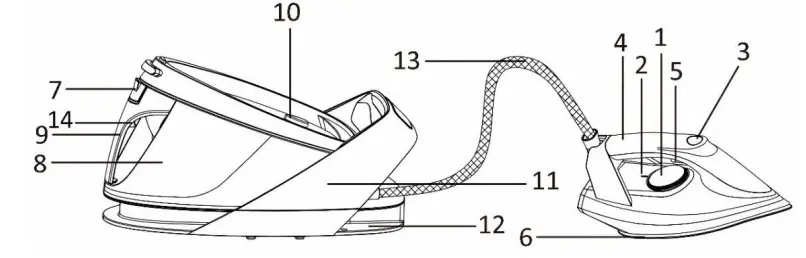
PARTS IDENTIFICATION
- Temperature regulator
- Temperature indicate line
- Indicator light
- Iron handle
- Steam button & steam button lock
- Ceramic soleplate
- Water inlet cover
- Water tank
- Water tank handle
- Thermal insulation stand
- Unit base
- Cord winding groove
- Steam supply hose
- Water tank separation button
BEFORE INITIAL USAGE
Remove all packaging material. Make sure the appliance is unplugged and the temperature regulator is set at position “OFF”.
Fill water into the water tank up to the max level marked on the water tank. The appliance must use pure water or steam water, not tap water or other liquids.
How to fill water:
Grasp the water tank handle and press the separation button to pull out the water tank from unit base. Then open the water inlet cover to fill in the proper water.
Insert the power plug in to a designated outlet and set the temperature regulator on the highest temperature setting. After the indicator light goes off, press and hold the steam button for steam ironing and iron on an old piece of cloth to remove possible residue. (Refer to “steam ironing”)
Note
- With first use, these can be slight odour or smoke. But this is harmless and only of short duration. Make sure there is adequate ventilation.
- When you activate the steam function, the appliance may produce a pumping sound. This is normal; the sound tells you that water is pumped into the appliance.
- Continuously refill function: During operation, if the water tank is empty, you can take out the water tank and refill.
OPERATION
Before selecting the temperature, read the instruction manual for the iron or the care advice on the tag of the clothing.
Note: If there is no care advice on the piece of clothing, then you should begin ironing with the lowest temperature.
| OFF | Off |
| ● | Synthetic |
| ●● | Silk, wool |
| ●●● MAX | Linen, cotton, highest temperature |
DRY IRONING
- Place the iron on the thermal insulation stand of the unit base. Ensure that the steam button is not locked.
- Connect the iron to a suitable mains supply outlet.
- Select the setting on the temperature regulator.
- When the indicator light goes off (about 1 minute), the required temperature is reached. The iron is ready for use.
- To turn off the iron, turn the temperature regulator counter-clockwise to position “OFF”. Put the iron back onto the unit base, and pull out the power plug.
Warning: Never touch the hot soleplate at any time before cooling down!
STEAM IRONING
- Put the unit base on a stable and level surface.
- Fill the water tank with water through the filling aperture. (Refer to “How to fill water” in “BEFORE INITIAL USAGE”). The max capacity of water tank is 1.5L, the water level shall not exceed the “MAX” mark on the water tank.
- Place the iron on the thermal insulation stand of the unit base. Ensure that the steam button is not locked.
- Connect the plug to the wall outlet. Turn the temperature regulator to select your desired temperature setting (Steam can only be triggered in setting “●●●MAX”). The iron starts heating and the temperature indicator illuminates.
- When the indicator light goes off, the required temperature is reached. The iron is ready for use.
- Press and hold the steam button for steam ironing; steam starts coming out from the holes in the soleplate while ironing. The max steam output is 200g.
Press the steam button lock downward to lock the steam button for continuous steam. - Vertical steam function: the steam function can also be applied when holding the iron in vertical position, which is useful for removing creases from hanging clothes, curtains, etc.
- To turn off the iron, turn the temperature regulator counter-clockwise to position “OFF”. Put the iron back onto the unit base, and pull out the power plug.
Cord winding groove
When not in use, the steam supply hose can be winded along the cord winding groove for storage.
Iron lock device
When not in use, or when you want to move the appliance, the iron can be lock onto the unit base by pressing the lock button. Press the unlock button to release.
Cautions
- Do not touch the hot soleplate at any time before cooling down!
- Never direct the steam at people!
- Do not activate the steam button when the iron is placed on the unit base to avoid being scalded by steam.
- After ironing, the soleplate is still hot. Never touch it with hand and place it on the thermal insulation stand until it cools down completely.
LOW TEMPERATURE PROTECTION FUNCTION
In order to prevent water leak from the soleplate if too low temperature has been selected, the product is designed with a low temperature protection function. The pump will not work while press the steam button if the temperature is set below setting “●●●”.
BUILD IN ANTI SCALE SYSTEM
The build-in anti-scale cartridge is designed to reduce the build-up of limescale which occurs during steam ironing. This will prolong the working life of your iron. However, please note that the anti-scale cartridge will not completely stop the natural process of limescale build-up.
CLEANING
- Before cleaning the iron ensure it is disconnected from the power supply and has completely cooled down.
- Deposits on the soleplate may be removed with a rough cloth soaked in a vinegar water solution.
- The casting and base unit may be wiped with a damp cloth and then polished with a dry one.
- Do not use abrasives on the soleplate.
- Keep the soleplate smooth. Avoid hard contact with metal objects.
IRONING TIPS
- The iron heats up quicker than cooling down. Therefore, you should start ironing the articles requiring the lower temperature such as those made of the synthetic fiber.
- If the fabric consists of various kinds of fibers, you must always select the lowest ironing temperature to iron the composition of those fibers.
- Synthetic fiber and silk fabrics should be ironed on their inner side to avoid being shone.
- Velvet and other textures that rapidly become shiny should be ironed in one direction with light pressure applied. Always keep the iron moving at any moment.
- Pure wool fabrics (100% wool) may be ironed with the steam ironing. Use a dry cloth as a mat and then select the corresponding fabric setting for ironing.
- Never iron over zip, rivet in the cloth. This will damage the soleplate. Iron around any such object.
NOTE: When ironing woolen fabrics, shining of the fabric may occur. So it is suggested that you should turn the article inside out and iron the reverse side.
If problems occur?
| Brown streaks come through the holes in the soleplate and stain the linen. | You are using chemical descaling agents. | Do not add any descaling agents to the water. |
| Fabric fibers have accumulated in the holes of the soleplate and are burning. | Let the iron cool down and clean the soleplate with a sponge. Vacuum the holes of the soleplate from time to time. | |
| Your linen has not been rinsed sufficiently or you have ironed a new garment before washing it. | Make sure that your laundry is rinsed sufficiently so as to remove any deposits of soap or chemical products on new clothes. | |
| The soleplate is dirty or brown and can stain the linen. | You are ironing with a too high temperature. | Let the iron cool down and clean the soleplate with a sponge. Select the appropriate program. |
| The soleplate is scratched. | You have placed your iron flat on a metal rest-plate or ironed over a zip. | Always set your iron on its heel. Do not iron over zips. |
TECHNICAL DATA
- Operating voltage: 220-240V ~ 50-60Hz
- Power: 2200W
GUARANTEE AND CUSTOMER SERVICE
Before delivery our devices are subjected to rigorous quality control. If, despite all care, damage has occurred during production or transportation, please return the device to your dealer. In addition to statutory legal rights, the purchaser has an option to claim under the terms of the following guarantee:
For the purchased device we provide 2 years guarantee, commencing from the day of sale. If you have a defective product, you can directly go back to the point of purchase.
Defects which arise due to improper handling of the device and malfunctions due to interventions and repairs by third parties or the fitting of non-original parts are not covered by this guarantee. Always keep your receipt, without the receipt you can’t claim any form of warranty. Damage caused by not following the instruction manual, will lead to a void of warranty, if this results in consequential damages then we will not be liable. Neither can we hold responsible for material damage or personal injury caused by improper use or if the instruction manual are not properly executed. Damage to accessories does not mean free replacement of the whole appliance. In such case please contact our service department. Broken glass or breakage of plastic parts is always subject to a charge. Defects to consumables or parts subjected to wearing, as well as cleaning, maintenance or the replacement of said parts are not covered by the warranty and are to be paid.
ENVIRONMENT FRIENDLY DISPOSAL
Recycling – European Directive 2012/19/EU
This marking indicates that this product should not be disposed with other household wastes. To prevent possible harm to the environment or human health from uncontrolled waste disposal, recycle it responsibly to promote the sustainable reuse of material resources. To return your used device, please use the return and collection systems or contact the retailer where the product was purchased. They can take this product for environmental safe recycling.
Emerio B.V. Oudeweg 115 2031 CC Haarlem The Netherlands
Customer service
- T: +31 (0) 23 3034369 www.emerio.eu/service
Kundeninformation:
- T: +49 (0) 3222 1097 600 www.emerio.eu/service
Klantenservice:
- T: +31 (0) 23 3034369 www.emerio.eu/service
Looking for spare parts? Have a look at www.spareparts.emerio.eu




















