emerio BL-126659.1 Blender

SAFETY INSTRUCTIONS
Before use make sure to read all of the below instructions in order to avoid injury or damage, and to get the best results from the appliance. Make sure to keep this manual in a safe place. If you give or transfer this appliance to someone else make sure to also include this manual.
In case of damage caused by user failing to follow the instructions in this manual the warranty will be void. The manufacturer/importer accepts no liability for damages caused by failure to follow the manual, a negligent use or use not in accordance with the requirements of this manual.
- Warning: Potential risk of injuries from misuse.
- Always disconnect the appliance from the supply if it is left unattended and before assembling, disassembling or cleaning.
- This appliance shall not be used by children. Keep the appliance and its cord out of reach of children.
- Appliances can be used by persons with reduced physical, sensory or mental capabilities or lack of experience and knowledge if they have been given supervision or instruction concerning use of the appliance in a safe way and if they understand the hazards involved.
- Children shall not play with the appliance.
- If the supply cord is damaged, it must be replaced by the manufacturer, its service agent or similarly qualified persons in order to avoid a hazard.
- Switch off the appliance and disconnect from supply before changing accessories or approaching parts that move in use.
- Care shall be taken when handling the sharp cutting blades, emptying the bowl and during cleaning.
- Before inserting the plug into the mains socket, please check that the voltage and frequency comply with the specifications on the rating label.
- If an extension cord is used it must be suited to the power consumption of the appliance, otherwise overheating of the extension cord and/or plug may occur. There is a potential risk of injuries from tripping over the extension cord. Be careful to avoid dangerous situations.
- Disconnect the mains plug from the socket when the appliance is not in use and before cleaning.
- Ensure that the mains cable is not hung over sharp edges and keep it away from hot objects and open flames.
- Do not immerse the appliance or the mains plug in water or other liquids. There is danger to life due to electric shock!
- To remove the plug from the plug socket, pull the plug. Do not pull the power cord.
- Do not touch the appliance if it falls into water. Remove the plug from its socket, turn off the appliance and send it to an authorized service center for repair.
- Do not plug or unplug the appliance from the electrical outlet with a wet hand.
- Never attempt to open the housing of the appliance, or to repair the appliance yourself. This could cause electric shock.
- Never leave the appliance unattended during use.
- This appliance is not designed for commercial use. Do not use outdoors.
- Do not use the appliance for other than intended use.
- Do not wind the cord around the appliance and do not bend it.
- The use of accessory attachment not recommended by the appliance manufacturer may cause injuries.
- Do not allow children to use the blender without supervision.
- Keep hands and utensils out of container while blending to reduce the risk of severe injury to persons or damage to the blender.
- To reduce the risk of injury, never place blade assembly on motor base without the jug/bottle properly attached.
- When removing the jug/bottle from the motor base, wait until the blades have completely stopped.
- Always operate blender with cover in place.
- Always use the appliance on a secure, dry level surface.
- Never place this appliance on or near a hot gas or an electric burner or where it could touch a heated appliance.
- Be careful if hot liquid is poured into the food processor or blender as it can be ejected out of the appliance due to a sudden steaming.
- Regarding the instructions for cleaning the surfaces which come in contact with food, speed settings and operating times, please refer to the below paragraph of the manual.
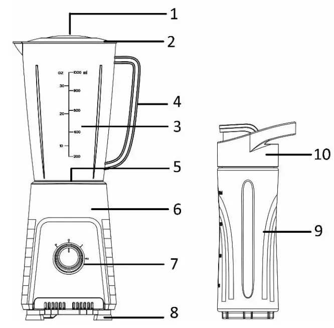
FEATURES
- Measuring cup
- Lid
- Jug (1000ml)
- Jug handle
- Blade assembly
- Motor base
- Control knob
- Base foot
- Plastic bottle (600ml)
- Bottle Lid

Control knob
- P = Pulse
- 0 = Off
- 1 = Low speed
- 2 = High speed
HOW TO USE
Caution: Make sure the motor base is unplugged from the power source and the control knob is set at the position 0.
- Clean the blender according to the instructions in the “CLEANING AND MAINTENANCE” section.
- Fasten the blade assembly to the jug.
- Place the jug onto the motor base. Align the mark “▽” on the blade assembly with “
” on the motor base, then rotate the jug clockwise to have it locked on the motor base. The blender will not work if the jug isn’t locked into the motor base properly. - Put the liquid and diced food into the jug (do not over the max line). The recommended ratio of the liquid and diced food shall be 3:2 and never fill the jug with ingredients that exceed 35°C.
- Put the lid onto the jug. Insert the measuring cup into the middle of the lid, rotate clockwise to lock.
- Put the plug into the power outlet. Switch on the appliance by rotating the control knob to choose the speed 1, 2 or pulse function.
Pulse function: rotate and hold the control knob to position P; release the knob, the knob will back to position 0, and the appliance will stop working. - After use, rotate the control knob to the position 0 and remove the plug from the outlet.
- You can also use the bottle instead of the jug if you like:
- Put the liquid and diced food into the bottle (do not over the max line), then fasten the blade assembly to the bottle opening. Never fill the bottle with ingredients that exceed 50°C.
- Place the bottle onto the motor base and lock, then you can begin the blending.
- When finished, replace the blade assembly with the bottle lid. In this way you have got a bottle of healthy drink to enjoy freely.
Note:
- For quick or delicate blending tasks, turn the control knob to the position P and hold it for a few seconds. Operate several times until the consistence you want is obtained.
- For each use, the consecutive operation time should not exceed 1 minute. For 1 minute of operation, the appliance shall rest 1 minute accordingly; that’s a cycle. At least 30 minutes of rest time are required after 5 cycles to let the appliance cool to the room temperature.
- If you want to add ingredients while the blender is working, just open the measuring cup and add the ingredients through the opening.
CAUTION
- Never use boiling liquids.
- Never run the blender empty or with solids only.
- To reduce the risk of injury, never operate the appliance without the lid and measuring cup in place.
- Do not remove the jug from the motor base while the appliance is in operation.
- Do not use the appliance if blade assembly is bent or damaged.
Important operating tips
- Some of the tasks that cannot be performed efficiently with a blender are: beating egg whites, whipping cream, mashing potatoes, grinding meat, mixing dough, extracting juice from fruit and vegetables, etc.
- The following items should never be placed in the unit as they may cause damage: bones, large pieces of hard things, frozen food, or tough foods.
- The blender cannot crush ice.
CLEANING AND MAINTENANCE
Caution:
Handle the blade assembly with care as the blades are sharp!
For easier cleaning, please always wash immediately after use.
During cleaning, pay attention to the proper water temperature (< 50°C) for accessories.
- Pour a little warm soapy water into the jug / bottle and push the knob to P position for a few seconds. And then empty the jug / bottle.
- Remove the mains plug from the wall socket, do not immerse the motor base in water, you can clean the motor base with a humid cloth. Do not use abrasive cleaning materials.
- Disassemble the other parts and rinse them in water and dry them thoroughly.
- Except the motor base, other parts can be cleaned in a dishwasher and the temperature setting of the dishwasher should never exceed 50°C.
TECHNICAL DATA
- Supply voltage: 220-240V ~ 50-60Hz
- Power consumption: 300W
GUARANTEE AND CUSTOMER SERVICE
Before delivery our devices are subjected to rigorous quality control. If, despite all care, damage has occurred during production or transportation, please return the device to your dealer. In addition to statutory legal rights, the purchaser has an option to claim under the terms of the following guarantee: For the purchased device we provide 2 years guarantee, commencing from the day of sale. If you have a defective product, you can directly go back to the point of purchase.
Defects which arise due to improper handling of the device and malfunctions due to interventions and repairs by third parties or the fitting of non-original parts are not covered by this guarantee. Always keep your receipt, without the receipt you can’t claim any form of warranty. Damage caused by not following the instruction manual, will lead to a void of warranty, if this results in consequential damages then we will not be liable. Neither can we hold responsible for material damage or personal injury caused by improper use or if the instruction manual are not properly executed. Damage to accessories does not mean free replacement of the whole appliance. In such case please contact our service department. Broken glass or breakage of plastic parts is always subject to a charge.
Defects to consumables or parts subjected to wearing, as well as cleaning, maintenance or the replacement of said parts are not covered by the warranty and are to be paid.
ENVIRONMENT FRIENDLY DISPOSAL
Recycling – European Directive 2012/19/EU
This marking indicates that this product should not be disposed with other household wastes. To prevent possible harm to the environment or human health from uncontrolled waste disposal, recycle it responsibly to promote the sustainable reuse of material resources. To return your used device, please use the return and collection systems or contact the retailer where the product was purchased. They can take this product for environmental safe recycling.
Customer Service
Emerio B.V Oudeweg 115 2031 CC Haarlem The Netherlands
T: +31 (0) 23 3034369





















