Fast and Furious 5010 VITAL
Instruction Manual
SAFETY INSTRUCTIONS
Read these instructions thoroughly before using the appliance.
- Keep this instruction manual for future reference or for new users. All safety instructions should be closely followed when using the appliance.
- Make sure that the mains voltage matches the voltage stated on the rating label of the appliance and that the wall outlet is grounded.
- Do not immerse the cord, plug, or any non-removable part of the appliance in water or any other liquid, nor expose the electrical connections to water. Make sure your hands are dry before handling the plug or switching on the appliance.
- If the appliance falls accidentally into the water, unplug it immediately. Do not reach into the water!
- Do not twist, bend, strain, or damage the power cord in any way. Protect it from sharp edges and heat sources. Do not let it touch hot surfaces. Do not let the cord hang over the edge of the surface.
- This appliance is not intended to be operated by means of an external timer or a separate remote-control system.
- Turn off and unplug the appliance from the mains supply when not in use and before cleaning it. Pull from the plug, not the cord, to disconnect it from the outlet.
- This appliance is designed to iron textiles. It is designed for domestic use only and, therefore, not suitable for commercial use. Do not use outdoors.
- To protect against burns or injuries to persons, do not iron textiles while being worn on the body.
- Do not use any accessory that has not been recommended by Cecotec, as they might cause injuries or damage.
This product can be used by children and persons with reduced physical, sensory or mental capabilities or lack of experience and knowledge, as long as they have been given supervision or instruction concerning the use of the appliance in a safe way and understand the hazards involved. Place the appliance on a dry, stable, flat, heat-resistant surface. The temperature of accessible surfaces may be high while in use and could cause burns. Do not touch hot surfaces while in use or immediately after.- Unplug the appliance immediately if fire or smoke is observed. Do not leave the product unsupervised during operation. Unplug the device after use and when you leave the room where it is installed.
- The appliance must not be plugged in when filling or emptying the water tank.
- The tank cap must not be open when the appliance is switched on.
- The use of tap water is recommended. If the lime content of the tap water is too high, use a mix composed of 50 % of tap water and 50 % of water with low mineral content. Do not use only water with low mineral content.
Burns can occur when touching hot metal parts, hot water, or steam. Hot water may leak from the iron. - Be careful when filling or turning the steam iron upside down.
- To protect against burns or injuries, do not direct steam toward persons or animals when ironing.
- The iron must be used and placed on a stable surface. When placing the iron on its stand, make sure that the surface is stable.
- Keeping the iron at maximum temperature for too long may cause discoloration, which will not affect the performance of the appliance.
- Do not try to repair the device by yourself. Contact the official Technical Support Service of Cecotec for advice.
- Cleaning and maintenance must be carried out according to this instruction manual to make sure the appliance functions properly. Turn off and unplug the appliance before moving and cleaning it. Make sure the iron has completely cooled down before storing it.
- Store the appliance and its instruction manual in a safe and dry place when not in use. Cecotec takes no responsibility for any damage caused by misuse of the appliance.
- Any misuse or noncompliance with these instructions renders the warranty and Cecotec’s liability null and void.
- If the power cord is damaged, it must be replaced by the Technical Support Service of Cecotec or a similarly qualified person to avoid risks.
- If the product has been exposed to temperatures below 0°C for some time, it should be kept at room temperature for at least 2 hours before turning it on.
- The appliance is not intended to be used by children under the age of 8. It can be used by children over the age of 8, as long as they are given continuous supervision.
- Supervise children, they shall not play with the appliance.
- Close supervision is necessary when the appliance is being used by or near children.
- Keep this appliance and its power cord out of reach of children under the age of 8. Cleaning and maintenance tasks must not be carried out by children.
- Warning: All our ironing range’s products have undergone quality control tests previous to their commercialization. All our ironing range’s products have undergone quality control tests previous to their commercialization. These tests consist of filling the water tank in order to check the tightness and to ensure the correct operation of the device. Once the test has been carried out, the tank is emptied and dried, but there is a slight probability that water could remain inside it.
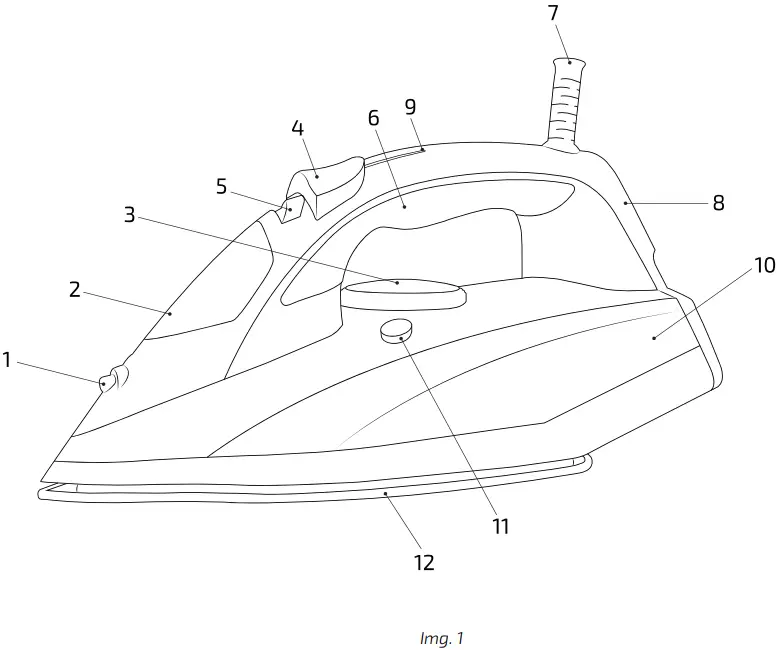
PARTS AND COMPONENTS
Fig. 1 
- Spraying mouth
- Filling opening
- Temperature knob
- Spray/steam burst button
- Steam selector
- Handle
- Swiveling cord
- Heel rest
- Light indicator
- Water tank
- Self-clean button
- Soleplate
BEFORE USE
Take the product out of the box.
Remove all packaging material.
Note: You may notice a slight burning smell or smoke when using the appliance for the first time, caused by the excess of lubricants from the manufacturing process. Smoke will disappear after a short time.
OPERATION
Temperature setting
Turn the temperature knob to select the temperature indicated on the clothing label.
| Label | Type of fabric |
| Do not iron this item. | |
| • | Synthetics, nylon, acrylics, polyester, rayon. |
| • • | Silk, wool. |
| • • • | Cotton, linen. |
| Maximum temperature (steam). |
Insert the power plug into the wall socket. The light indicator will turn on.
Once the indicator light turns off, the iron is ready to be used.
Filling the water tank
Unplug the iron before filling the water tank.
Hold the steam iron in a horizontal position.
Slowly pour water through the water-filling opening. Do not exceed the Max. mark on the water tank in order to avoid water from spilling.
Close the filling opening while operating the iron.
Empty the water tank after each use.
Note: Do not use chemically descaled or perfumed water.
Spraying
The spraying function can be used at any temperature during steam ironing or dry ironing, provided that the water tank is full.
Steam ironing
While the appliance is unplugged, fill the iron with water.
Stand the steam iron on its heel rest in an upright position on an iron-safe surface and connect it to the power supply.
Set the temperature knob to the “••“ or “•••” position.
Set the steam knob to the desired position.
When finished, turn the temperature knob anticlockwise to the minimum position and unplug the appliance from the power supply.
Warning: Do not come into contact with the ejected steam.
Dry ironing
The steam iron can operate with or without water in the water tank. In case the iron is operated in its dry mode, make sure the water tank is empty.
Turn the steam knob to the “0” position.
Warning: If the iron has been used for more than 10 minutes and it is hot, do not pour more water inside it until the appliance has cooled down.
Steam burst
The steam-burst function generates additional steam in order to remove stubborn creases and can be activated just by pressing the steam-burst button.
Note: To prevent the soleplate from leaking, do not keep the steam burst button pressed for more than 5 seconds.
Note: For optimal steam burst, do not press the steam burst button more than three times in a row to prevent the iron from cooling.
Vertical steaming
Ensure there is enough water in the tank.
Stand the steam iron vertically, rest it on its heel and connect it to the power supply.
Turn the temperature and steam knob to maximum.
Hold the iron vertically and press the steam burst button, an intense steam will be ejected from the soleplate.
Self-cleaning
Fill the water tank up to the maximum mark and close it.
Set the temperature knob to maximum.
Connect the appliance to the power supply.
Holding the iron horizontally over the sink, turn the steam knob to the maximum position and press the self-clean button.
The soleplate will emit boiling water and steam to remove all impurities.
Repeat this process if necessary.
Anti-drip function
This function prevents water from spilling and avoids blotches from appearing on the fabrics when ironing at low temperatures.
Anti-calc function
This function protects the iron from scale formations.
Do not use abrasive cleaners or scouring pads to clean the product.
Protection against overheating
The iron features a security system against overheating. The device turns automatically off.
The soleplate may take up to 45-60 minutes to cool completely down.
CLEANING AND MAINTENANCE
Turn off, unplug the appliance from the power supply, empty the water tank (do it after each use) and allow it to cool down completely.
Do not use abrasive cleaners or scouring pads to clean the product.
Wind the cord around the heel rest.
To protect the soleplate while it is stored, place the steam iron in an upright position on its heel rest.
Soleplate
Starch and other types of residue may be easily removed from the soleplate with a damp cloth. To avoid scratches on its finish, do not use metallic scouring pads to clean the soleplate, and never place the iron on a rough surface.
If synthetic fabrics are ironed at high temperatures, both the fabric and the soleplate of the iron could be damaged. The best way to remove synthetic residue from the soleplate is to heat it up and iron over the fabric with a cotton cloth.
TECHNICAL SPECIFICATIONS
Model: Fast&Furious 5010 Vital
Product reference: 05521
Power: 2600 W
Voltage and frequency: 220-240 V, 50-60 Hz
Made in China | Designed in Spain
DISPOSAL OF OLD ELECTRICAL APPLIANCES
The European directive 2012/19/EU on Waste Electrical and Electronic Equipment (WEEE), specifies that old household electrical appliances must not be disposed of with the normal unsorted municipal waste. Old appliances must be collected separately, in order to optimize the recovery and recycling of the materials they contain and reduce the impact on human health and the environment.
The crossed-out “wheeled bin” symbol on the product reminds you of your obligation to dispose of the appliance correctly. If the product has a built-in battery or uses batteries, they should be removed from the appliance and disposed of appropriately.
Consumers must contact their local authorities or retailer for information concerning the correct disposal of old appliances and/or their batteries.
TECHNICAL SUPPORT AND WARRANTY
This product is under warranty for 2 years from the date of purchase, as long as the proof of purchase is submitted, the product is in perfect physical condition, and it has been given proper use, as explained in this instruction manual.
The warranty will not cover the following situations:
The product has been used for purposes other than those intended for it, misused, beaten, exposed to moisture, immersed in liquid or corrosive substances, as well as any other fault attributable to the customer.
The product has been disassembled, modified, or repaired by persons, not authorized by the official Technical Support Service of Cecotec.
Faults deriving from the normal wear and tear of its parts, due to use.
The warranty service covers every manufacturing defect of your appliance for 2 years, based on current legislation, except consumable parts. In the event of misuse, the warranty will not apply.
If at any moment you detect any problem with your product or have any doubts, do not hesitate to contact Cecotec Technical Support Service at +34 963 210 728.
www.cecotec.es
FAST&FURIOUS 5010 VITAL
Grupo Cecotec Innovaciones S.L.
C/ de la Pinadeta s/n, 46930
Quart de Poblet, Valencia (Spain)
YV02200522



















