
Blender Buddy
PRECISION MEDICAL® BLENDER

R219M07-005 REV. J
Maxtec phone: (800) 748.5355
2305 South 1070 West fax: (801) 973.6090
Salt Lake City, Utah 84119 email: [email protected]
USA web: www.maxtec.com
– 0123
NOTE: The latest edition of this operating manual can be downloaded from our website at www.maxtec.com
WARRANTY
2-year limited warranty on manufacturing defects.
WARNINGS 
DO NOT use substitute parts.
DO NOT use lubricants on o-rings.
- Not for use in MRI environments.
- Carefully read instructions provided with flow meters, as well as this insert, before use.
- For use with air/oxygen blenders only.
- Max pressure is 100 psi.
- Check for leaks and proper function before using on a patient.
- Maxtec assumes no responsibility for any damage or injury caused by improper installation, assembly or use of this product.
- Replace EPDM o-rings during recommended blender rebuild. Use Maxtec approved o-rings.
- This product should only be used under proper supervision of a healthcare professional.
- If components are damaged or missing, contact your dealer immediately.
- Clean often using a cloth moistened with 65% isopropyl alcohol/water solution or germicidal wipe.
- Follow all recommendations provided in the manual for the connected blender.
1.0 INTRODUCTION
The Blender Buddy is a manifold accessory designed to be attached to an outlet port of an air/oxygen blender. From the blender outlet port, the air/oxygen mixture passes into a primary or a primary and a secondary channel within the Blender Buddy manifold. The primary channel is used to deliver the gas to a set of flowmeters which meter the gas flow by means control valves. The secondary channel is a small channel that empties into a cavity (port) sized to receive a galvanic oxygen sensor; this port fits the Maxtec line of oxygen analyzers and is used to analyze oxygen concentration of the air/oxygen mixture to be delivered to a patient. The Blender Buddy can be configured with various sized color coded flowmeters for customized flow rate delivery to patients. Flowmeters are sold separately.
1.1 Indications For Use
This Blender Buddy is intended for use in conjunction with a Precision Medical® air/oxygen blender. The Blender Buddy allows the operator of a blender to supply a mixed gas through a set of flowmeters. Blender Buddies designed with bleeds include an extra analyzer port for analyzing the oxygen concentration of the air/oxygen mixture being delivered to a patient.
1.2 Symbol Guide
| Federal law (USA) restricts this device to sale on or by the order of a physician | Follow instructions for use. | ||
| Authorized Representative in the European Community | ![]() | Do Not | |
| Manufacturer | ![]() | Contains no Polyvinyl Chloride | |
![]() | Date of Manufacture | ![]() | Medical Device |
| Storage Temperature Range | ![]() | Not Manufactured with Natural Rubber Latex | |
![]() | MR Unsafe | ![]() | Warning |
| Catalog Number | Lot Number | ||
| Made in USA |
2.0 INSTRUCTIONS FOR USE
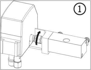
- Attach the DISS female fitting A of the Blender Buddy to the DISS male fitting B on the left side of the Precision Medical® Blender E
- Attach flow meters C to the male DISS fittings D on the front of the Blender Buddy.
- Supply gas to the blender and check for leaks and proper function.


NOTE: The blender buddy is designed for use on the primary port (left side) of a blender. The blender buddy has a 3 lpm continuous bleed built into the manifold of the device. When properly installed on the left side of a blender the blender buddy’s bleed ensures accuracy of flow from the primary port at low flow rates, i.e. less than 3 lpm and is equal to the low flow accuracy of the auxiliary port on the right side of the blender.
For use with the following models:
- Precision Medical® Low Flow Blender(PM5300)
WWW.MAXTEC.COM • (800) 748-5355

2305 South 1070 West
Salt Lake City, Utah 84119
(800) 748-5355
www.maxtec.com

























