Instructions for installation and use
Integrated Oven
5B20N0290IN
ACKNOWLEDGMENT
Thank you for purchasing our product. We hope you enjoy using the many features and benefits it provides. Before using this product please study this entire Instruction Manual carefully. Keep this manual in a safe place for future reference. Ensure that other people using the product are familiar with these instructions as well.
WARNING
- When the oven is first switched on, it may give off an unpleasant smell. This is due to the bonding agent used for the insulating panels within the oven. Please run up the new empty product with the conventional cooking function, 250 ℃, 90 minutes to clean oil impurities inside the cavity.
- During the first use, it is completely normal that there will be a slight smoke and odors. If it does occur, you merely have wait for the smell to clear before putting food into the oven.
- Please use the product under the open environment.
- The appliance and its accessible parts become hot during use. Care should be taken to avoid touching heating elements. Children less than 8 years of age shall be kept away unless continuously supervised.
- f the surface is cracked, switch off the appliance to avoid the possibility of electric shock.
- This appliance can be used by children aged from 8 years and above and persons with reduced physical, sensory or mental capabilities or lack of experience and knowledge if they have been given supervision or instruction concerning use of the appliance in a safe way and understand the hazards involved. Children shall not play with the appliance. Cleaning and user maintenance shall not be made by children without supervision.
- During use, the appliance becomes very hot. Care should be taken to avoid touching heating elements inside the oven.
- Do not allow children to go near the oven when it is operating, especially when the grill is on.
- Ensure that the appliance is switched off before replacing the oven lamp to avoid the possibility of electric shock.
- The means for disconnection must be incorporated in the fixed wiring in accordance with the wiring specifications.
- Children should be supervised to ensure that they do not play with the appliance.
- This appliance is not intended for use by persons (including children) with reduced physical, sensory or mental capabilities, or lack of experience and knowledge, unless they have been given supervision or instruction concerning use of the appliance by person responsible for their safety.
- Accessible parts may become hot during use. Young children should be kept away.
- An all-pole disconnection means must be incorporated in the fixed wiring in accordance with the wiring rules.
- If the supply cord is damaged, it must be replaced by the manufacturer, its service agent or similarly qualified persons in order to avoid a hazard.
- Do not use harsh abrasive cleaners or sharp metal scrapers to clean the oven door glass since they can scratch the surface, which may result in shattering of the glass.
- A steam cleaner is not to be used.
- The appliances are not intended to be operated by means of an external timer or separate remote-control system.
- The instructions for ovens that have shelves shall include details indicating the correct installations of the shelves.
SAFETY HINTS
- Do not use the oven unless you are wearing something on your feet. Do not touch the oven with wet or damp hands or feet.
- For oven: Oven door should not be opened often during the cooking period.
- The appliance must be installed by an authorized technician and put into use. The producer is not responsible for any damage that might be caused by defective placement, and installation by unauthorized personnel.
- When the door or drawer of oven is open do not leave anything on it, you may unbalance your appliance or break the door.
- Some parts of appliance may keep its heat for a long time; it is required to wait for it to cool down before touching onto the points that are exposed to the heat directly.
- If you will not use the appliance for a long time, it is advised to plug i off. t
FITTING THE OVEN INTO THE KITCHEN UNIT
Fit the oven into the space provided in the kitchen unit; it may be fitted underneath a work top or into an upright cupboard. Fix the oven in position by screwing into place, using the two fixing holes in the frame. To locate the fixing holes, open the oven door and look inside. To allow adequate ventilation, the measurements and distances adhered to when fixing the oven.
IMPORTANT
If the oven is to work properly, the kitchen housing must be suitable. The panels of the kitchen unit that are next to the oven must be made of a heat resistant material. Ensure that the glues of units that are made of veneered wood can withstand temperatures of at least 120 ºC. Plastics or glues that cannot withstand such temperatures will melt and deform the unit, once the oven has been lodged inside the units, electrical parts must be completely insulated. This is a legal safety requirement. All guards must be firmly fixed into place so that it is impossible to remove them without using special tools. Remove the back of the kitchen unit to ensure an adequate current of air circulates around the oven. The hob must have a rear gap of at least 45 mm.
DECLARATION OF COMPLIANCE
When you have unpacked the oven, make sure that it has not been damaged in any way. If you have any doubts at all, do not use it: contact a professionally qualified person. Keep packing materials such as plastic bags, polystyrene, or nails out of the reach of children because these are dangerous to children.
HOW TO USE
- If no need to set the cooking time, when turn counterclockwise the timer knob to ”
” the timer will not return to ” 0 ” automatically and the oven will keep in power-on state. If need to set the cooking time, turn clockwise the timer knob to the time you need. When the setting cooking time was reached, the timer will return to ” 0 ” automatically with the sound of “Ding, Ding, Ding” and the oven will be power-off. - To set functions by turning the function knob to desired level.
- To set the temperature by turning the temperature knob.
- The oven will automatically start cooking after function, time and temperature are set. If the oven is not in use, always set all the knobs to ” 0 “.
PRODUCT DESCRIPTION

| Symbol | Function description |
| Oven Lamp: Which enables the user to observe the progress of cooking without opening the door. Oven lamp will light for all cooking functions. except ECO function. | |
| Defrost: The circulation of air at room temperature enables quicker thawing of frozen food, (without the use of any heat). It’s a gentle but quick way to speed up the defrosting time and thawing of ready-made dishes and cream filled produce etc. | |
![]() | Grill-small: This cooking method is normal grilling, utilizing the inner part only of the top heating element, which directs heat downwards onto the food. |
![]() | Grill with fan (at the rear panel): The inner heating element in the top of the oven is working with fan. It is suitable for grilling large amount of meat. |
![]() | Convection: Warm air heated by the rear heater is evenly distributed throughout the oven very fast by means of the fan. This results in a faster and more economical cooking process. The convection allows food to be cooked simultaneously on different shelves. |
ECO | For energy-saved cooking. Cooking the selected ingredients in a gentle manner, and the heat comes from the back heater. |
ACCESSORIES
Wire shelf: For grill, dishes, cake pan with items for roasting and grilling.
Slider bracket : For cooking larger size food, these shelf support rails on the right and left sides of the oven can be removed, dishes and tray can be put on the oven floor, using functions as Radiant grilling, Double grilling, Double grill with fan.
NOTE: When placing dishes on the oven floor, please DO NOT use functions with bottom heater to prevent heat gathering at bottom. (only for specific models)
Universal pan: For cooking large quantities of food such as moist cakes, pastries, frozen food etc, or for collecting fat/spillage and meat juices.
SHELF PLACEMENT WARNING:
To ensure the oven shelves operate safely, correct placement of the shelves between the side rail is imperative. Shelves and the pan only can be used between the first and fifth layers.
The shelves should be used with the right direction, it will ensure that during careful removal of the shelf or tray, hot food items should not slide out.
BULB REPLACEMENT
For replacement, process as follows:
- > Disconnect power from the mains outlet or switch off the circuit breaker of the unit’s mains outlet.
- > Unscrew the glass lamp cover by turning it counter-clockwise (note, it may be stiff) and replace the bulb with a new one of the same type.
- > Screw the glass lamp cover back in place.
NOTE: Only use 25-40W/220V-240V, T300°C halogen lamps.”
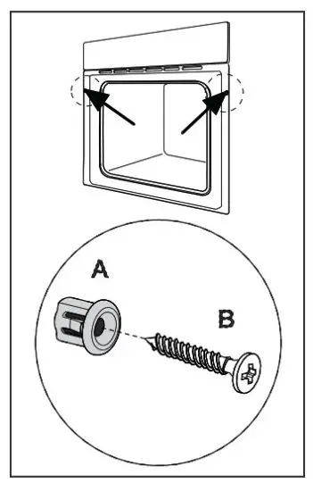
SECURING THE OVEN TO THE CABINET
- Fit oven into the cabinet recess.
- Open the oven door.
- Secure the oven to the kitchen cabinet with two distance holders ” A ” which fit the holes in the oven frame and fit the two screws ” B “.

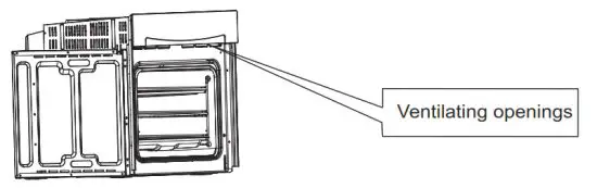
VENTILATING OPENINGS
When cooking is finished, if the temperature of ventilating openings is over 70 degree, the cooling fan will continue working. The cooling fan will not stop working until the temperature becomes lower than 60 degree.
CONNECTION OF THE OVEN

INSTALLATION

Remark:
- Only plus deviations are admissible for all dimension.
- The cabinet is not include the power switch or socket.
NOTE: The number of accessories included depends on the particular appliance purchased.
REMOVING THE DOOR FROM OVEN (OPTIONAL)
Disassembly of oven door components
- To remove the door, open the door to the maximum angle.Then pull the buckle at the door hinge backward.

- Close the door to an angle approximately 30°. Hold the door with one hand on each side. Lift up and slowly pull the door out from the oven.
- Open the door rotation bracket assembly, refer the action in the following picture.

- Lift up the door outer glass and pull it out, then take the door middle glass out in the same way.

WARNING: Don’t forcibly pulled out the door and prevent the glass breakage during the dismantling process.
WARNING: The hinge springs could loose, causing personal injury.
WARNING: Do not lift or carry the oven door by the door handle.
Recipes for ECO mode
| Recipes | Temperature (℃) | Level | Time (min) | Pre-heat |
| Potato Cheese Gratin | 180 | 1 | 90-100 | No |
| Cheese Cake | 160 | 1 | 100-150 | No |
| Meatloaf | 190 | 1 | 110-130 | No |
CLEANING AND MAINTENANCE
For the sake of a good appearance and reliability, keep the unit clean. The modern design of the unit facilitates maintenance to a minimum. The parts of the unit which come into contact with food have to be cleaned regularly.
- Before any maintenance and cleaning, disconnect the power.
- Set all controls in the OFF position.
- Wait until the inside of the unit is not hot but only slightly warm-cleaning is easier than when warm.
- Clean the surface of the unit with a damp cloth, soft brush or fine sponge and then wipe dry.
- In case of heavy soiling, use hot water with non-abrasive cleaning product.
- For cleaning the glass of the oven door, do not use abrasive cleaners or sharp metal scrapers, these can scratch the surface or lead to the glass being damaged.
- Never leave acidic substances (lemon juice, vinegar) on stainless steel parts.
- Do not use a high pressure cleaner for cleaning the unit. The baking pans may be washed in mild detergent.
This appliance is marked according to the European directive 2012/19/EU on Waste Electrical and Electronic Equipment (WEEE).
By ensuring this product is disposed correctly, you will help prevent potential negative consequences for the environment and human health, which could otherwise be caused by inappropriate waste handling of this product. The symbol on the product indicates that this product may not be treated as household waste. Instead it shall be handed over to the applicable collection point for the recycling of electrical and electronic equipment. Disposal must be carried out in accordance with local environmental regulations for waste dispoasl. For more detailed information about treatment, recovery and recycling of this product, please contact your local city office, your household waste disposal service or the shop where you purchased the product.
Service

www.blaupunkt-einbaugeraete.com
India
[email protected]
PN:16171100A34538
























