OUELLET OFM Series Standard Baseboard Heater Instruction Manual
THE INSTALLATION MUST BE EXECUTED BY A QUALIFIED TECHNICIAN
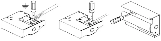
RISK OF ELECTROCUTION ![]()
IMPORTANT INSTRUCTIONS
When using electrical appliances, basic precautions should always be taken to reduce the risk of fire, electric shock, and injury, including the following:
Read all instructions before using this heater.
- A heater has hot and arcing or sparking parts inside.
Do not use it in areas where gasoline, paint, or flammable liquids are used or stored. - This heater is hot when in use. To avoid burns, do not let bare skin touch hot surfaces. Keep combustible materials, like furniture, pillows, bedding, papers, clothes, and curtains away from heater.
- To prevent a possible fire, do not block air intakes or exhaust in any way whatsoever.
- Do not insert or allow foreign objects to enter any ventilation or exhaust opening as this may cause an electric shock or fire, or damage the heater.
- Do not install heater against combustible low-density cellulose fiberboard surfaces.
- Do not use outdoors.
- CAUTION – High Temperature; Keep electrical cords, drapes, and other furnishings away from heater.
- Use only with copper branch circuit conductors.
- For bathroom use, the heater must be installed so that switches and other controls cannot be touched by anyone in the bath or shower.
- Do not install this heating appliance beneath a wall outlet.
- To avoid possible electrical shock, disconnect all power at the main panel prior to wiring, cleaning, or servicing.
- If the product is damaged or has missing parts (e.g., dents, damaged or missing element fins), stop using the device immediately and replace it.
- KEEP THESE INSTRUCTIONS.
FURNITURE AND DRAPES
For maximum satisfaction an air flow of 3 in. (76.2 mm) clearance is recommended. Also allow 1 in. (25.4 mm) clearance on top and bottom of drapes when drapes cover wall.
INSTALLATION INSTRUCTIONS
- Cut a hole in the box along the hash lines. Remove wire holder (or knock-out) of the appropriate junction box.
- Make connection according to local and national codes and replace wire holder. (Do not forget ground wire.)
- Install the relay or thermostat by removing front panel and junction box cover.
- Check wire connection at the other junction box.
- Fasten the baseboard to the wall using wood screws, tighten then release 1/2 turn.
- Replace all covers before energizing.
INTERCONNECTION
The connection boxes and wiring channel are approved for interconnection of baseboard heaters and components which are on the same heating branch circuit. Use ‘‘BX’’ cable to run wiring for all other options in this series. (Ex: Corner box, empty cabinets, etc.).The heater junction box minimum volume without options is 31.2 in³ (512 cm³).
CORNERS AND BLANK SECTIONS
Install blank sections and corners the same way as heating unit of this series. Use ‘‘BX’’cable to run wiring into these options.
OPTIONS
All heating equipment and options must be installed in accordance with local and national codes.
Built-in thermostat:
CAUTION: The thermostat should not be considered an infallible device in cases where maintaining a temperature is considered critical. Examples: Hazardous material storage, computer server room, etc. In these particular cases, it is imperative to add a monitoring system to avoid the consequences of a thermostat failure.
- Refer to wiring diagram for connections.
- Refer to instructions supplied with the option for mounting.
Built-in relay: - Refer to the diagram included with the relay option for connections.
- Refer to instructions supplied with the option for mounting.
MAINTENANCE
- Once a year or at the need, remove the front panel and use a vacuum cleaner to remove the dust accumulation inside the heater.
- Cleaning should be done while the heater is disconnected from the main service panel. Wait until the housing and heating element cool before performing maintenance.
Remove the front panel.
CAUTION: Fins on the element are sharp – Do not touch.
Replace all covers before energizing. - Any other servicing should be performed by a qualified technician.
WARRANTY
Please refer to the product sheet at www.ouellet.com.
WIRING DIAGRAM






















