LIVARNO LSLB 24 B1 LED Outdoor Floodlight Instruction Manual
Congratulations
By purchasing the LIVARNO home LSLB 24 B1 24-watt LED outdoor spotlight, hereinafter referred to as LED spotlight, you have opted for a high-quality product.
This operating manual is part of the product. They contain important information about the safety, use and disposal of the device. Familiarise yourself with all the operating instructions and safety information before using this product. Only use the product as described and for the uses indicated. If you give the product to someone else, always pass on all the documentation.


Intended use
This LED spotlight is not intended for commercial use. It is only suitable for outdoor use. The LED spotlight is a special product and, depending on the model, is able to withstand extreme negative temperatures as low as minus 21°C. The LED spotlight is not intended to be used as interior lighting in the home.
The device meets the requirements of all relevant standards related to CE conformity. Compliance with these standards is no longer guaranteed if a change is made to the LED spotlight without the authorisation of the manufacturer.
Package contents
- LIVARNO home LSLB 24 B1 LED spotlight
- Assembly materials (two screws and two raw plugs)
- Operating manual including safety information
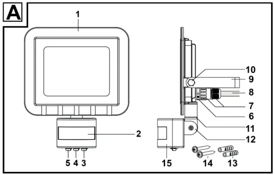
This operating manual also has a cover that can be unfolded. The inside of the cover provides a schematic of the LED spotlight and a number legend. The numbers identify the following parts/functions:
- LED spotlight
- Motion sensor
- TIME knob
- SENS knob
- LUX knob
- Lug
- Power cable fixation
- Power cable (not included in the package contents/house connection)
- Mounting bracket
- Screw (with spring washer and flat washer)
- Motion sensor swivel joint
- Motion sensor tilt joint
- Dowels (2, for wall mounting)
- Screws (2, for wall mounting)
- Sensor housing
Technical Data
Spotlight unit:
| Brand: | LIVARNO home |
| Model designation: | LSLB 24 B1 |
| Operating voltage: | 230 V~ (AC voltage), 50 Hz |
| Power consumption Entire LED spotlight unit: | Approx. 24 W (+/- 8%) |
| Protection class: | I (with protective conductor terminal) |
| Protection class: | IP44 (splash-proof) |
| Lamp type: | (28 x 0.8 W LED) |
| Total luminous flux: | Approx. 2,000 lm +/-5% (with cover) |
| Colour temperature: | approx. 5,000 K (neutral white) |
Light emission angle: ![]() | Approx. 110° |
| Ra (colour rendering index) | ≥ 80 |
| LED service life: | Approx. 30,000 hours |
| Operating position: | Vertical – spotlight top, motion sensor bottom |
| Maximum installation height: | < 5 m |
| Max. projected light area: | Approx. 30 m² when assembled approx. 2 m high |
| Dimensions (W x H x D): | Approx. 16.0 x 19.2 x 9.0 cm |
| Weight: | Approx. 420 g |
Motion sensor:
Sensor detection angle: ![]() | Approx. 180° |
| Detection range: | Approx. 12 m (rotary control for detection sensitivity adjustment) |
| Photosensitivity: | Adjustable with rotary control |
| Swivelling (mechanical): | Approx. 150° horizontally, approx. 180° vertically |
| Illumination time (adjustable): | Approx. 10 sec +/- 5 sec to 7 min +/- 2 min |
Safety instructions
Before using the LED spotlight (1) for the first time, please read the following instructions carefully and observe all warnings, even if you are familiar with using electronic devices. Keep this operating manual in a safe place for future reference. If you give the device away or sell it, please ensure that you also pass on this operating manual.
A shattered protective cover must be replaced. The LED spotlight (1) has a protective conductor terminal. The protective conductor terminal
(yellow/green) must be connected to the marked lug (6).
DANGER! This icon, together with the word ‘Danger’, indicates an impending dangerous situation that, if not prevented, can lead to serious injuries or even death.
WARNING! This icon, together with the word ‘Warning’, indicates important information for the safe operation of the device and user safety.
CAUTION! This icon, together with the word ‘Caution’, indicates important information for protection against damage to property.
DANGER! This icon warns of dangerous electrical voltage!
This icon gives you information on the topic.
Specialist product: Not suitable for interior lighting in the home.
Energy savings of up to 80%
Swivel-mounted motion sensor
DANGER! Electrical devices must be kept out of the reach of children. Never leave children unattended with electrical devices. Children may not be able to recognise hazards. Also keep the packaging film away from children. There is a risk of suffocation.
DANGER! A dangerous electrical voltage may be present in the light and at the light source, and therefore poses a serious risk to persons.
DANGER! The housing of the LED spotlight (1) must not be damaged. If the housing is damaged, there is a risk of electric shock.
DANGER! Never open the housing of the LED spotlight (1) since it contains no parts to be maintained. If the housing is open, there is a risk of electric shock.
WARNING! If you notice any smoke, unusual noises or smells, immediately switch off the LED spotlight (1). In such cases you must stop using it until it has been checked by a technician. Do not inhale smoke possibly caused by a burning device. If you have inhaled smoke, consult a physician. Inhaling smoke can be harmful to your health.
WARNING! Never look directly into the light beam with the aid of optical instruments, such as a magnifying lens. There is the risk of injuring your eyes. If you think you have damaged your eyes, consult a physician.
CAUTION! Do not attach any objects to the LED spotlight (1). The housing is not designed to carry any weights. This could damage the LED spotlight (1).
Copyright
All contents of this operating manual are subject to copyright law and are provided to the user solely as a source of information. Any form of copying or reproduction of data and information without the express written permission of the author is prohibited. This also concerns commercial use of the content and data. The text and illustrations correspond to the technical standards at the time of printing. Subject to alterations.
Before initial use
Remove the LED spotlight (1) and the mounting materials from the packaging.
Check the LED spotlight (1) for signs of damage. If the LED spotlight (1) is damaged, it must not be put into operation.
If the device is faulty or incomplete on delivery, please contact the manufacturer’s service department.
Proper mounting location
Carefully choose the mounting location and thoroughly prepare for assembly.
- Systematically arrange all individual parts, required tools and mounting materials and place them within easy reach.
- The LED spotlight (1) may only be mounted on a sturdy support, such as a masonry wall.
- The power supply must only be established via the building’s electric
- Do not mount the LED spotlight (1) above a heat source or within direct proximity of other light Also account for Figures [D and E] on the cover page when selecting the mounting location.
- Choose a mounting location that protects the LED spotlight (1) from wind, rain and soiling.
- Please find out in advance which assembly materials are suitable for the location you have chosen to mount the The LED spotlight (1) is delivered with mounting materials suitable for concrete.
Required tools
The package does not include the following tools. This list is provided as a general guide. The precise characteristics of the required tools depend on the chosen mounting location.
- Ladder
- Voltage tester
- Spirit level, folding ruler, pencil
- Drill with 8mm stone/concrete bit
- Phillips screwdriver, flat-tip screwdriver
- Open-ended spanner (size 8 mm), combination pliers, side cutting pliers
Before starting assembly
DANGER! The device must only be assembled by an authorised qualified electrician. The power supply must only be established via the building’s electric system.
DANGER! The electric circuit must be switched off during assembly!
WARNING! When drilling holes, ensure that you do not damage any hidden cables or pipes.
- Make yourself familiar with the individual parts of the LED spotlight (1) as well as the instructions and illustrations in this operating manual before assembly, and observe them.
- Ensure that the cable to which the LED spotlight (1) is to be connected, is not With this in mind, remove the fuse from the relevant electric circuit in your fuse box or set the fuse to ‘0’.
- You must also use a voltage tester to check that the cable is not live.
Mounting
The LED spotlight (1) is designed for wall mounting only.
| Before installation, ensure that the cable to which the product is to be connected is not live. To do this, remove the fuse or switch off the circuit breaker in the fuse box (position 0). | ![]() |
| Detach the mounting bracket (9) by loosening the screws (10) on both sides with an open- ended spanner and unscrewing them counter- clockwise along with the spring washer and flat washer. | ![]() |
| Choose the mounting position on the wall. Using the mounting bracket (9) as a template, mark the position of the bore holes on the wall through the slotted holes. Drill the holes in the wall. Insert the dowels (13) into the drilled holes and screw the mounting bracket (9) to the wall using the screws (14). | ![]() |
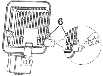
| Remove the rubber protective cover from the lug (6). | ![]() |
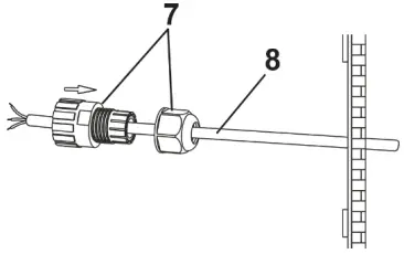
| Slide the power cable fixation (7) over the power cable (8) as shown in the illustration to the right. | ![]() |
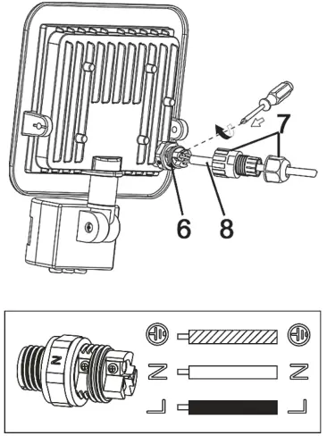
| Now properly connect the power cable (8) to the lug (6). When doing so, observe the marking on the individual terminals. Also account for Figure [B] on the cover page.
|
|
| Firmly screw the large piece of the power cable fixation (7) clockwise onto the lug (6). Then firmly screw the smaller piece of the power cable fixation (7) clockwise onto the larger piece. | ![]() |
| Now mount the LED spotlight (1) on the mounting bracket (9) by installing the two screws (10) clockwise together with the spring washer and flat washer. Only tighten the screws (10) slightly at this time. | ![]() |
| Now tilt the LED spotlight (1) to the desired position and then firmly tighten the screws (10). | ![]() |
| Switch the electric circuit back on. To do this, reinsert the fuse or switch on the circuit breaker in the fuse box (position 1). | ![]() |
Initial use
Aligning the motion sensor (2)
Ensure that no places where traffic is common (such as walkways, streets) are located within the range of the motion sensor (2).
When setting the photosensitivity of the motion sensor (2), you should do so at a time when the lighting conditions intended to trigger the LED spotlight (1) are prevalent.
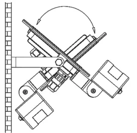
The rotation of the sensor housing (15) enables you to configure the ‘TIME’ (3), ‘SENS’ (4) and ‘LUX’ (5) knobs more easily. Also observe Figure [C] on the cover page.
- Align the motion sensor (2) so as to ensure maximum coverage of the area to be monitored. This means that no obstructing objects should be present in the path.
- You can change the horizontal and vertical position of the motion sensor (2) by turning and tilting the sensor housing (15).
Configuring the illumination time (TIME)
Use the TIME knob (3) on the sensor housing (15) to adjust the illumination time (approx. 10 sec to 7 min). Turn the TIME knob (3) clockwise (+ direction) to increase the illumination time, or turn it counter- clockwise (- direction) to reduce the illumination time.
Configuring the sensor sensitivity (SENS)
Use the SENS knob (4) on the sensor housing (15) to adjust the sensor sensitivity. Turn the SENS knob (4) clockwise (+ direction) to increase the sensitivity, or turn it counter-clockwise (- direction) to reduce the sensitivity. The higher the sensitivity, the larger the detection range (max. 12 metres).
Configuring the photosensitivity (LUX)
Use the LUX knob (5) on the sensor housing (15) to adjust the photosensitivity. This setting determines what ambient light level will trigger the twilight sensor to turn the LED spotlight on or off.
Turn the LUX knob (5) in the
direction to make the motion sensor (2) trigger in brighter ambient conditions.
Turn the LUX knob (5) in the
direction to make the motion sensor (2) trigger in darker ambient conditions.
Maintenance/cleaning
Maintenance
The LED spotlight (1) does not contain any components that require maintenance. The LED lamp cannot be replaced.
The light source of this light cannot be replaced. You need to replace the entire light when the light source has reached the end of its service life.
Cleaning
DANGER! The electric circuit must be switched off during any work on the LED spotlight (1) and also during cleaning! There is a risk of electric shock!
DANGER! Ensure that no liquids enter the housing of the LED spotlight (1) There is a risk of electric shock.
Clean the LED spotlight (1) using a soft, dry cloth, and never use cleaning agents or solvents that react with plastic. Only use a very slightly moistened cloth in case of heavy soiling.
Troubleshooting
The light does not go on
- The motion sensor (2) is not properly Correct its alignment.
- The electrical connection is Have the electrical connection checked by a qualified electrician.
The light goes on and off in rapid succession
- The sensor is experiencing interference caused by an external light source or bright, reflecting Remove the external light source or the surfaces that cause interference.
The light does not go off
- There are persons or objects in the sensor range of the motion sensor (2). Remove these.
- The LED spotlight (1) is swaying in the wind, causing the motion sensor (2) to trigger Make sure the LED spotlight (1) is firmly attached to a sturdy surface.
Environmental and waste disposal information
Devices marked with one of these symbols are subject to the European Directive 2012/19/EU. Electrical and electronic equipment must not be put in the household waste, but must be disposed of via designated public disposal centres.
The device may not be disposed of with household or bulk waste. You can find information on collection points or collection dates from your local authorities or your local waste management companies.
Make sure that the packaging is disposed of in an environmentally friendly manner. Cardboard packaging can be put out for waste-paper collection or taken to public collection points for recycling. The plastic packaging used for your device is collected by your local waste management company and disposed of in an environmentally friendly manner.
Please pay attention to the labels on packaging materials when you separate waste; these are marked with abbreviations (a) and numbers (b) that mean the following:
1–7: Plastics/20–22: Paper and cardboard/80–98: Composite materials.
The product can be recycled, is subject to an extended producer responsibility and is collected separately.
Notes on conformity
This product fulfils the requirements specified in the applicable European and national policies. This product’s conformity has been verified. The declarations and documents are stored with the manufacturer.
This product fulfils the requirements specified in the applicable national policies for the Republic of Serbia.
You can download the full EU declaration of conformity at the following link: https://www.targa.gmbh/downloads/conformity/353965_2010.pdf
Notes on guarantee and service
Warranty of TARGA GmbH
Dear Customer,
This device is sold with three years warranty from the date of purchase. In the event of product defects, you have legal rights towards the seller. These statutory rights are not restricted by our warranty as described below.
Warranty conditions
The warranty period commences upon the date of purchase. Please keep the original receipt in a safe place as it is required as proof of purchase. If any material or manufacturing faults occur within three years of purchase of this product, we will repair or replace the product free of charge as we deem appropriate.
Warranty period and legal warranty rights
The warranty period is not extended in the event of a warranty claim. This also applies to replaced and repaired parts. Any damage or defects discovered upon purchase must be reported immediately when the product has been unpacked. Any repairs required after the warranty period will be subject to charge.
Scope of warranty
The device was carefully manufactured in compliance with stringent quality guidelines and subjected to thorough testing before it left the works. The warranty applies to material and manufacturing faults. This warranty does not cover product components which are subject to normal wear and which can therefore be regarded as wearing parts, or damage to fragile components such as switches, rechargeable batteries or components made of glass. This warranty is void if the product is damaged, incorrectly used or serviced. To ensure correct use of the product, always comply fully with all instructions contained in the user manual. The warnings and recommendations in the user manual regarding correct and incorrect use and handling of the product must always be observed and complied with. The product is solely designed for private use and is not suitable for commercial applications. The warranty is rendered void in the event of incorrect handling and misuse, if it is subjected to force, and also if any person other than our authorised service technicians interfere with the device. No new warranty period commences if the product is repaired or replaced.
Submitting warranty claims
To ensure speedy handling of your complaint, please note the following:
- Before using your product for the first time, please read the enclosed documentation Should any problems arise which cannot be solved in this way, please call our hotline.
- Always have your receipt, the product article number as well as the serial number (if available) to hand as proof of purchase.
- If it is not possible to solve the problem on the phone, our hotline support staff will initiate further servicing procedures depending on the fault.
Service
Phone: 0800 404 7657
E-Mail: [email protected]
IAN: 353965_2010
Manufacturer
Please note that the following address is not a service address. First contact the service point stated above.
TARGA GmbH
Coesterweg 45
59494 Soest
GERMANY































