
INSTRUCTIONS
FIELD-ADJUSTABLE FFLED® INSTALLATION
RAB Lighting is committed to creating high-quality, affordable, well-designed and energy-efficient LED lighting and controls that make it easy for electricians to install and end users to save energy. We’d love to hear your comments. Please call the Marketing Department at 888-RAB-1000 or email: [email protected]

IMPORTANT
READ CAREFULLY BEFORE INSTALLING FIXTURE. RETAIN THESE INSTRUCTIONS FOR FUTURE REFERENCE.
RAB fixtures must be wired in accordance with the National Electrical Code and all applicable local codes. Proper grounding is required for safety. THIS PRODUCT MUST BE INSTALLED IN ACCORDANCE WITH THE APPLICABLE INSTALLATION CODE BY A PERSON FAMILIAR WITH THE CONSTRUCTION AND OPERATION OF THE PRODUCT AND THE HAZARDS INVOLVED.
WARNING: Make certain power is OFF before installing the fixture. No user serviceable parts inside.
KNUCKLE MOUNTING
(Suitable for FFLEDXS, FFLEDS, FFLEDM Only)
- Seal Knuckle Threads using Teflon tape or silicone sealant (not provided).
- Secure the LED flood to a 1/2″ NPS hole in a junction box or landscape post (supplied by other).
- Plug all unused holes and seal threads with silicone.
- The swivel Knuckle on the LED flood allows 180° of vertical aiming adjustment depending on mounting location. Loosen Locking Screw and adjust Fixture to desired angle (Fig. 1).
Fig: 1

- Locking Screw
- Knuckle Mount
- Knuckle Threads
TRUNNION MOUNTING
(Suitable for FFLEDM, FFLEDL Only))
- Loosen the Pivot Bolts and angle Locking Screws (Fig.
- Adjust fixture to desired angle.
- Tighten Pivot Bolts and angle Locking Screws.
Fig: 2

- Locking Screws
- Pivot Bolts
SLIPFITTER MOUNTING
(Suitable for FFLEDM, FFLEDL Only))
WARNING: RISK OF SERIOUS INJURY OR DEATH! DO NOT MOUNT THE SLIPFITTER TO A TENON OR BRACKET THAT IS 20 DEGREES FROM VERTICAL. MOUNTING ANY ANGLE OTHER THAN 0-20 DEGREES INCREASES THE RISK OF DISENGAGEMENT AND/OR FAILURE OF THE SLIPFITTER. INSTALL THE POLE ON A SECURE BASE OR INSTALL THE BRACKET TO A WALL FIRST, THEN PLACE LUMINAIRE ONTO THE POLE OR BRACKET. DO NOT LIFT ASSEMBLED LUMINAIRE OR POLE OR LUMINAIRE & BRACKET. LUMINAIRE OR POLE/BRACKET MAY DISENGAGE.
- The Slipfitter mounting fits a 2 3/8″ O.D. Tenon. Place the Slipfitter over the Tenon and secure the Fixture with the Set Screws on the side of the Slipfitter (Fig. 3).
- Loosen the Locking Bolt and swivel fixture to desired angle.
- Tighten the Locking Bolt.
Fig: 3

- Locking Bolt
- Set Screws
- Tenon
- Slipfitter
FIELD ADJUSTMENT
Follow instructions below to change the Fixture Color Temperature (CCT) and/or Power (W) from factory settings see Fig. 5 and Fig. 6.
Factory Settings:
FFLEDXS 9/13/18W 18W 5000K
FFLEDS 18/26/39W 39W 5000K
FFLEDM 52/80W 80W 5000K
FFLEDL 120/180/230W 230W 5000K
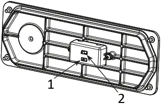
- Remove Fixture Back Plate by loosening Screws (4) as shown in Fig. 4.
- Locate the Selector Switches on the Fixture Back Plate as shown in Fig. 5 and Fig. 6.
- Select Color Temperature (CCT) and/or Power (W) by sliding the respective switch to the desired value.
- Replace Fixture Back Plate and secure with Screws (4).
Fig: 4

- Back Plate
- Screws (4)
Fig: 5

- Power (W) Selector Switch
- Color Temperature (CCT) Selector Switch
Fig: 6

- Power (w) Selector Switch
0-10V DIMMABLE WIRING
Universal voltage driver permits operation at 120V through 277V, 50 or 60 Hz. Units ordered with /480V suffix are 480V. For 0-10V dimming follow the wiring directions as shown in Fig. 7.
- Connect the black fixture lead to the LINE supply lead.
- Connect the white fixture lead to the COMMON supply lead.
- Connect the GROUND wire from fixture to supply ground.
- Connect the purple fixture lead to the DIM V+ lead.
- Connect the pink fixture lead to the DIM V- lead.
- Cap the yellow fixture lead, if present. Do NOT connect.
Fig: 7

- LINE
- COMMON
- ( + ) DIM V
- ( – ) DIM V
- GROUND
- Vaux 12V YELLOW
- PINK
- PURPLE
- WHITE
- BLACK
CLEANING & MAINTENANCE
CAUTION: Be sure fixture temperature is cool enough to touch. Do not clean or maintain while fixture is energized.
- Clean glass lens with non-abrasive glass cleaning solution.
- Do not open the fixture to clean the LED. Do not touch the LED.
TROUBLESHOOTING
- Check that the line voltage at the fixture is correct. Refer to wiring directions.
- Is the fixture grounded properly?
- Is the photocell, if used, functioning properly?
Note: These instructions do not cover all details or variations in equipment nor do they provide for every possible situation during installation, operation or maintenance.

© 2022 RAB LIGHTING Inc.
FFLED FA-IN 1022
P-100091-RAB
Easy Answers
rablighting.com
Visit our website for product info
Tech Help Line
Call our experts: 888 722-1000
e-mail
Answered promptly – [email protected]
Free Lighting Layouts
Answered online or by request
RAB WARRANTY: RAB’s warranty is subject to all terms and conditions found at rablighting.com/warranty.

















