wilfa WSPL-3B Coffee Machine online

IMPORTANT SAFETY INSTRUCTIONS
- This appliance can be used by children aged from 8 years and above if they have been given supervision or instruction concerning the use of the appliance in a safe way and if they understand the hazards involved. Cleaning and user maintenance shall not be made by children unless they are older than 8 and supervised. Keep the appliance and its cord out of reach of children aged less than 8 years.
- Appliances can be used by persons with reduced physical, sensory or mental capabilities or lack of experience and knowledge if they have been given supervision or instruction concerning the use of the appliance in a safe way and understand the hazards involved.
- Children shall not play with the appliance.
- Be aware that the heating plate will be warm for some time after use.
- This product is intended for indoor, non-industrial, non-commercial; household use only.
- Always unplug the appliance after use and before cleaning.
- Check device and cable regularly for damage. Do not use it if it is damaged.
- If the supply cord is damaged, it must be replaced by the manufacturer, its service agent, or similarly qualified persons in order to avoid a hazard.
- Always return the appliance to the store or a service center for examination or repair. Do not attempt to repair the appliance yourself, otherwise, the guarantee becomes invalid.
Keep the appliance away from heat sources, direct sunlight, moisture, and sharp edges. - Do not use with wet hands. Unplug immediately if the unit is damp or wet. Do not immerse in water.
- When the unit is cleaned after use, it must not be submerged in water or any other fluid.
- Be especially aware of the “special safety instructions” below.
SPECIAL SAFETY INSTRUCTIONS FOR THIS UNIT
- The unit must only be filled with fresh water.
- Pull out the plug when the unit is not in use.
- Only use original spare parts.
- Never use the glass jug on hotplates or in a microwave oven.
- Always remove the plug from the power socket prior to cleaning.
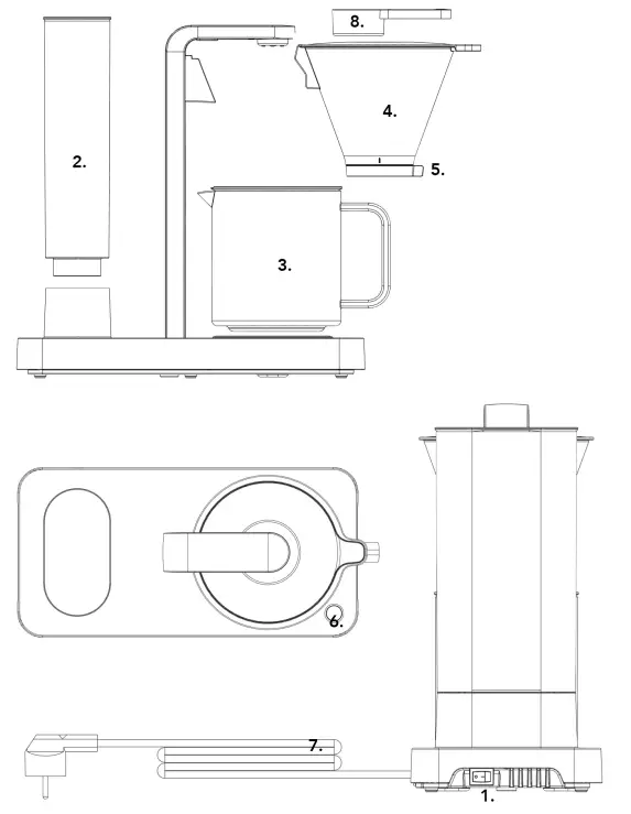
PRODUCT OVERVIEW

- On/off power switch
- Removable water tank
- Coffee jug
- Filter holder
- Flow control and drip stop
- Start button
- Power cord
- Measuring spoon
BEFORE USE
ELECTRICAL CONNECTION
Check that the voltage where you shall use the unit is the same as that specified on the unit. Details can be found on the label on the unit’s base plate.
WHEN USING THE UNIT FOR THE FIRST TIME
Please run 1.25L of fresh water through the unit without using a coffee filter or coffee prior to using the unit for the first time.
OPERATION
- Place the Wilfa Performance on a flat surface. Plug the power cord into the socket.
- Turn the on/off power switch on. Start button will blink twice and one beep will be heard.
- Fill the water tank with fresh water to the desired amount. Place a filter paper (1×4) in the filter holder. Place the recommended amount of coffee into the filter.
- We recommend that you use filter ground coffee, 60 g per litre of water. Experiment with the coffee quantities for the first few brewing’s to find the amount which you think is optimal.
- We also recommend that you use a Wilfa scale for best results.
- Attach the filter holder to the bracket. Set the flow control in relation to your desired brew preference.
- We recommend the following ratios of water and coffee (please note that different grinds and coffee types will influence these ratios somewhat):
- 1,25 l – 75 g
- 1 l – 60 g
- 0,75 l – 45 g
- 0,50 l – 30 g
- Press the start button to start the brewing process. Wilfa Performance has Wilfa’s unique pump system which transports water through the system at an optimal temperature from the first to the last drop.
- When the brewing process is complete, the unit will switch over to the keep warm state. The start button will remain lit up. After 40 minutes the coffee maker will automatically be switched off. If you want to switch off the coffee maker before 40 minutes (with a light on the start button) just press the start button once and the coffee maker will be switched off.
- By setting the flow control to the right, it will act as a drip stop.
TIPS
- Rinse the coffee filter in water to remove any unwanted taste prior to brewing.
- Always use fresh coffee. You will obtain the best results if the coffee you use is freshly ground. Grounded coffee loses many of its aromas just after a few minutes and by grinding the coffee yourself just before you brew, you keep all the good aromas for the best coffee taste.
- You can use one of Wilfa’s coffee grinders suitable for grinding filter coffee. Using different degrees of grinding will affect the coffee’s strength and taste.
- The enclosed filter holder has a manual drip stop. Wilfa does not recommend serving coffee before the filter process is completed, since this will diminish the final coffee result.
- If even hotter coffee is desired, the glass jug should be rinsed with hot water prior to brewing. This is especially recommended if you are making 0.5 liters of coffee or less.
- If the coffee maker has not been used for a while it is recommended to run clean water through the unit prior to use.
- The coffee residue will always stay on parts in contact with the coffee. For optimal coffee taste, you should clean the filter holder, jug, and jug lid regularly.
- Do not use the coffee jug to fill the water tank with fresh water as coffee residues will influence on the quality of the brewed coffee.
CLEANING INDICATOR
The light on the start button will slowly pulsate when you start the 180th brewing process. The coffee machine indicates that it is time for cleaning, and you should then clean the unit. The button will pulsate for three brewing cycles before the counter automatically resets.
CLEANING & MAINTENANCE
CLEANING
- Use a cleaning product, like Clean drop or other detergents intended for cleaning coffee makers. Remember to brew through with clean water after the cleaning process.
- If necessary, the device may be cleaned with a damp cloth without any additives.
- Filter holder, coffee jug and lid can be washed in hot soapy water or placed at the top in the dishwasher.
- Never wash other parts of the device in the dishwasher. Never use strong detergents, scouring powders, steel wool or other release agents on any part of the coffee maker.
DESCALING
- Use a commercially available descaling detergent.
- Descaling should be done, as needed. In areas with hard water, descaling must be done regularly
TROUBLESHOOTING

GUARANTEE
Wilfa issues a 5-year guarantee on this product from the day of purchase is done. The guarantee covers production failure or defects that arise during the guarantee period. Your purchase receipt works as proof towards the retailer if claiming your guarantee. The guarantee is valid only for products that are bought and used in private households. The guarantee is not valid if the product is used commercially. The guarantee is not valid if the product is misused, used by negligence, if not following instructions given by Wilfa, if modified or if unauthorized reparation is done. The guarantee is also not valid for normal wear of the product, misuse, lack of maintenance, use of wrong electrical voltage or:
- Overloading of product
- Damage on glass
- Not descaled according to the instruction manual
- Parts that are normally worn down
PRODUCT SPECIFICATIONS
- 220-240V~ 50/60Hz, 1800W
SUPPORT AND SPARE PARTS
For support please visit us at wilfa.com, and see our customer service/support page. Here you will find frequently asked questions, spare parts, tips and tricks and all our contact information.
RECYCLABILITY
This marking indicates that this product should not be disposed with other household wastes throughout the EU. To prevent possible harm to the environment or human health from uncontrolled waste disposal, recycle it responsibly to promote the sustainable reuse of material resources. To return your used device, please use the return and collection systems or contact the retailer where the product was purchased. They can take this product for environmentally safe recycling free of charge.




















