BRITELINE
GEN2 2
External version
INSTALLATION INSTRUCTIONS![]()
Briteline Gen2 2 External Version


| a = 0° | a = 30° | a = 45° | a = 70° | a = 90° | |||||||||||
| S(m2) | CxS (m2) | EPA (ft2) | S(m2) | CxS (m2) | EPA (ft2) | S(m S(m2) | CxS (m2) | EPA (ft2) | S(m S(m2) | CxS (m2) | EPA (ft2) | S(m2) | CxS (m2) | EPA (ft2) | |
| $1 | 0.0633 | 0.08 | 0.82 | 0.1718 | 0.21 | 2. | 0.2253 | 0.28 | 3. | 0.2815 | 0.34 | 4. | 0.2915 | 0.35 | 4. |
| $2 | 0.2915 | 0.35 | 4. | 0.2764 | 0.34 | 4. | 0.2428 | 0.3 | 3. | 0.1530 | 0.19 | 2. | 0.0633 | 0.08 | 0.82 |
| S3 | 0.0625 | 0.08 | 0.81 | 0.0625 | 0.08 | 0.81 | 0.0625 | 0.08 | 0.81 | 0.0625 | 0.08 | 0.81 | 0.0625 | 0.08 | 0.81 |
MOUNTING

Screws and washers are not included in the package!
Minimum screw requirement:
| Vibration standard | IEC 0.5g / ANSI 1.5g |
| Minimum fastener requirement | lx M20 8.8 or A2-70 DIN9021 large plain washer |
| Tightening torques | 1xM20: 200 Nm 2xM20: 140 Nm |
Recommended to use anti-seizing agent (Tikal Tef-Gel®) !
1 1xM20 with extra large washer or
2 2xM20 with extra large washer
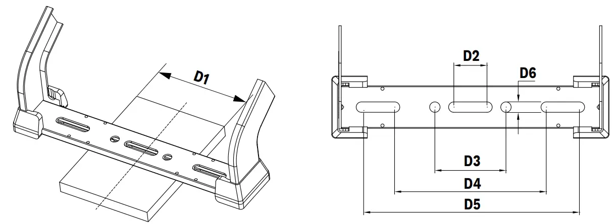
Mounting dimensions
| D1 | D2 | D3 | D4 | D5 | D6 |
| min 250mm min 9.84in | 70mm 2.75in | 150mm 5.9in | 320mm 12,6in | 460mm 15.98in | 22mm 0.86in |

Minimum Surface Contact Area for screw fixation 124mm/4.88in

Fasteners are not included in the package!![]()
Remark: the hatched area always need to be supported by a flat planar mounting surface as minimum. Wider surface contact is recommended, smaller is not allowed!





| Cable ID | Connection | Cable gland | Suitable cable 0 |
| A | Mains input | M20 | 06-10mm or 010-14mm |
| B | Mains re-launch | ||
| C | DC output to optical block | M25/cable protection compatibility | 06-10mm or 010-14mm |
| D | Dimming input | M16 | 04.5-7.5mm or 07.5-10.5mm |
| E | Dimming re-launch |
Cable types and cable gland
When using a larger external diameter cable, the plug and the smaller inner diameter seal need to be removed. When using a smaller external diameter cable, simply remove the plug.


Make electrical connection
| Connection | Cable gland | Recommended cable type |
| Control signal | PG16(05-07.5/07.5-010) | HO5RN-F, 2 x 1-1.5mm2 |
| AC INPUT | PG20(06-010/010-014) | HO7RN-F, 3 x 1.5-4mm= |
| DC OUTPUT | PG20(06-010/010-014) | HO5RN-F, 5 x 1.0mm= HO7RN-F, 5 x 1.5mm= |

Close the cover of the junction box and gear box, and put the R-type buckles back on both.
Use metal tubes to protect the cables connected to the junction box.
RECOMMENDATIONS

At least 1 meter distance should be kept from surrounding walls, floor, and ceiling for all types of mounting/inclination.
| Product | Driver | MCB B type | |||||||
| B10 | B13 | B16 | B20 | B25 | B32 | B40 | |||
| BRITELINE GEN2 2 @220V | EUM-680MG/BG | 0 | 1 | 1 | 1 | 2 | 2 | 3 | |
| BRITELINE GEN2 2 @480V | ESM-680MG/BG | 1 | 1 | 1 | 2 | 2 | 3 | 4 | |
| Product | Driver | MCB C type | |||||||
| 10 | 13 | 16 | C20 | C25 | C32 | 40 | |||
| BRITELINE GEN2 2 @220V | EUM-680MG/BG | 0 | 1 | 1 | 1 | 2 | 2 | 3 | |
| BRITELINE GEN2 2 @480V | ESM-680MG/BG | 1 | 2 | 2 | 3 | 4 | 5 | 7 | |

The small blocks on the side of the optical block assure the installation of the built-in aiming devide. The external aiming device position 1 needs to be aligned with positions 2 and 3

SAFETY INSTRUCTIONS
The light source contained in this luminaire shall only be replaced by the manufacturer orhis service agent or a similar qualified person. Always switch off the power prior to installation, maintenance or repair activities. ENG RISK GROUP 2 – CAUTION! azardous opticalradiation may be emitted from this product. Do not stare at the luminaire when operating as it may be harmful to the eyes. The luminaire should be positioned so that prolonged staring at the luminaire at a distance of less than 0.2m is not expected. This product contains a light source of an energy efficiency class G or higher. In case of PVC insulated mains cable, the installer MUST ensure that the WHOLE cable is protected against climatic conditions, especially UV rays and rain, by making sure that the cable is contained inside the luminaire and pole Y-connection: In case of damage to the wire, it has to be replaced only by the manufacturerdistributor or by an expert, to avoid risks.
![]()
Copyright © Schréder S.A. 2023 – Executive Publisher:
Stéphane Halleux – B-4000 Liége, Rue de Mons 3 (Belgium)
The information, descriptions and illustrations herein are only of an indicative nature and subject to changes without notice.
www.schreder.com
Rev B | 07-2023

















