BOSS SNOWPLOW 143-1450 Snowrator Parking Brake Kit Instruction Manual
Installation
Determine the left and right sides of the machine from the normal operating position.
Preparing the Machine
- Park the machine on a level surface, move the motion-control levers to the NEUTRAL position, shut off the engine, wait for all moving parts to stop, remove the key, and chock the rear tires.
- Remove the bolts on the backplate securing the brine tank in place, remove the bolts securing the operator platform in place, remove the operator platform, disconnect the hoses attached to the top of the brine tank, and remove the brine tank through the rear of the machine.

Locations of bolts to remove. Repeat on the right side.
- Remove these bolts.
Figure 2
- Brine tank hose
- Raise the front of the machine and support it with jack stands.
- Remove the lug nuts securing the front tires to the machine and remove the front tires.
Installing the Parking Brakes
- Remove the 6 carriage bolts and locknuts installed on the sides of the machine and discard the hardware.

Figure 3
Left side of the machine shown. Repeat on the other side.
- Remove 6 carriage bolt and fastener pairs.
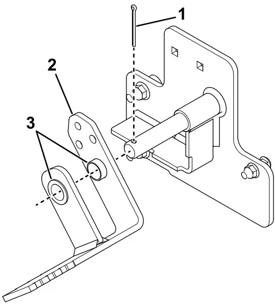
- Install the parking brake to the left-side bracket using 2 bushings and secure it with a hairpin cotter as shown in Figure 4.

- Hairpin cotter
- Parking brake
- Bushing
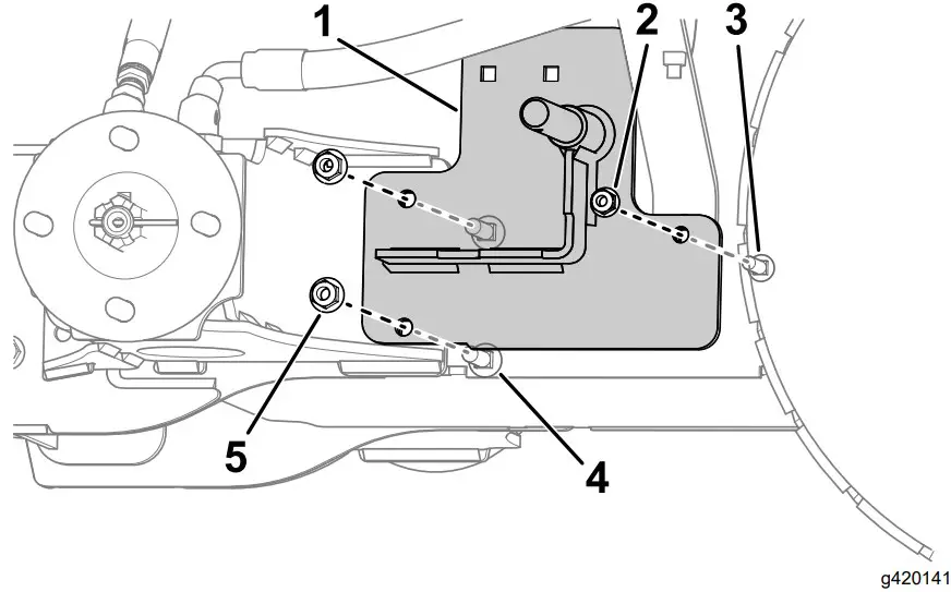
On the left side of the machine, install the parking-brake assembly using 2 carriage bolts (3/8 x 1-1/2 inches), 2 locknuts (3/8 inch), 1 carriage bolt (5/16 x 1-1/4 inches), and 1 locknut (5/16 inch).
Figure 5
Parking brake hidden
- Pawl bracket
- Locknut (5/16 inch)
- Carriage bolt (5/16 x 1-1/4 inches)
- Carriage bolt (3/8 x 1-1/2 inches)
- Locknut (3/8 inch)

Operation
Push down on the lever to engage the parking brake.
The pawl should be 1 cm (3/8 inch) from the tire tread in the released position. To adjust the parking brake, change the position of the adjustment nuts on the brake linkages.























