Kraus GV-200 Irruption Red Glass Vessel Bathroom Sink Instruction Manual
Glass Vessel Sinks
Congratulations on the purchase of your new Kraus plumbing fixture!
Please keep the box and packaging materials until your product is completely installed. If you have any questions, require technical assistance or have any problems with your product:
DO NOT RETURN TO STORE
Please contact our Customer Service Team
1-800-775-0703 / [email protected]
Have the model number available and retain a copy of your receipt with purchase date for reference.
If for any reason this product does not meet your expectations, please be sure to repack this product in the original box and packaging material to avoid damage during transit.
Prior to Installation:
- Unpack your new product and ensure that all the parts are contained in the packaging
Keep the product in its original box until you’re ready to install it - The counter top must be flat
- Shut off the water supply if replacing a previously-installed vessel sink
- Observe all plumbing and building codes in your area
- It is recommended that installation of the product be done by a professional plumber.
For technical assistance or replacement parts, please contact Kraus Customer Service and one of our representatives will be happy to help:
Toll-Free: 800-775-0703 or [email protected]
The step-by-step guidelines in the installation instructions are a general reference for installing a Kraus sink. Should there be any discrepancies, Kraus cannot be held liable. It is recommended to install all Kraus products by hiring a licensed professional.
Dimensions

Model #: GV-101-14, GV-101FR-14,
GV-103-14, GV-104-14
Sink Dimensions: Ø14” x 5 1/2”
Glass Thickness: 12mm

Model #: GV-100, GV-101, GV-101FR,
GV-104, GV-200, GV-204, GV-580,
GV-651, GV-684
Sink Dimensions: Ø16 1/2” x 5 1/2”
Glass Thickness: 12mm

Model #: GV-101-19mm, GV-391-19mm,
GV-398-19mm, GV-399-19mm, GV-680-19mm
Sink Dimensions: Ø17” x 6”
Glass Thickness: 19mm

Model #: GV-150-19mm
Sink Dimensions: Ø17” x 6”
Glass Thickness: 19mm
Rim Thickness: 34mm

Model #: GVR-204-RE, GVR-210-RE
Sink Dimensions: 21 7/8” x 13 7/8″ x 4”
Glass Thickness: 15mm

Model #: GVS-901-19mm
Sink Dimensions: 16 1/2” x 16 1/2″ x 6”
Glass Thickness: 19mm
Rough-In Dimensions

Installer Tip
Shut off main water supply before installation.
Above Counter Installation Instructions
Before You Begin
Prepare counter top by drilling a 1 3/4’’ diameter drain hole at the desired location. Install mounting ring. Place vessel sink on the mounting ring or counter top as shown below.
- Make sure the vessel sink is not scratched, chipped or broken prior to installation.
- Check to see if your set contains the following parts:
- Vessel sink
- Pop up drain (optional, may be sold separately)
- Mounting Ring (optional, may be sold separately)
- Locate and place the mounting ring over the drain hole with the rubber side facing down and the white washer side facing up.
- Gently set your sink on top of the mounting ring.

Pop Up Drain & Mounting Ring Installation (Only if Included)
Locate and disassemble your pop up drain in the following order:
- Unscrew the tail piece
- Unscrew the brass nut
- Remove the firm washer
- Remove the concave washer, leaving the top thin rubber washer on.

- From above the countertop, insert the drain body into the 1 3/4” drain opening of your sink.
- From underneath the countertop, insert the concave white rubber washer onto the drain.
- Pushing the washer all the way up until it is in contact with the countertop.
- Insert the firm washer onto the drain body until it comes into contact with the concave white rubber washer.
- Screw the brass nut onto the drain body until it touches the firm washer.

Codes/Standards Applicable

Glass Bathroom Sink Warranty
Kraus products are manufactured and tested to the highest quality standards by Kraus USA Inc. (“Kraus”).
Kraus extends this warranty to the original purchaser for personal household use of the “Glass Sink” in its original location.
The warranty is non-transferable.
Kraus warrants the structure and finish of the product (Glass Sink) to be free from defects in material and workmanship under normal usage for the lifetime of the product. The warranty commences from the initial date of purchase by the owner or trade professional, from an authorized Kraus dealer, through the lifetime of the original owner or end-user.
Any product reported to the authorized dealer or to Kraus as being defective within the warranty period will be repaired or replacedwith a product of equal value at the option of Kraus. This warranty extends to the original owner or end-user, and is not transferable to a subsequent owner.
Restrictions
This warranty does not cover antediluvian, discontinued, or display products, whether such items are purchased at discount outlets, unauthorized dealers, and/or sold on clearance.
This warranty does not cover instances of negligence, misuse, abuse, improper installation, carelessness, accident, hard water or mineral deposits, exposure to corrosive materials, misapplication, damages caused by improper maintenance, alteration of the product, or failure to follow care or installation instructions enclosed with your product. Avoid using abrasive cleaners such as powders, bleach, ammonia, alcohol, or chlorine. Avoid using abrasive pads, steel wool, or wire brushes, as these will damage and wear down the finish.
This warranty does not apply to Products that have not been installed or operated in accordance with instructions supplied by Kraus and all applicable rules, regulations, and legislation pertaining to such installations.
This warranty does not apply unless the Kraus product is installed by a fully insured and licensed trade professional. Kraus insists that such professionals have experience in the installation of bathroom and kitchen manufactured goods.
This warranty does not cover labor charges or costs of removal and reinstallation of said product. This warranty does not allow recovery of incidental or consequential damages, such as loss of use, delay, property damage, or other consequential damages, and Kraus accepts no liability for such damages. This warranty does not cover Marine or Outdoor Installation.
Except as otherwise provided above, Kraus makes no warranties, expressed or implied, including warranties of merchantability and fitness for a particular purpose, or compliance with any code.
Shipping charges will be covered for the first (1) year of the warranted replacement part or product (HI, AK, and Puerto Rico shipping charges may apply). International shipping fees are not included.
Commercial Warranty
Kraus extends the above warranty for a period of one (1) year to purchasers of products for industrial, commercial, and business use.
All incidental or consequential damages are specifically excluded. No additional warranties, express or implied, are given, including but not limited to any implied warranty of merchantability or fitness for a particular purpose.
Some states do not allow the exclusion or limitation of incidental or consequential damages, or limitations on how long an implied warranty lasts, so the above limitations or exclusions may not apply to you.
This warranty gives you specific legal rights, and you may also have other rights which vary from state to state.
KRAUS USA has the right to change, modify, and/or update the warranty policy at any time. For the latest, most up to date comprehensive warranty, go to www.kraususa.com/warranty
If you are a homeowner please contact a Kraus Customer Service Representative at:
Kraus USA, Inc.
12 Harbor Park Drive
Port Washington, NY 11050
Toll-free 800-775-0703
[email protected]
If you are a plumbing contractor or trade professional please contact a Kraus Pro Representative at:
Kraus USA, Inc.
12 Harbor Park Drive
Port Washington, NY 11050
516-801-8955
[email protected]
If you are an Authorized Partner please contact a Partner Support Representative at:
Kraus USA, Inc.
12 Harbor Park Drive
Port Washington, NY 11050
516-801-8954
[email protected]
In requesting warranty service, please be ready to provide:
- Proof of purchase.
- A description of the problem.
Download the Kraus Care & Maintenance Guide at:
http://www.kraususa.com/maintenance
IMPORTANT
Register Your Kraus Product
Activate Your Warranty
Access Premium Customer Support
Get Product Information
REGISTER TODAY
http://www.kraususa.com/registration
Arlo™ Single Lever Vessel Faucet
Congratulations on the purchase of your new Kraus plumbing fixture!
Please keep the box and packaging materials until your product is completely installed. If you have any questions, require technical assistance, or have any problems with your product:
DO NOT RETURN TO STORE
Please contact our Customer Service Team
1-800-775-0703 / [email protected]
Have the model number available, and retain a copy of your receipt with purchase date for reference.
If for any reason this product does not meet your expectations, please be sure to repack this product in the original box and packaging material to avoid damage during transit.
Prior to Installation:
- Make sure you have all necessary parts by checking the diagram and parts list. If any part is missing or damaged, please contact Kraus Customer Service at 800-775- 0703 for a replacement
- Turn off the hot and cold water lines at the angle stops and turn on the old faucet to release any built-up pressure
- Pre-drilled countertop hole size requirement: 1-3/8”(min)
- Max countertop thickness: 2 1/2”
Tools you will need:


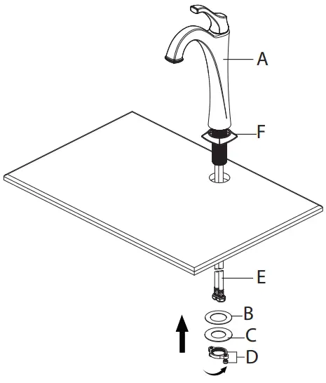
Diagram and Parts List

- A. Faucet Body
- B. Plastic Washer
- C. Metal Washer
- D. Nut & Screws
- E. Waterlines
- F. Flange & Washer
- G. Aerator
- H. Aerator Key
- I. Hex Wrench
- J. Drain
Faucet Dimension

Installer Tip:
Shut off main water supply before installing new faucet.
Step 1: Remove washers and nut
Shut off the water supply. Remove the old faucet. Clean the mounting surface.
Remove the plastic washer (B), metal washer (C) and nut & screws (D) from the faucet (A).
Step 2: Install faucet
Before installation, ensure that the flange (F) is placed on the bottom of the faucet assembly (A). Place faucet (A) through the 1-3/8” holes in countertop .
Secure the faucet (A) to the countertop using the plastic washer (B), metal washer (C) and nut & screws (D) provided.
Hand tighten the nut onto the end valve shank. Lock the nut into position by tightening the screws (D) with a phillips screwdriver.

Step 3: Connect waterlines to main valve
Attach waterlines(E) to angle stops and tighten until snug. Turn on angles stops and check for leaks (DO NOT TURN FAUCET ON)
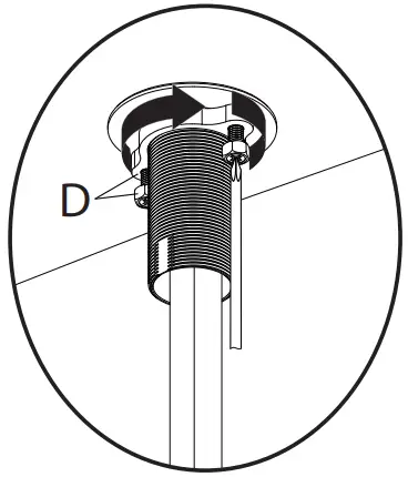
Step 4: Install Press pop-up assembly
Unscrew the nut (6) from the pop-up body (2), move over the tail pipe (7) and washer (5), then unscrew the coupling nut (4) and remove the washer (3).
Step 4: Install Press pop-up assembly
Place the washer (1) underneath the flange of the pop-up body (2). Slide the pop-up body (2) down through the drain hole on the vessel or basin.
From underside, slide the washer (3) against the bottom of the vessel or basin, thread on the coupling nut (4) and tighten. Do not overtighten.
Slide the nut (6) over the tail pipe (7).
Place the washer (5) into the nut and tighten. Do not overtighten.
Step 5: Flush faucet
After installing faucet, remove aerator (G) with included aerator key (H). Turn water on for 30 seconds to remove any debris. Reassemble aerator (G).
Replacement Parts

| Replacement Parts List | Finish / Color | Part # |
| 1. Cover Button | GR, BL | KP27002 |
| 2. Set Screw | KP27001 | |
| 3. Handle | CH, SFS, ORB, MB BG* | KP27046 |
| 4. Cap | CH, SFS, ORB, MB BG* | KP27048 |
| 5. Bonnet Nut | KP27049 | |
| 6. Screw | KP27047 | |
| 7. Cartridge | KP27050 | |
| 8. Aerator | KP27051 | |
| 9. Aerator Key | KP27052 | |
| 10. Plastic Washer | KP27146 | |
| 11. Metal Washer | KP27147 | |
| 12. Nut & Screws | KP27148 | |
| 13. Flange & Washer | CH, SFS, ORB, MB BG* | KP27053 |
| 14. Drain | CH, SFS, ORB, MB BG* | KP27059 |
| 15. Hex Wrench | KP27020 | |
| 16. Filter Washer | KP27167 |
Denotes faucet component color options:
CH – Polished Chrome
SFS – Spot Free Stainless Steel
ORB – Oil Rubbed Bronze
MB – Matte Black
BG – Brushed Gold
GR – Grey
BL – Black
Troubleshooting
If you have followed the instructions carefully and your faucet still does not work properly, take the following corrective steps:
| PROBLEM | CAUSE | ACTION |
| Leakage under the handle | Bonnet nut (5) has come loose | Remove the index (1). Loosen set screw (2) with hex wrench (15). Remove the handle (3). Unscrew cap (4) (by hand only). Tighten bonnet nut (5) with an adjustable wrench |
| Aerator drips or has inconsistent water flow pattern | Aerator (8) is dirty or not seated properly | Unscrew aerator (8) with aerator wrench (9) and clean out debris |
| Water will not shut off completely | Cartridge may need to be adjusted or replaced | Remove the index (1). Loosen set screw (2) with hex wrench (15). Remove the handle (3). Unscrew cap (4) (by hand only). Tighten bonnet nut (5) with an adjustable wrench. Remove the cartridge (7). Check for cracks |
| There is leaking from the sink drain at the base of the sink. | The sink has a rough or irregular surface. | Apply additional silicone sealant to the beveled side of the drain flange, Retighten and test for leaks. |
| There is a flow of water. | The Screen filter in the hose connectors is dirty. | Turn off the water supply at water valve and unscrew the hose connectors from water supply lines. Clean the screen in the water lines with hot water, removing any debris or calcium build up. |
Care & Maintenance
To keep the product clean & shining, follow the steps below:
- Rinse with clean water & dry with a soft cloth
- Do not clean with soaps, acid, polish, abrasives, or harsh cleaners
- Do not use cloth with a coarse surface
- Unscrew the aerator and clean when necessary
This installation manual is subject to change without further notice.
Codes/Standards Applicable:


Faucet Warranty
Kraus products are manufactured and tested to the highest quality standards by Kraus USA Inc. (“Kraus”).
Kraus extends this warranty to the original purchaser for personal household use of the “Faucet” in its original location. The warranty is non-transferable.
Kraus warrants the structure and finish of the product to be free from defects in material and workmanship under normal usage for the lifetime of the product. The warranty commences from the initial date of purchase by the owner or trade professional, from an authorized Kraus dealer, through the lifetime of the original owner or end-user.
Kraus warrants the mechanical components such as but not limited to spray head assembly (includes engine, aerators , structure, restrictors, back flow preventers, sprayer hoses, braided supply line hoses which encompasses nylon, silicon and stainless steel, etc) of the product to be free from defects in material and workmanship under normal usage for a period of one (1) year. The warranty commences from the initial date of purchase by the owner or trade professional, from an authorized Kraus dealer, through the one (1) year term of the original owner or end-user.
Kraus warrants the mechanical component (cartridge) of the product to be free from defects in material and workmanship under normal usage for a period of five (5) years. The warranty commences from the initial date of purchase by the owner or trade professional, from an authorized Kraus dealer, through the five (5) year term of the original owner or end-user.
Any product reported to the authorized dealer or to Kraus as being defective within the warranty period will be repaired or replaced with a product of equal value at the option of Kraus. This warranty extends to the original owner or end-user, and is not transferable to a subsequent owner.
Restrictions
This warranty does not cover antediluvian, discontinued, or display products, whether such items are purchased at discount outlets, unauthorized dealers, and/or sold on clearance.
This warranty does not cover instances of negligence, misuse, abuse, improper installation, carelessness, accident, hard water or mineral deposits, exposure to corrosive materials, misapplication, damages caused by improper maintenance, alteration of the product, or failure to follow care or installation instructions enclosed with your product. Avoid using abrasive cleaners such as powders, bleach, ammonia, alcohol, or chlorine. Avoid using abrasive pads, steel wool, or wire brushes, as these will damage and wear down the finish.
This warranty does not apply to Products that have not been installed or operated in accordance with instructions supplied by Kraus and all applicable rules, regulations, and legislation pertaining to such installations.
This warranty does not apply unless the Kraus product is installed by a fully insured and licensed trade professional. Kraus insists that such professionals have experience in the installation of bathroom and kitchen manufactured goods.
This warranty does not cover labor charges or costs of removal and reinstallation of said product. This warranty does not allow recovery of incidental or consequential damages, such as loss of use, delay, property damage, or other consequential damages, and Kraus accepts no liability for such damages.
This warranty does not cover Marine or Outdoor Installation.
Except as otherwise provided above, Kraus makes no warranties, expressed or implied, including warranties of merchantability and fitness for a particular purpose, or compliance with any code.
Shipping charges will be covered for the first (1) year of the warranted replacement part or product (HI, AK, and Puerto Rico shipping charges may apply). International shipping fees are not included.
Commercial Warranty
Kraus extends the above warranty for a period of one (1) year to purchasers of products for industrial, commercial, and business use.
All incidental or consequential damages are specifically excluded. No additional warranties, express or implied, are given, including but not limited to any implied warranty of merchantability or fitness for a particular purpose.
Some states do not allow the exclusion or limitation of incidental or consequential damages or limitations on how long an implied warranty lasts, so the above limitations or exclusions may not apply to you. This warranty gives you specific legal rights, and you may also have other rights which vary from state to state.
If you are a homeowner please contact a Kraus Customer Service Representative at:
Kraus USA, Inc.
12 Harbor Park Drive
Port Washington, NY 11050
Toll-free 800-775-0703
[email protected]
If you are a plumbing contractor or trade professional please contact a Kraus Pro Representative at:
Kraus USA, Inc.
12 Harbor Park Drive
Port Washington, NY 11050
516-801-8955
[email protected]
If you are an Authorized Partner please contact a Partner Support Representative at:
Kraus USA, Inc.
12 Harbor Park Drive
Port Washington, NY 11050
516-801-8954
[email protected]
In requesting warranty service, please be ready to provide:
- Proof of purchase.
- A description of the problem.
Download the Kraus Care & Maintenance Guide at:
http://www.kraususa.com/maintenance
IMPORTANT
Register Your Kraus Product
Activate Your Warranty
Access Premium Customer Support
Get Product Information
REGISTER TODAY
http://www.kraususa.com/registration




















