INSTALLATION MANUAL
Ripieno TM Series
Top Mount Kitchen Sinks
KGTW1-33 / KGTW2-33 / KGTW12-33
Congratulations on the purchase of your new Kraus plumbing fixture!
Please keep the box and packaging materials until your product is completely installed. If you have any questions, require technical assistance or have any problems with your product:
DO NOT RETURN TO THE STORE
Please contact our Customer Service Team
1-800-775-0703 / [email protected]
Have the model number available and retain a copy of your receipt with the purchase date for reference.
If for any reason this product does not meet your expectations, please be sure to repack this product in the original box and packaging material to avoid damage during transit.
Prior to Installation:
- Make sure that you have all the necessary parts by checking the parts list. If any part is missing or damaged, please contact Kraus Customer Service at 800-775-0703 for a replacement
- Inspect the sink prior to installation to make sure that it has not been damaged during shipping
- Use the cut-out template provided by Kraus
- Observe all plumbing and building codes according to your state requirements
For technical assistance or replacement parts, please contact Kraus Customer Service and one of our representatives will be happy to help:
Toll-Free: 800-775-0703 or [email protected]
The step-by-step guidelines in the installation instructions are a general reference for installing a Kraus sink. Should there be any discrepancies, Kraus cannot be held liable. It is recommended to install all Kraus products by hiring a licensed professional.
Tools you will need

NOTE: Specialized tools may be necessary to install Kraus Granite Kitchen sinks with countertop materials other than wood, marble, or granite.
Parts List
KGTW1-33
- Cut-Out Template
- Mounting Hardware
- Strainer ST-4
- Cutting Board KCB-WS301SA
- Rolling Mat KRM-11BL
KGTW2-33 - Cut-Out Template
- Mounting Hardware
- Strainer ST-4
- Cutting Board KCB-WS301SA
- Rolling Mat KRM-11BL
KGTW12-33 - Cut-Out Template
- Mounting Hardware
- Strainer PST1
- Cutting Board KCB-WS303
Hardware (Included)
Kit for Drop-In Installation
Important
- Instructions may vary depending on countertop material. Read all instructions carefully, and ensure that counters are compatible with sink installation before proceeding.
- Follow the plumber’s code and builder’s code effective in your area.
- Shut off water valves prior to installation.
- Open sink packaging and verify that the sink is in perfect condition. Put sink back into the packaging to protect it until time of installation.
- To replace an existing sink, make sure that the cut-out hole in the counter is of an adequate size to fit the new sink.
Dimensions

Model #: KGTW12-33
Sink Dimensions: 33” x 22” x 9 5/8”
Min Cabinet Size: 36”
Trace Opening
- Locate the drop-in template in the box.
- Cut carefully along the dotted lines. Keep the inside portion of the template. It contains important information concerning care and maintenance for your new sink.
- Place the template on the counter, in the location where you will be installing the sink. When placing the template, note the location of cabinet doors and panels to ensure that they are compatible with sink installation. Make sure that there is enough space for water supply installation. Identify the location of the faucet and soap dispenser.
- Fix the template to the counter using masking tape.
- Trace the inside of the template with a pencil. Remove the template from the countertop.
OR - Turn the sink upside down and place it on top of the counter. Note the location of cabinet doors and panels to ensure that they are compatible with sink installation. Make sure that there is enough space for water supply installation. Identify the location of the faucet and soap dispenser.
- Trace the outer edge of the sink with a pencil, then remove the sink.
- Measure 7mm in from the initial sink measurement and trace another line on the inside of the drawing. This second line will be the cutting line.

Cut Opening
- Using the drill, make a small starting hole of about 1/2” on the inside of the cutting line.
- Drill a second time in the same hole with a larger bit to enlarge the hole so that the jigsaw can be inserted properly.
- Put masking tape on the outer side of the cutting line. This will protect the counter from scratches and shattered fragments caused by the jigsaw.
- Using the jigsaw, trim the inside of the cutting line.
- Insert the sink and adjust the opening if necessary.

Add Additional Faucet Hole (Optional)
- Determine the location of the faucet.
- Place the sink upside down on a suitable flat surface.
- Using the 32mm (1 1/4”) diamond hole saw at high power (1500tr. per breakthrough in the desired location.
CAUTION: This procedure will cause the metal saw to become very hot. Please handle it with care.

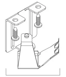
Install Mounting Hardware
- Attach mounting clips to the sink body using the 2 short screws provided. Make sure the hooked side of the mounting clip is facing away from the sink.

Install Sink
- Clean and dry the surface around the opening of the sink.
- Verify that the sink fits correctly in the opening. The edge of the sink must sit on the counter.
- Turn the unit upside down to apply sealant. Apply silicone-based sealant (not included) underneath the edge of the sink.
- Ensure that the plastic flap holding the screw underneath the sink is partially opened, as shown.
- Insert the sink into the opening.
- Fix the sink to the counter by swiveling the mounting brackets, as shown.
- Tighten the screws in the front of the sink, followed by the ones in the back and on the sides of the sink.
- Remove excess silicone-based sealant.

Install Drain
- Insert the metal strainer into the rubber seal, and then into the drain hole.
- Insert the rubber gasket and the main drain body underneath the sink.
- Using the screw, tighten the main drain body and the metal strainer into place.
- Insert the basket on top of the drain installation.

Install Pipes
- Install the faucet following the manufacturer’s instructions.
- Make proper water and waste pipe connections.
- Note: Before installation, please check that the drain kit complies with ASME A112.18.2/CSA B125.2 and with CUPC certification.
Maintenance
Clean your sink on a regular basis with warm soapy water. Rinse the sink after using cleaning products. Wipe the sink surface with a soft cloth to remove any liquid residue. Do not cut food directly on the surface of the Do not leave sharp objects on the surface of the sink for an extended period of time. Do not use abrasive cleaning products, sanding tools, steel wool, or bleaching products.
Download the Kraus Care & Maintenance Guide at: http://www.kraususa.com/maintenance
If you are a homeowner please contact a Kraus Customer Service Representative at:
Kraus USA, Inc.
12 Harbor Park Drive
Port Washington, NY 11050
Toll-free 800-775-0703
[email protected]
If you are a plumbing contractor or trade professional please contact a Kraus Pro Representative at:
Kraus USA, Inc.
12 Harbor Park Drive
Port Washington, NY 11050
516-801-8955
[email protected]
If you are an Authorized Partner please contact a Partner Support Representative at:
Kraus USA, Inc.
12 Harbor Park Drive
Port Washington, NY 11050
516-801-8954
[email protected]
In requesting warranty service, please be ready to provide:
- Proof of purchase.
- A description of the problem.
Codes/Standards Applicable
Kitchen Sink Warranty
Kraus products are manufactured and tested to the highest quality standards by Kraus USA Inc. (“Kraus”).
Kraus extends this warranty to the original purchaser for personal household use of the “Kitchen Sink” in its original location. The warranty is non-transferable.
Kraus warrants the structure and finish of the product to be free from defects in material and workmanship under normal usage for the lifetime of the product. The warranty commences from the initial date of purchase by the owner or trade professional, from an authorized Kraus dealer, through the lifetime of the original owner or end-user.
Any product reported to the authorized dealer or to Kraus as being defective within the warranty period will be repaired or replaced with a product of equal value at the option of Kraus. This warranty extends to the original owner or end-user and is not transferable to a subsequent owner.
Restrictions
This warranty does not cover antediluvian, discontinued, or display products, whether such items are purchased at discount outlets,
unauthorized dealers, and/or sold on clearance.
This warranty does not cover instances of negligence, misuse, abuse, improper installation, carelessness, accident, hard water or mineral deposits, exposure to corrosive materials, misapplication, damages caused by improper maintenance, alteration of the product, or failure to follow care or installation instructions enclosed with your product. Avoid using abrasive cleaners such as powders, bleach, ammonia, alcohol, or chlorine. Avoid using abrasive pads, steel wool, or wire brushes, as these will damage and wear down the finish.
This warranty does not apply to Products that have not been installed or operated in accordance with instructions supplied by Kraus and all applicable rules, regulations, and legislation pertaining to such installations.
Kraus USA recommends that all Kraus products are installed by fully licensed and insured trade professionals with experience in the installation of bathroom and/or kitchen manufactured goods.
This warranty does not cover labor charges or costs of removal and reinstallation of said product. This warranty does not allow recoveries of incidental or consequential damages, such as loss of use, delay, property damage, or other consequential damages, and Kraus accepts no liability for such damages.
This warranty does not cover Marine or Outdoor Installation.
This warranty does not cover any free gifts included with purchase.
Except as otherwise provided above, Kraus makes no warranties, expressed or implied, including warranties of merchantability and fitness for a particular purpose, or compliance with any code.
Shipping charges will be covered for the first (1) year of the warranted replacement part or product (HI, AK and Puerto Rico shipping charges may apply). International shipping fees are not included.
COMMERCIAL WARRANTY
Kraus extends the above warranty for a period of one (1) year to purchasers of products for industrial, commercial, and business use.
All incidental or consequential damages are specifically excluded. No additional warranties, express or implied, are given, including but not limited to any implied warranty of merchantability or fitness for a particular purpose.
Some states do not allow the exclusion or limitation of incidental or consequential damages or limitations on how long an implied warranty lasts, so the above limitations or exclusions may not apply to you.
This warranty gives you specific legal rights, and you may also have other rights which vary from state to state.
KRAUS USA has the right to change, modify, and/or update the warranty policy at any time. For the latest, most up to date comprehensive warranty, go to www.kraususa.com/warranty
IMPORTANT
Register Your Kraus Product
Activate Your Warranty
Access Premium Customer Support
Get Product Information
http://www.kraususa.com/registration
![]()

















