



Follow the installation instructions supplied with the mixer tap and the water-trap. NOTE! Silicone is not included. To prevent water from entering between the countertop and the sink, seal the gap with silicone. Screws or mounting fittings to fix the furniture/object to the wall/ceiling are not included. Choose screws or mounting fittings that are suitable for use in your wall/ceiling and have enough holding power. If you are uncertain, contact your local specialised dealer.




![]()


10x 10x 9x/12x

![]()


1



2



3

4




5

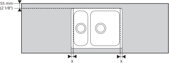
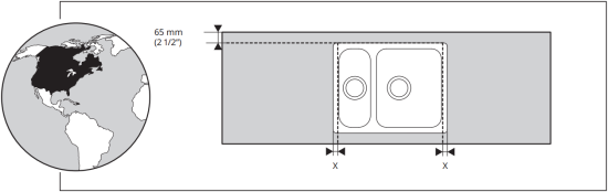
NOTE! Silicone is not included! In order to prevent water from penetrating into the countertop in case of leakage, the cut edges must be sealed with silicone.

6



7

8 8



9



![]()




This kitchen sink/sink unit is made of stainless steel and it complies with the requirements on durability and cleanability.
© Inter IKEA Systems B.V. 2015 2021-03-12 AA-1792655-9

















