
P806A-N-MD-AT
6IN NEW CONSTRC SLOPE NON-IC
AIR TIGHT RCSD
PACKAGE CONTENTS
| PART | DESCRIPTION | QUANTITY |
| A | Fixture | 1 |

This Instruction Sheet is also intended to be used as a Paint Shield.
Upon completion of Installation, Crumple this Sheet up and Insert it up into the
Housing to Protect the Socket and Labels from being Spray Painted. Remove
Instrucion Sheet and Socket Paint Cap prior to installing Trim and Lamp.
THANK YOU for selecting Progress Lighting
We can assist you with questions regarding product information, assembly or missing parts
800-447-0573
8am-8pm (Eastern), Monday-Friday
[email protected]
Safety Information
Please read and understand this entire manual before attempting to assemble, operate or install the product.
CAUTION: Read instructions carefully and turn electricity off at main circuit breaker panel before beginning installation.
CAUTION: Risk of fire. Min. 90°C supply conductors. Consult a qualified electrician to ensure correct branch circuit conductor.
WARNING: If any Special Control Devices are used with this fixture, follow instructions carefully to assure full compliance with N.E.C. requirements. If there are any questions, contact a qualified electrical contractor.
THIS PRODUCT MUST BE INSTALLED BY A PERSON FAMILIAR WITH THE CONSTRUCTION AND OPERATION OF THE PRODUCT AND THE HAZARDS INVOLVED, IN ACCORDANCE WITH THE APPLICABLE INSTALLATION CODE.
KEEP THESE INSTALLATION INSTRUCTIONS
Preparation
- Before beginning installation, make sure all parts are included using the contents diagrams from page 1. If any part is missing or damaged, do not attempt to assemble, install or operate the product.
- Estimated assembly time: 30 minutes.
- Tools required for assembly (not included): Phillips screwdriver, pliers, wire stripper, safety glasses, electrical tape, ladder, drill.
Care and Maintenance
Shut off main power supply before cleaning product or changing light bulbs. To clean, wipe with damp cloth. Do not use abrasive cleaners or cleaners that contain alcohol.
Assembly Instructions
NOTE: Installing housing in correct orientation is critical.
Junction box shall be positioned towards wall.

- For Wooden Joists: Extend the Bar Hangers (1), use joist alignment tabs to locate fixture and hammer the nails (2) into Joists (3). Drive additional nails through holes in Bar Hangers for alternate support if required.
Bars may be shortened at score mark to fit tight mounting conditions and joist alignment tabs removed to adjust vertically as needed by breaking off with pliers.
On Suspended Ceilings: place the fixture on the ceiling grid with “T” bars (4) running through the Bar Hanger Notches (5). Secure the housing to the support structure with screw (supplied by others) in the holes supplied.
- Position Housing in desired location relative to the Bar Hangers and tighten the screws (6) to prevent further Housing movement.

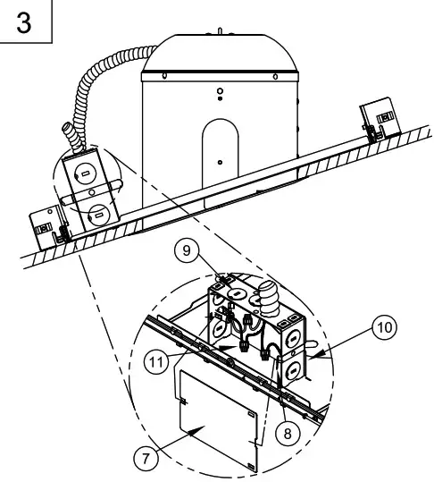
- Lift the Leaf spring (8) of the junction box to unsnap the Junction Box Cover (7) .Run Supply Wires through UL Listed Connectors (not supplied) in one of the seven Pryouts (9) on the Junction Box (10).
Strip 3/8” of insulation from the electrical wire ends. Using wire Connector (11), connect the WHITE fixture wire to the WHITE supply wire; connect the BLACK fixture wire to the BLACK supply wire; Connect the fixture GROUND wire and supply GROUND wire. Push all of the wire connections carefully into the junction box.
Then lift the Leaf spring (8), attach the cover (7) to the junction box.
Select a Trim per the Wattage Label inside the Housing.
Use Only Lamp Types approved for the Trim chosen.
DO NOT EXCEED MAXIMUM LISTED WATTAGES! Follow instructions with Trim to complete installation.
- Loosen screw (12) to adjust housing for variation in ceiling thickness. bottom of housing should be flush with ceiling within tolerance.
Adjust position of socket by loosening the thumbscrew (13), and rotating socket, retighten thumbscrew (13).
93158493




















