beko HIAW75225SXE Stainless Steel Built-in 75 cm Gas
Overview
- Pan support
- Normal burner
- Assembly clamp
- Control panel
- Base cover
- Auxiliary burner
- Burner plate
- Rapid burner
- Wok burner
- Normal burner

- Rapid burner Rear left
- Auxiliary burner Front left
- Wok burner Middle
- Normal burner Front right
- Normal burner Rear right

IMPORTANT INSTRUCTION
- This appliance can be used by children aged from 8 years and above and persons with reduced physical, sensory or mental capabilities or lack of experience and knowledge
- Children shall not play with the appliance.
- Cleaning and user maintenance shall not be made by children without supervision.
- Installation and repair procedures must always be performed by Authorised Service Agents.
- The manufacturer shall not be held responsible for damages arising from procedures carried out by unauthorized persons which may also void the warranty.
- Before installation, read the instructions carefully. Do not operate the product if it is defective or has any visible damage.
- Ensure that the product function knobs are switched off after every use. Clean the gas burners regularly. The flames should be blue and burn evenly.
- This product should be used in a room which incorporates a properly adjusted and functioning Carbon Monoxide sensor.
- Make sure the Carbon Monoxide sensor works properly and is maintained frequently.
- Carbon Monoxide sensor should be installed maximum 2 meters away from the product.
- Good combustion is required in gas appliances.
- In case of incomplete combustion, carbon monoxide (CO) might develop.
- Carbon monoxide is a colourless, odourless and very toxic gas, which has a lethal effect even in very small doses. Do not use open flame or do not smoke.
- Do not operate any electrical buttons (e.g. lamp button, door bell and etc.)
- Do not use fixed or mobile phones. Risk of explosion and intoxication
- Turnoff all valves on gas appliances and gas meter at the main control valve, unless it’s in a confined space or cellar.
- Check all tubes and connections for tightness. If you still smell gas leave the property.
- Call the fire-brigade. Use a telephone outside the house.
- Do not re-enter the property until you are told it is safe to do so. Never wash the product by spreading or pouring water onto it!
- There is the risk of electric shock! Never touch the plug with wet hands! Never unplug by pulling on the cable, always pull out by holding the plug.
- The product must be disconnected during installation, maintenance, cleaning and repairing procedures.
- Any work on electrical equipment and systems should only be carried out by authorised and qualified persons.
- In case of any damage, switch off the product and disconnect it from the mains. To do this, turn off the fuse at home.
- Make sure that fuse rating is compatible with the product The appliance and its accessible parts become hot during use.
- Care should be taken to avoid touching heating elements. Children less than 8 years of age shall be kept away unless continuously supervised.
- Never use the product when your judgment or coordination is impaired by the use of alcohol and/or drugs.
- Be careful when using alcoholic drinks in your dishes.
- Alcohol evaporates at high temperatures and may cause fire since it can ignite when it comes into contact with hot surfaces.
Intended use
This product is designed for domestic use. Commercial use will void the guarantee. This appliance is for cooking purposes only. It must not be used for other purposes, for example, room heating. The manufacturer shall not be liable for any damage caused by improper use or handling errors.
Safety for children
- Accessible parts may become hot during use. Young children should be kept away.
- The packaging materials will be dangerous for children. Keep the packaging materials away from children.
- Please dispose of all parts of the packaging according to environmental standards.
- Electrical and/or gas products are dangerous to children.
- Keep children away from the product when it is operating and do not allow them to play with the product.
- Do not place any items above the appliance that children may reach for.
Technical specifications
| Voltage/ frequency | 220-240 V – 50 Hz |
| Cable type / section | min.H05V2V2-F 3×0,75 mm2 |
| Category of gas product | Cat II 2H3+ |
| Installed gas type/ pressure of the product | NG G 20/20 mbar |
| Total gas consumption | 12,4 kW |
| Converting the gas type / pressure – optional | LPG G 30/28-30 mbar Propane 31/37 mbar |
| External dimensions (heiqht / width / depth) | 46 mm/750 mm/510 mm |
| Installation dimensions (width / depth) | 560 mm/480-490 mm |
| Burners | |
| Rear left | Rapid burner |
| Power | 2,9kW |
| Front left | Auxiliary burner |
| Power | 1kW |
| Middle | Wok burner |
| Power | 5kW |
| Front riqht | Normal burner |
| Power | 1,75 kW |
| Rear right | Normal burner |
| Power | 1,75 kW |
Installation
- Preparation of location and electrical and gas installation for the product is under customer’s responsibility.
- A The product must be installed in .. accordance with all local gas and/or electrical regulations.
- A Prior to installation, visually check .. if the product has any defects on it. If so, do not have it installed.
- Damaged products cause risks for your safety.
Before installation
- The hob is designed for installation into commercially available work tops.
- A safety distance must be left between the appliance and the kitchen walls and furniture. See figure (values in mm).
- Allow a minimum distance of 750 mm above the hob surface.
- If a cooker hood is to be installed above the cooker, refer to cooker hood manufacturer’ instructions regarding installation height.
- If not defined any size in the hood manual, this height should be at least 650 mm.
- Remove packaging materials and transport locks.
- Surfaces, synthetic laminates and adhesives used must be heat resistant (100 °C minimum).
- The worktop must be aligned and fixed horizontally.
- Cut aperture for the hob in worktop as per installation dimensions.

Room ventilation
All rooms require an openable window, or equivalent, and some rooms will require a permanent vent as well. The air for combustion is taken from the room air and the exhaust gases are emitted directly into the room. Good ventilation is essential for safe operation of your appliance. Rooms with doors and/or windows which open directly to the outer environment The doors and/or windows that open directly to the outer environment must have a total ventilation opening of the dimensions specified in the table below which is based on the total gas power of the appliance (total gas power consumption of the appliance is shown in the technical specification table of this user manual).
Rooms that do not have openable doors and/or windows that open directly to the outer environment
If the room where the appliance is installed does not have a door and/or a window that opens directly to the outer environment, other products shall be sought that definitely provide a fixed nonadjustable and non-closable ventilation opening which meets the total minimum ventilation opening requirements for the total gas consumption of the appliance as indicated in the above table.Also the appropriate building regulations advise should be followed. Where a room or internal space contains more than one gas appliance, additional ventilation area shall be provided on top of the requirement given in the table above. Size of additional ventilation area shall be appropriate to regulations of other gas appliances. There should also be a minimum clearance of 10mm on the bottom edge of the door that opens to the inner environment in the room where the appliance is installed.You must ensure that items such as carpets and other floorcoverings etc., do not affect the clearance when the door is closed.
Electrical connection
Connect the product to a grounded outlet/line protected by a miniature circuit breaker of suitable capacity as stated in the “Technical specifications” table. Have the grounding installation made by a qualified electrician while using the product with or without a transformer. Our company shall not be liable for any damages that will arise due to using the product without a grounding installation in accordance with the local regulations
Installing the product
- Remove burners, burner caps and grills on the hob from the product.
- Turning the hob upside down, place it on a flat surface.
- In order to avoid the foreign substances and liquids penetrate between the hob and the counter, please apply the putty supplied in the package on the contours of the lower housing of the hob but make sure that the putty does not overlap.
- Fill the corners by forming bends at the corners as illustrated in the figure. Form as much bend as required to fill the ap in the corners.

- Place the hob on the counter and align it.
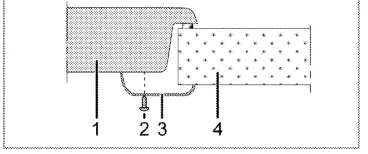
- Using the installation clamps secure the hob by fitting through the holes on the lower casin

- Hob
- Screw
- Installation clamp
- Counter
For example, if it is possible to touch the bottom of the product since it is installed onto a drawer, this section must be covered with a wooden late
Rearview (connection holes)
The location of the connection holes shown in the below figure are schematic,may vary depending on the product model. Fix them according to connection holes on your product
Gas conversion
- Take off burner cap and burner body.
- Unscrew injectors by turning the counter -clockwise.
- Fit new injectors.
- Check all connections for secure fitting and tightness.

- Flame failure device (model dependant)
- Spark plug
- Injector
- Burner
Reduced gas flow rate setting for hob taps
- If the flame is higher than the desired position, turn the screw clockwise. If it is smaller turn anticlockwise.
- For the last control, bring the burner both to high-flame and reduced positions and check whether the flame is on or off.
- Depending on the type of gas tap used in your appliance the adjustment screw position may vary
.
Flow rate adjustment screw If the gas type of the unit is changed, then the rating plate that shows the gas type of the unit must also be changed.

Leakage check at the injectors
- Make sure that the gas supply to the product is on, still maintaining all control knobs turned to off position.
- Each injector hole is blocked with a finger applying reasonable force to stop the gas leakage when corresponding control knob turned to on and it held at depressed position to allow gas reach the injector.
- Apply prepared soapy water at the injector connection with a small brush if there is leakage of gas at the injecto~ connection the soapy water will begin to froth. In this case, tighten the injector with a reasonable force and repeat step 3 process once again.
- If the froth still persist you must turn off the gas apply to the product immediately and call an Authorised service agent or technician with licence. Do not use the product until the authorized service has intervened in the product.


Preparation
- Defrost frozen dishes before cooking them.
- Use pots/pans with cover for cooking. If there is no cover, energy consumption may increase 4 times.
- Select the burner which is suitable for the bottom size of the pot to be used. Always select the correct pot size for your dishes.
- Larger pots require more energy. Information on energy efficiency according to EU 66/2014 can be found on the product fiche given with the product.
How to use the hob
- Before frying foods, always dry them well and gently place into the hot oil. Ensure complete thawing of frozen foods before frying.
- Do not cover the vessel you use when heating oil.
- Place the pans and saucepans in a manner so that their handles are not over the hob to prevent heating of the handles.
- Do not place unbalanced and easily tilting vessels on the hob.
- Do not place empty vessels and saucepans on cooking zones that are switched on. They might get damaged.
- Operating a cooking zone without a vessel or saucepan on it will cause damage to the product. Turn off the cooking zones after the cooking is complete.
Using the hobs
- Rapid burner 18-22 cm
- Auxiliary burner 12-18 cm
- Wok burner 22-30cm
- Normal burner 14-20cm
- Normal burner 14-20 cm is list of advised diameter of pots to be used on related burners

Turning off the gas burners
Turn the keep warm zone knob to off (upper) position.
Gas shut off safety system (in models with thermic component)
- Push the knob inwards and turn it counter clockwise to ignite.
- After the gas ignites, keep the knob pressed for 3-5 seconds more to engage the safety system.
- If the gas does not ignite after you press and release the knob, repeat the same procedure by keeping the knob pressed for 15 seconds.
Wok burner

Wok burners help you to cook faster. Wok, which is particularly used in Asian kitchen is a kind of deep and flat fry-pan made of sheet metal, which is used to cook minced vegetable and meat at strong flame in a short time. Since meals are cooked at strong flame and in a very short time in such fry-pans that conduct the heat rapidly and evenly, the nutrition value of the food is preserved and vegetables remain crispy. You can use wok burner for regular saucepans as well.
Maintenance and care
- Clean the product thoroughly after each use.
- In this way it will be possible to remove cooking residues more easily, thus avoiding these from burning the next time the appliance is used.
- No special cleaning agents are required for cleaning the product.
- Use warm water with washing liquid, a soft cloth or sponge to clean the product and wipe it with a dry cloth.
- Always ensure any excess liquid is thoroughly wiped off after cleaning and any spillage is immediately wiped dry.
- Do not use cleaning agents that contain acid or chloride to clean the stainless or inox surfaces and the handle.
- Use a soft cloth with a liquid detergent (not abrasive) to wipe those parts clean, paying attention to sweep in one direction.
Cleaning the hob
Cleaning the burner
- Remove the saucepan carriers from the hob.
- Remove all removable parts of the burner and clean only by hand with sponge, some detergent and hot water.
- Clean the non-removable parts of the burner with a wet cloth.
- Clean the plug and thermal element (in models with ignition and thermal element) with a slightly moist cloth.
- Afterwards, dry with a clean cloth. Make sure that flame holes and plug are totally dry.

Assembling the burner parts
After cleaning the burner, place the parts as shown below
- Burner cap
- Burner head
- Burner chamber
- Spark plug (in products with igniter)
Cleaning the control panel
Clean the control panel and knobs with a damp cloth and wipe them dry.
- Knob
- Sealing element
Troubleshooting
- The product emits metal noises while heating and cooling~!
- When the metal parts are heated, they may expand and cause noise. >>> This is not a fault.
- There is no ignition spark.!
- No current. >>> Check fuses in the fuse box.
- There is no gas
- The main gas valve is closed. >>> Open gas valve.
- Burners are not burning properly or at allJ
- The burners are dirty.>>> Clean burner components.
- The burners are wet. >>> Ory the burner components.
- The burner cap is not mounted safely. >>> Mount the burner cap properly.
- The gas valve is closed. >>> Open gas valve.
- Gas cylinder is empty (when using LPG). >>> Replace gas cylinder.
WEEE
Disposing of the old product Compliance with the WEEE Directive and Disposing of the Waste Product
This product complies with EU WEEE Directive (2012/19/EU). This product bears a classification symbol for waste electrical and electronic equipment (WEEE). This product has been manufactured with high quality parts and materials which can be reused and are suitable for recycling. Do not dispose of the waste product with normal domestic and other wastes at the end of its service life. Take it to the collection center for the recycling of electrical and electronic equipment. Please consult your local authorities to learn about these collection centers.








.



















