Robinhood RHFS60GGX Freestanding Gas Cooktop and Gas Oven
Product Information
Robinhood Freestanding Gas Cooktop and Gas Oven
The Robinhood Freestanding Gas Cooktop and Gas Oven, Model Number RHFS60GGX, is a gas-powered appliance designed for cooking food. It comes with levelling feet and a safety chain to ensure stability, and requires both gas and electrical connections for operation. The appliance should only be installed by a licensed electrician and authorized person in accordance with local regulations.
Contents
- User manual
- Sealing tape
- Additional labels
- Installation screws
- NG injectors
- Inlet elbow washers
- Stability hook
Disposal Information
The appliance should be disposed of in accordance with local regulations.
- Most of the packing materials are recyclable. Please dispose of these materials through your local recycling depot or by placing them in appropriate collection containers.
- If you wish to discard this product, please contact your local authorities and ask for the correct method of disposal.
Product Usage Instructions
Installation
- Adjust the height and level of the appliance by rotating the feet located underneath the appliance at each corner.
- Secure the appliance against tipping forward by using the supplied safety chains attached to the rear of the oven. Insert a wall plug into the kitchen wall and connect the safety chain to the hook via the locking mechanism.
- For electrical connection, installation is only permitted by a licensed electrician and should be carried out according to instructions provided by the manufacturer.
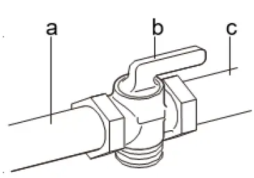
- For gas connection, check the gas type and specifications plate placed on the bottom face of the unit. All gas fitting work, service, and repairs can only be performed by an authorized person in accordance with local gas regulations and AS/NZS5601. Always unplug the appliance before carrying out any maintenance operations or repairs. The connection to the gas supply main must be made so that no stresses or strains of any kind are applied to the appliance, using the adapter unit D with two conical elements and fitting the gasket C supplied.
Installation and Operating Instructions
- Description: ROBINHOOD FREESTANDING GAS COOKTOP AND GAS OVEN
- Model Number: RHFS60GGX
Contents
Congratulations!
Thank you for choosing one of our appliances. Before you use the appliance, we strongly recommend that you read through the whole user manual which provides important safety instructions and description of the product and the proper use of its functions.
To avoid the ever-present risks involved with using an electrical appliance it is vital that the oven is installed correctly and that you read the safety instructions carefully to avoid misuse and hazards. It is important that you retain these instructions and your proof of purchase along with any other important documents about this product for future reference.Due to continual product development, Robinhood reserves the right to alter specifications or appearances without notice.
Important Safety Instructions
Before using the appliance, read the assembly instruction section and safety precautions carefully. The appliance should not be used by persons with reduced physical, sensory or mental capabilities, or lack of experience or knowledge, unless supervised or instructed by a person responsible for their safety. Children should be supervised to ensure they do not play with the appliance. Heavy objects should not be placed on the appliance or oven door, and pots and pans should not overlap the bench top to prevent damage. Electrical appliances may be a safety hazard in certain circumstances, and the unit must be connected to the electrical supply before operation to enable electronic ignition to work.
IMPORTANT: Read the assembly instruction section and safety precautions of this booklet carefully before removing the contents of this carton.
- This appliance is not intended for use by persons (including children) with reduced physical, sensory or mental capabilities, or lack of experience or knowledge, unless they have been given supervision or instruction concerning the use of the appliance by a person responsible for their safety. Children should be supervised to ensure that they do not play with the appliance.
- In certain circumstances electrical appliances may be a safety hazard. The unit MUST be connected to the electrical supply before operation to enable the electronic ignition to work.
- Do not place heavy objects on the appliance and oven door.
- Damage can occur to bench tops if pots and pans are able to overlap the bench top. This can result in heat being transferred to the bench top. Ensure that correct sized pots & pans are used. Refer to guide in booklet.
- Do not allow pot handles or utensils to be placed near gas burners which are operating, as they can cause the handles to become hot to touch. Always turn handles away when small children are nearby. It is recommended that children are kept away from the cooktop at all times.
- If the electrical supply cord is damaged, either when being installed or after installation, it must be replaced by the manufacturer, it’s service agent or similarly qualified persons in order to prevent a hazard.
- The electrical and gas connections must be accessible after installation.
- Electrical connection must be made as per local wiring rules and regulations.
- Ensure that the kitchen is well ventilated or mechanical ventilation is in use while cooking on the gas cooktop and oven.
- DO NOT USE OR STORE FLAMMABLE MATERIALS IN THE APPLIANCE STORAGE DRAWER OR NEAR THIS APPLIANCE. DO NOT SPRAY AEROSOLS IN THE VICINITY OF THIS APPLIANCE WHILE IT IS IN OPERATION.
- WARNING – The cooktop will become hot during and directly after use. Do not touch any components during this time, as they may be hot and can cause burns.
- Cleaning may only be commenced on the appliance once it has cooled down.
- When the appliance is not being used, the knobs must be kept in the ‘OFF’ position.
- Not suitable for use in marine craft, caravans, or mobile homes.
- DO NOT USE THIS APPLIANCE AS A SPACE HEATER.
- DO NOT MODIFY THIS APPLIANCE. This appliance is not suitable for use with aftermarket lids or covers.
- Supply connection point shall be accessible with the appliance installed.
DO NOT
- OPERATE THIS APPLIANCE BEFORE READING THE INSTRUCTION BOOKLET.
- PLACE ARTICLES ON OR AGAINST THIS APPLIANCE.
- STORE CHEMICALS OR FLAMMABLE MATERIALS OR SPRAY AEROSOLS NEAR THIS APPLIANCE.
- USE EXTERNAL CONTROLLERS OR TIMERS ON THIS APPLIANCE
SUPPLIED WITH THIS APPLIANCE
| PARTS: | QUANTITY: |
| USER MANUAL | 1 PC |
| SEALING TAPE | 1 ROLL |
| ADDITIONAL LABELS | 1 SET |
| INSTALLATION SCREWS | 4 PCS |
| NG INJECTORS | 1 SET (4 PCS) |
| INLET ELBOW | 1 PC |
| WASHERS | 2 PCS |
| STABILITY HOOK | 2 PCS |
Installation
WARNING: This appliance must be installed by an authorised service person or qualified technician, according to the instructions in this guide and in compliance with the current local regulations.
- Incorrect installation may cause harm and damage, for which the manufacturer accepts no responsibility and the warranty will not be valid.
- Prior to installation, ensure that the local distribution conditions (electricity voltage and frequency and/or nature of the gas and gas pressure) and the adjustments of the appliance are compatible. The adjustment conditions for this appliance are stated on the label.
- The laws, ordinances, directives and standards in force in the country of use are to be followed (safety regulations, proper recycling in accordance with the regulations, etc.).
- After removing the packaging material from the appliance and its accessories, ensure that the appliance is not damaged. If you suspect any damage, do not use it and contact an authorised service person or qualified technician immediately.
- Make sure that there are no flammable or combustible materials in the close vicinity, such as curtains, oil, cloth etc. which may catch fire.
- The worktop and furniture surrounding the appliance must be made of materials resistant to temperatures above 100°C.
- If a cooker hood or cupboard is to be installed above the appliance, the safety distance between cooktop and any cupboard/cooker hood should be as shown below.
- The appliance must not be installed in a corner. It must be installed at least 100mm from the side wall.

- The appliance should not be installed directly above a dishwasher, fridge, freezer, washing machine or clothes dryer.
- If the base of the appliance is accessible by hand, a barrier made from a suitable material must be fitted below the base of the appliance, ensuring that there is no access to the base of the appliance.
- The flexible pipe for gas models must have sufficient loops so the cooker can be moved for service.
- The vents, openings and air spaces must not be blocked.
- The anti-tip bracket must be installed to avoid accidental tipping.
- The stabilizing bolt must be installed to avoid accidental moving
Levelling feet and Safety chain
Levelling feet
The height and level of the appliance can be adjusted by rotating the feet located underneath the appliance at each corner. Rotate the feet to decrease or increase the height.

Safety chain
The appliance must be secured against the possibility of tipping forward by using the supplied safety chains attached to the rear of your oven. Fasten the stability hook provided by inserting a wall plug into the kitchen wall and then connect the safety chain to the hook via the locking mechanism.
- Safety chain (supplied and mounted to oven)
- Stability hook
- Chain attachment for the rear of the cooker
- Rear of the cooker
- Kitchen wall
Electrical Connection
LOCAL AUTHORITY REQUIREMENTS
Installation is only permitted by a licensed electrician, and carried out according to instructions provided by the manufacturer. Incorrect installation might cause harm and damage, for which the manufacturer accepts no responsibility.
Before carrying out the connection to the power supply, the voltage rating of the appliance (stamped on the appliance identification plate) must be checked for correspondence to the available mains supply voltage, and the mains electric wiring should be capable of handling the appliance power rating (also indicated on the identification plate). If you have any doubts, call in a qualified technician.
NOTE: For connections to the mains power supply, never use adapters, reductions or multiple power points as these may overheat and catch fire. Do not install separate timers.
After having installed the appliance, the switched outlet must always be in an accessible position. The electrical safety of this appliance can only be guaranteed if the appliance is correctly and efficiently earthed, always ensure that the earthing is efficient; if you have any doubts call in a licensed electrician to check the system. The manufacturer declines all responsibility for damage resulting from an installation which has not been correctly earthed.
WARNING: If any damage occurs to the power cable during or after installation, it must be replaced immediately by a licensed electrician with a replacement cable from your Service Centre.
The appliance is to be connected to a single phase 220-240Vac 50Hz supply. They are earthed via the cable.
Gas connection
Check Gas Type and specifications plate placed on the bottom face of the unit. All gas fitting work, service and repairs can only be performed by an authorized person in accordance with the current edition of AS/NZS5601 and local gas regulations.
Failure to comply with this condition will render the warranty invalid. Always unplug the appliance before carrying out any maintenance operations or repairs.
Connection with copper pipe:
The connection to the gas supply main must be made so that no stresses or strains of any kind are applied to the appliance. The connection can be made using the adapter unit D with two conical elements, always fitting the gasket C supplied.
Connection with steel hose:
Use only continuous-wall stainless steel hoses compliant with the relevant regulations, and always fit the gasket C supplied between the fitting A and the hose E.
When connecting with a hose, ensure that the total length of the pipeline is not more than 2 meters. Ensure that the hoses do not touch moving parts and are not crushed.
Important:
The power supply to the appliance must be disconnect before any adjustments or maintenance work is done.
Checking gas pressures
The cookers come in two (2) gas types: Natural gas and Universal LPG, If the cooker is required to use LPG, a conversion kit can be obtained by contacting the Customer Care Centre. Before installation, check what gas supply is suitable the cooker. To do this check the gas type on the carton sticker or on the data plate behind the bottom of the oven door.
The following shows the supply and operating pressures for various gas supplies.
Operate pressure at appliance test point: 2.00KPa (Natural gas); 2.9KPa (Universal LPG) as the following table shows the injector sizes for each burner.
Gas Type: Natural Gas @ 2.00kPa Test Point Pressure
| Burner | Injector Size (mm) | N.G.C. (kW) |
| Wok | 1.39mm | 3.8 |
| Semi-rapid | 0.97mm | 1.75 |
| Auxiliary | 0.72mm | 1.0 |
| Grill | 0.93mm | 1.7 |
| Oven | 1.18mm | 2.5 |
Universal LPG @ 2.9kPa Test Point Pressure
| Burner | Injector Size (mm) | N.G.C. (kW) |
| Wok | 0.98mm | 3.8 |
| Semi-rapid | 0.65mm | 1.75 |
| Auxiliary | 0.50mm | 1.0 |
| Grill | 0.65mm | 1.7 |
| Oven | 0.77mm | 2.5 |
Total Gas Consumption:
| Model | Natural Gas (kW) | U. LPG (kW) |
| Hob Model | 8.3 | 8.3 |
| Oven Model | 2.5 | 2.5 |
Adapting to different types of gas
Before carrying out the operations described below, disconnect the appliance from the electricity supply.
The appliance is tested with G20 (2H) natural gas at the pressure of 20mbar. If it is to be used with other types of gas, the burner nozzle must be changed and the gas valve to be adjusted. To replace the nozzle, proceed as described below.
Adjusting the oven burner
To adjust the oven burner, open the oven door and proceed as follows:
- Remove all accessories (pans, shelves and any steel runners);
- Lift the oven bottom plate and extract it so that the inside of the oven is as shown in the picture.
Adjusting the minimum setting
The oven thermostat has a screw for regulating the minimum setting, accessed by removing the thermostat knob. When the type of gas used changes, the minimum setting must be adjusted as follows:
- Light the oven burner and keep it operating at the highest setting for 10/15 minutes with the door closed.
Then turn the knob to the minimum temperature setting, remove the knob and use a straight-head screwdriver to adjust. Firstly, turn the knob in clockwise direction tightly then counter-clockwise to adjust the flame. For natural gas you should turn one of a circle while 1/8 circle for LPG. - When using bottled gas, the adjuster screw must be turned fully clockwise. The diameter of the by-pass is stated in point “5.2 Burner and Nozzle Data Tables”.
- When using town or natural gas, adjust the screw so that when the thermostat knob is turned from the maximum to the minimum setting, the flame always remains stable and uniform. Close the oven door and check that the burner remains on at the minimum setting.
Changing the nozzle
- Undo the oven burner fixing screws A. Move the burner B outwards until the nozzle is accessible.
- Use a 7 socket wrench to change the nozzle, fit the one for the type of gas to be used (see Burner and Nozzle Data Tables”).
Adjusting the oven burner primary air flow
- Undo the adjuster screw “A” of the air regulator sleeve.
- Turn the regulator sleeve “B” into the position for the type of gas to be used, consulting the table below.
- Tighten the adjuster screw and restore the seals.
- When the operation is complete, reassemble the burner correctly.
When the operation is complete, replace the nameplate on the back of the oven with the one provided for the new type of gas.
Gas Shut-off Valve
The gas supply line must be equipped with a manual shutoff valve. This valve should be located in the same room but external to the range. It should be in a location that allows ease of opening and closing. Do not block access to shutoff valve. The valve is for turning on or shutting off gas to the range.

- a. Gas Supply Line
- b. Shutoff Valve “Open” Position
- c. Flexible/Rigid Gas Line to Range
The installation typically requires a leak check using a soapy solution. Be sure solutions do not affect the joint. New flexible pipe is required for new installations (do not use old flexible pipe) as the old pipe can be brittle. (CPSC has bulletins about old pipe.)
TESTING THE OPERATION OF THE GAS COOKER
Checking gas supply
- Check the manometer zero point is correct.
- Connect the manometer to the cooker pressure test point. This is located on the regulator or LPG inlet fitting.
- Turn on the gas supply and the electricity (if applicable) and try to ignite the gas.
NOTE: It will take additional time to light the gas for the first time as air needs to be purged from the pipes. - Check the operating pressure for the particular gas type (see table).
For LPG cookers
Adjust the regulator if necessary (this may be placed far away from the cooker).
For Natural Gas cookers
- Regulators are supplied pre-adjusted and configured by the component maker to use with Natural Gas. The appliance installer is not required to make an adjustment to obtain the correct outlet pressure setting.
- An arrow on the base of the regulator indicates the direction of gas flow when the inlet and outlet of the regulator are orientated correctly. When the regulator has been fitted, check for leaks from the connections with soapy water.
Checking the Function of the Regulator
With the appliance operating, check the outlet pressure:
- When all burners of the appliance are operating at maximum.
- When the smallest burner of the appliance is operating at minimum.
Under these conditions the outlet pressure should not vary from the nominal outlet pressure of 1.0kPa by more than ±20% of the nominal outlet pressure (±0.20kPa for Natural Gas).
If the regulator appears not performing satisfactorily, then check the following points.
- If the outlet pressure is consistently too low then the inlet pressure may be too low and adjustment of an upstream regulator may be needed, or an upstream regulator or valve with insufficient flow capacity may be present in the gas supply line. If this is suspected, then it may be necessary to repeat the checks whilst measuring both the inlet and outlet pressure to deter mine if the inlet pressure is in the range 1.13 – 5kPa.
- Check if the regulator has been fitted to the gas supply line in the correct orientation, the arrow on the base of the body indicates the direction of gas flow. Once these checks have been completed, and if the regulator still fails to perform in a satisfactory manner, it should be replaced.
Testing the cooker features
Observe the flame appearance on each burner. If it is much smaller or larger than expected, then the injector size needs checking.
When maximum flame appearance is correct, then check the lowest setting on each burner. If the settings appear to be incorrect, proceed as follows:
- Adjust the bypass screw mounted on the body of each hotplate control cock. This is accessible when the control knob and the control panel are removed.
- Check the ignition on all burners both separately and in combination.
- Check the operation of the electrical components, if applicable.
- If you are satisfied that the cooker is operating correctly, then turn it off and show the customer how to use it. Make sure you ask the customer to operate the clock and controls.
Note: If the cooker cannot be adjusted to perform correctly and there is a fault, disconnect the cooker and contact the local service centre.
Operation Instructions
- Cast Iron Trivets
- Gas burners
- Control Panel
- Oven Door
- Downside Panel
- Anti Slip Feet

- Oven light / Circulation fan Control Knob.
- Oven Temperature Control Knob.
- This knob lights the gas burner inside the oven, sets temperature for baking.
- Programmable Timer.
- Cooker Control Knob.
Note: The oven burner control knob must be held down first for ignition and then turn. clockwise to release the gas.
Fitting oven shelves
- Ensure shelf orientation is correct (refer to the picture).
- Slide into the oven at an angle, until the raised back of the shelf is past the stopper on the side runners. Lower the front of the shelf and push in until the stopper is reached.
NOTE: The shelf cannot be put on the top ledge.
Preparing your appliance for the first time
- Please wipe out the oven interior prior to operation with warm soapy water and polish dry with a soft clean cloth.
- New appliances can have an odour during first operation. It is recommended to ‘run in’ your oven before you cook for the first time. Run the oven at 180°C for 2-4 hours and ensure that the room is well ventilated.
- Please install oven furniture as outlined in the “Fitting Oven Accessories and Cleaning” section.
- Set the time on your oven for your oven to work.

- The oven is fitted with 3 buttons programmable timer, the time must be set before the oven can be operated.
- The default time is “00.00” on the display when the oven is initially connected to the power supply and the “” icon will be flashing.
- To set the time, press “-” or “+” button. 15 seconds after the last change, the “ ” icon will disappear, confirming the time has been set.
Note: The clock has a 24-hour display.
USING THE OVEN
Oven safety warnings
- Always follow the instructions for putting the shelves and side racks into the oven, to avoid accidents.
- Do not line the oven with foil, it will damage the enamel.
- Do not place cookware or anything else on the bottom of conventional oven model as trapped heat will damage the oven.
- Do not touch the hot surfaces or heating elements inside the oven.
- Do not use the oven door as a shelf.
- Do not push down on the open oven door.
- Do not place shelves on top of upper most shelf runner as there are no stops for shelf withdrawal.
Oven Function
Using the gas oven
Completely open the oven door and press the thermostat knob while turning it counter-clockwise to the maximum temperature setting; this automatically activates the electric spark ignition device. Once the burner has ignited, keep the knob pressed down for a few seconds to allow the thermocouple to heat up.
If the burner has not lit after 15 seconds, stop trying, leave the oven door open and wait 1 minute before trying again.
The cooking temperature is set by turning the knob counter-clockwise to the value required, between Min. and Max.
NOTE: Condensation on oven door is normal, especially when kitchen is cold. Also, spacing and size of food on trays and the number of baking dishes in the oven can affect air circulation.
Function Switch
The setting turns on the light inside the oven during normal Operation.
The setting turns on the circulation fan inside the oven during normal Operation.
Attention
Grilling processes must never last more than 60 minutes. In enamelled models, grill and grill + rotisserie cooking operations must be carried out with the door ajar on the first catch and the knob guard supplied fitted into the top of the oven cavity. Accessible parts may be very hot during and after use of the grill; keep children well away from the appliance. During rotisserie cooking operations, one of the pans supplied with the cooker should be placed in the bottom of the oven, on the bottom runners, to collect any grease and fat produced.
When using the oven, remove all unused pans and shelves from its interior. During cooking, do not cover the bottom of the oven with aluminium or tin foil, and do not place pans or trays on it; this may damage the enamel coating. If you wish to use greaseproof paper, position it so that it does not interfere with the hot air circulation inside the oven.
Using the Programmable clock
- Heating indication
- Clock indication
- Hour indication
- Second indication
- Minute indication
- Up
- Set
- Down
Starting-up procedure
After power on, the screen will display “00: 00 ” and “
” clock indicator will be on.
Time of day setting procedure NOTE: Digital clock is displayed in 24 hour format
When “
” clock indicator and hour indication are flashing, press “ + ” up key or “ – ” down key to select a number value from (0-23) for the hour time, then press “
” set key to change to the minute setting. Whilst flashing press ‘ + ‘ up key or “ – ” down key to select a number value from (0-59) for the minute time. The “
” clock indicator will remain flashing for 15 seconds once the time is set and neither of the “ + ” up key or “ – ” down keys and pressed again whilst flashing.
Duration timer setting procedure
Press “
” selection button 3 times until “
” heating indicator is flashing, then press “ + ” up key or the “ – ” down key to select the cooking duration time in hours. Then press the “
” selection button to enter the cooking duration time in minutes setting. The “
heating indicator will remain flashing for 15 seconds once the cooking duration time is set and neither of the “ + ” up key or “ – ” down keys are pressed again whilst flashing. Alternatively press the “
” selection button and the oven will start cooking immediately. If duration timer setting does need to exceed 59 minutes then initially the “
” should be pressed 4 times instead of 3 to bypass the hour duration selection.
Audible ‘End of Cooking’ buzzer
The buzzer will sound for up 60 seconds at the end of the cooking time duration that has been set has been reached. The “00: 00” display and “
” heating indication will flash for this period unless the “
” selection button is pressed. The clock will return to the time of day display when either of the above tow actions occur.
- If you press “ + ” up key or “ – ” down key for more than 3 seconds, the value will change quickly.
- When setting the Time of Day or Duration Timer the “ : ” does not blink although will blink when in either normal Time of Day mode or Duration Timer is displayed.
Cooktop control knobs
![]()
- No gas flow
- Maximum gas flow
- Minimum gas flow
- Ignition sparking position
Note: All operating positions must be set between the maximum and minimum flow settings, and never between the maximum setting and the closed position.
Introduction to the burner
- A – Burner cap
- B – Lighting plug
- C – Thermocouple
- D – Wok burner cap
Hotplate Ignition
To light these hotplates:
- Choose the hotplate you want to use.
- Turn the hotplate burner control knob to “
- Press the body release spark burner switch.
Auxiliary Burner
- Use for simmering.
- Use with small pots and pans.
Semi-rapid Burner
- Use with medium size pots and pans.
Wok Burner
- Use for normal cooking.
To conserve gas, place the pan centrally over the burner and adjust the flame so that it does not go past the edges of the cookware.
Testing your oven
We recommend you test your new oven by baking a simple cake before cooking other types of food.
Cleaning and Maintenance
WARNING: Switch off the appliance and allow it to cool before cleaning is to be carried out.
- Check whether the cleaning materials are appropriate and recommended by the manufacturer before use on your appliance.
- Use cream cleaners or liquid cleaners which do not contain particles. Do not use caustic
(corrosive) creams, abrasive cleaning powders, rough wire wool or hard tools as they may damage the cooker surfaces. - Do not use cleaners that contain particles, as they may scratch the glass, enamelled and/or painted parts of your appliance.
- Should any liquids overflow, clean them immediately to avoid parts becoming damaged.
- Do not use steam cleaners for cleaning any part of the appliance.
- Do not use cleaning materials meant for steel as they may damage the glass.
- Dust on the surface must be cleaned with a wet cloth.
- Cleaning the stainless Steel Parts (if available)
- Clean the stainless steel parts of your appliance on a regular basis.
- Wipe the stainless steel parts with a soft cloth soaked in only water. Then, dry them thoroughly with a dry cloth.
- Do not clean the stainless steel parts while they are still hot from cooking.
- Do not leave vinegar, coffee, milk, salt, water, lemon or tomato juice on the stainless steel for a long time.
Cleaning the gas cooktop:
The trivets (refer figure 1)
- The trivets are located in the recessed area of the hob.
- They can be removed for cleaning by carefully lifting them from the hob.
- Clean by washing in warm soapy water. Dry thoroughly.
- Take care when replacing the trivets as dropping them onto the hob may damage the enamelled surface.
Removing the burners (refer figure 2)
- The burner caps and crowns are removable for cleaning.
- Flame port blockage should be removed by means of a match stick or brush.
- If the caps, crowns and cups are heavily soiled, use a non-abrasive cleaning compound.
- Do not clean them with abrasive or caustic type cleaners, or put in a dishwasher as they will be damaged.
Refitting the burner crowns and caps
- The burner crown must be fitted correctly into the burner cup to avoid it from being damaged during operation.
- To do this, ensure that the 2 ribs on either side of the spark plug hole are positioned into the 2 slots on the burner cup. (See figure 2).
The burner cap is simply positioned over the top of the burner crown.
Note: When the burner is correctly fitted it will sit level on the hob.
If ignition is difficult or fails after cleaning, then either burner parts are not dry enough, or have not been positioned correctly.
Cleaning the Oven
- Open the door fully.
- Remove oven shelves and side racks.
- Clean in hot soapy water.
Cleaning the oven door / How to remove the oven doors
For a more thorough clean, you can remove and disassemble the oven door. Proceed as follows: Oven door structures 1 remove and assemble procedure:
- Open the door to the full extent (fig.1).
- Open the lever A completely on the left and right hinges (fig.2).
- Hold the door as shown in fig.3.
- Gently close the door (fig.3) until left and right hinge levers A are hooked to part B of the door (fig.4).
- Withdraw the hinge hooks from their location following arrow C (fig.4).
- Rest the door on a soft surface.
- To replace the door, repeat the above steps in reverse order.
Removing the Inner Pane of Glass
- Double oven door: Remove the seal G by unscrew the no.2 bolts (fig.5).
- Gently pull out the inner pane of glass(fig.6).
- Clean the glass with an appropriate cleaner. Dry thoroughly, and place on a soft surface.
- Now you can also clean the inside of the outer glass.
Cleaning the door glass
- Clean the glass door using non-abrasive products or sponges and dry it with a soft cloth.
- Ensure that the inner glass door is securely installed before usage.
- Do use harsh abrasive cleaners or sharp metal scrapes to clean the glass door over as this can scratch the glass surface and may even cause it to shatter.
Replacing the Oven Lamp
- Switch off the circuit breaker where the oven is connected and then disconnect the gas supply.
- Remove the glass cover of the lamp-holder by rotating counterclockwise.
- Remove the lamp and replace with a lamp resistant to high temperatures (300°C) with the following characteristics:

- Voltage: 230V a.c
- Wattage: 25W
- Type: G9
- Replace the glass cover. Reconnect the appliance to the product supply.
Warranty Certificate (New Zealand)
Terms and Conditions
The following conditions apply in respect of the warranty given in this certificate:
- Monaco Corporation Limited (“Monaco”) warrants the following Robinhood products against manufacturing defects and faulty materials, under normal use and subject to the exclusions in this certificate, for a period of:
- Rangehood, Ovens, Cooktops, Dishwashers, Refrigeration – 24 months from date of original purchase for domestic use.
- Uniduct – 12 months from date of original purchase for domestic use.
- Ironing centre – 12 months from date of original purchase for domestic use.
- Sinks sets– 5 years on stainless steel sink including draining bench from date of original purchase for domestic use, 6 months on all stainless steel accessories, including wire rack, colander and tray from date of original purchase for domestic use.
- Laundry Tub – 5 years on stainless bowl, 24 months on Tap, Cabinet and other components from the date of original purchase for domestic use.
“Original purchase”, when used in this certificate, means purchase by the customer directly from Monaco or one of its approved suppliers.
- This warranty is limited to the repair or replacement, at our option, within the warranty period of any component part which we at our discretion determine to contain faulty materials or a manufacturing defect in breach of this warranty. This warranty is subject to terms and conditions set out in this certificate.
- The warranty only applies within New Zealand.
- The customer must produce the original invoice or other purchase documentation as proof of the original purchase date.
Warranty exclusions
- The warranty does not apply where, in Monaco’s opinion:
- The defect is caused by misuse, wear and tear, dirt, fire or accidental damage. The product has been repaired or serviced by an unauthorised person.
- The product was not installed in accordance with our instructions.
- The product was purchased overseas or was not designed for use in New Zealand. The product was not used, cleaned or cared for in accordance with our instructions.
- The product was used outdoors.
- In addition, this warranty does not extend to damage or defects which in our opinion, directly or indirectly arise from or are due to:
- Exposing the product to acidic or corrosive materials or chemicals such as dyes, solvents, denture cleaner or acetone; Using inappropriate household cleaning products such as abrasive cream or powder cleansers, furniture polish, bleach, mentholated spirits, drain cleaners, sugar soap, metal pads and strongly alkaline or acidic cleaners;
- Heat damage, including from washing the product at high temperatures;
- Impact or mishandling the product, including the impact caused by objects scraped along, thrown or dropped on the product surface or excessive weight being placed on the product;
- Structural or support changes in or affecting the building or the application where the product has been installed;
- Failure to clean or maintain the product as recommended; or any other causes specified in the product information as being excluded from this warranty.
- Variations with the colour or gloss within the product or any ageing or fading of colour, shine or gloss level over time are not covered by this warranty. The warranty does not cover visual imperfections or blemishes in the surface and edges of the product that were not brought to your supplier’s attention at the time you inspected the product.
- Costs incurred on installation or removal of a product, or any reinstallation of a product, or any associated costs, are not covered by this warranty.
- Monaco will not be liable for consequential or indirect loss or damage whatsoever and however arising out of or in connection with the supply, performance or removal of the product, including (but not limited to) loss of profit, loss of revenue, loss of contract, loss of goodwill or increased cost of workings, even if due to the negligence of Monaco or any of its approved suppliers, employees or agents.
- Charcoal filters and light bulbs are not covered by this warranty
- This warranty and the statements contained in this certificate or other documents given to you do not exclude, restrict or modify the application of any term implied into this warranty by statute, provided that (to the extent any statutory provision permits Monaco to limit its liability for a breach of an implied condition or warranty) Monaco’s liability for such breach is limited to the payment of the cost of replacing the product, repairing the product or acquiring an equivalent product.
- Subject to clause 5, our obligations under this warranty are limited to those set out in this certificate, and this warranty is expressly instead of all other warranties, express or implied, including any implied warranty of merchantability or fitness for a particular purpose and notwithstanding any course of dealing between the parties or custom and usage in trade to the contrary.
Terms and conditions are subject to change.
Terms and Conditions
If you are a consumer under the Australian Consumer Law, our goods come with guarantees that cannot be excluded under the Australian Consumer Law. You are entitled to a replacement or refund for a major failure and for compensation for any other reasonably foreseeable loss or damage. You are also entitled to have the goods repaired or replaced if the goods fail to be of acceptable quality and the failure does not amount to a major failure.
- Shriro Australia Pty Limited (“Shriro”) also warrants the following Robinhood products against manufacturing defects and faulty materials, under normal use and subject to the exclusions in this certificate, for a period of:
- Rangehood, Ovens, Cooktops, Dishwashers, Refrigeration – 24 months from date of original purchase for domestic use.
- Uniduct – 12 months from date of original purchase for domestic use.
- Ironing centre – 12 months from date of original purchase for domestic use.
- Sinks sets– 5 years on stainless steel sink including draining bench from date of original purchase for domestic use, 6 months on all stainless steel accessories, including wire rack, colander and tray from date of original purchase for domestic use.
- Laundry Tub – 5 years on stainless bowl, 24 months on Tap, Cabinet and other components from the date of original purchase for domestic use. “Original purchase”, when used in this certificate, means purchase by the customer directly from Shriro or one of its approved suppliers.
- This warranty is limited to the repair or replacement, at our option, within the warranty period of any component part which we at our discretion determine to contain faulty materials or a manufacturing defect in breach of this warranty. This warranty is subject to terms and conditions set out in this certificate.
- The warranty only applies within Australia.
- For warranty service outside of capital city metropolitan area or 30 km from nearest authorised service agent you will be liable for reasonable travelling expenses and the cost of transport of the product or parts to and from the service agent
- To make a claim under this warranty, you must produce the original invoice or other purchase documentation as proof of the original purchase date. You must send your claim to Shriro Australia Pty Limited, 2-34 Davidson Street, Chullora, NSW, 2190, within 7 days of any alleged defect or failure of the product first becoming apparent. You are responsible for the expense of making a claim under this warranty.
This warranty is given by:
- Address: Shriro Australia Pty Ltd, ABN: 28 002 386 129
- Telephone: 1800 648 556
- Facsimile: 1800 628 577
- Email: [email protected]
- www.robinhood.com.au
- Attention: Customer Services Manager
Warranty exclusions
- The warranty does not apply where, in Shriro’s opinion:
- The defect is caused by misuse, wear and tear, dirt, fire or accidental damage. The product has been repaired or serviced by an unauthorised person.
- The product was not installed in accordance with our instructions.
- The product was purchased overseas or was not designed for use in Australia.
- The product was not used, cleaned or cared for in accordance with our instructions.
- The product was used outdoors.
- All Robinhood Rangehoods are suitable for indoor use only and not suitable over BBQs or charcoal cookers designed for outdoor use.
- In addition, this warranty does not extend to damage or defects which in our opinion, directly or indirectly arise from or are due to: exposing the product to acidic or corrosive materials or chemicals such as dyes, solvents, denture cleaner or acetone; using inappropriate household cleaning products such as abrasive cream or powder cleansers, furniture polish, bleach, mentholated spirits, drain cleaners, sugar soap, metal pads and strongly alkaline or acidic cleaners; heat damage, including from washing the product at high temperatures; impact or mishandling the product, including the impact caused by objects scraped along, thrown or dropped on the product surface or excessive weight being placed on the product; structural or support changes in or affecting the building or the application where the product has been installed; failure to clean or maintain the product as recommended; or any other causes specified in the product information as being excluded from this warranty.
- Variations with the colour or gloss within the product or any ageing or fading of colour, shine or gloss level over time are not covered by this warranty. The warranty does not cover visual imperfections or blemishes in the surface and edges of the product that were not brought to your supplier’s attention at the time you inspected the product.
- We will not be responsible under this warranty for, nor pay the costs of, removing the existing product, or reinstalling the new product, or any associated costs or damages.
- Charcoal filters and light bulbs are not covered by this warranty.
The benefits given by this warranty are in addition to other rights and remedies of consumers under any law in relation to the goods which cannot be excluded.This warranty certificate is not intended to create a contract between Shriro Australia Pty Limited and the purchaser.
New Zealand
- Address: Monaco Corporation Ltd
- Telephone: (09) 415 6000
- Facsimile: (09) 415 7400
- Email: [email protected]
- www.robinhood.co.nz
- Pin Code: 2531DN-0097
Australia
- Address: Shriro Australia Pty Limited ABN 28 002 386 129
- Telephone: 1800 648 556
- Facsimile: 1800 628 577
- Email: [email protected]
- www.robinhood.com.au

Product Information






















