
User Manual
Description: 54cm Freestanding Gas Cooker MODEL NO. EFS54FC-SGB
euromaid.com.au
USER MANUAL
We recommend that you read the instructions in this manual carefully before use for the best performance and to extend the life of your appliance, as it will provide you with all the instructions you require to ensure its safe installation, use, and maintenance. Always keep this manual close to hand since you may need to refer to it in the future. Thank you.
Condition of use:
This appliance is intended to be used for domestic use, not commercial use.
SAFETY PRECAUTIONS
- This appliance is not intended for use by persons (including children) with reduced physical, sensory or mental capabilities, or lack of experience and knowledge unless they have been given supervision or instruction concerning the use of the appliance by a person responsible for theirs.
- Warning – ensure that no downward pressure is applied to the oven door when In particular, DO NOT ALLOW a child to climb on to open the oven door.
- Warning – accessible parts can become hot during use, especially the oven To avoid burns, young children MUST BE KEPT AWAY.
- Young children should be supervised to ensure they do not play with this.
- During use, this appliance becomes Care should be taken to avoid touching hot external and internal surfaces when in use. Use oven gloves.
- The cooktop area including the entire hob will become very hot when in Care MUST BE TAKEN when using this part of the appliance.
- Install cooker, shelving, and fittings in accordance with this.
- Ensure all specified vents, openings and air spaces are not.
- The appliance is not intended to be operated by means of an external timer or separated remote control.
- CAUTION: The cooking process has to be A short-term cooking process that has to be supervised continuously.
- To ensure your safety, all-electric appliances should only be installed or serviced by qualified persons. If the supply cord is damaged, it must be replaced a service agent or similarly qualified person in order to avoid a
- Important Notice – This Upright Cooker must be fitted securely using the supplied.
- Do not spray aerosols in the vicinity of this appliance while it is in.
- Do not store flammable materials in the appliance or near this.
- Do not operate any gas appliance if the smell of gas.
- Do not modify this.
- The appliance must be installed according to current laws and regulations by qualified tradesmen.
- Gas models are NOT APPROVED for installation in marine craft, caravans, or mobile.
- The Manufacturers and Importers / Distributors and Retailers shall not be liable to any legal liability, personal injury, and property damage due to incorrect operation or incorrect.
The Manufacturers, Importers/Distributors, and Retailers shall not be liable to any legal liability, personal injury or property damage due to incorrect operation or incorrect Installation.
OTHER IMPORTANT SAFETY INFORMATION
| This appliance must not be used as a space heater. | |
| Do not obstruct the ventilation slots on the front or back of the appliance. | |
| Do not remove any labels or use abrasive/ corrosive cleaners. | |
| According to the electrical safety regulations the appliance equipment must be properly earthed. | |
| Do not use corrosive cleaners e.g. oven cleaners that contain caustic soda. |
WARNINGS FOR USE OF OVEN & APPLIANCE HOB
OVEN WARNINGS
- DO NOT push down or apply any weight on the open oven
- DO NOT place dishes on the open door of the oven
- DO NOT line the oven with foil or place anything on the bottom of the oven while baking to avoid permanent damage, as trapped heat will crack or craze the enamel floor of the oven cavity
- The use of olive oil and other polyunsaturated oils (vegetable oils) when roasting uncovered food causes deposits inside the oven which are very difficult to
- If you have an upright cooker with a gas oven that does not light within about 5 – 8 seconds, allow 1 minute for gas to disperse clear before trying
DISPOSAL OF PACKAGING
- Please recycle the cardboard and also any polystyrene packaging where
INSTALLATION, CLEANING, AND SERVICING
- An authorized person must install this (Certificate of Compliance to be retained).
- Before using the appliance, ensure that all packing materials are removed from the
- In order to avoid any potential hazard, the Installation Instructions must be followed.
- In order to avoid accidental tipping of the appliance (for example, by a child climbing onto the open oven door), the anti-tilt plate must be
- Only authorized personnel should carry out servicing (Certificate of Compliance to be retained).
- Always ensure the appliance is switched off before
- Do not use caustic soda-based cleaners.
- Do not use steam cleaners, as this may cause moisture to build
- Always clean the appliance immediately after any food
- To be serviced only by an authorized
PRODUCT DESCRIPTIONS
DESCRIPTION OF GAS COOKER
- Cast Iron Trivets
- Gas burners
- Control Panel
- Oven Door
- Splashback
- Burning baffle
- Front panel
- Anti-slip feet
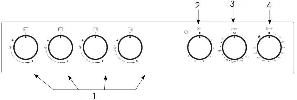
CONTROLS
Front Control Panels
- Burner Control Knob
- Oven Grill Control Knob
- Oven Temperature Control Knob
- Timer
FIRST TIME USE OF THE APPLIANCE
PREPARING YOUR APPLIANCE FOR THE FIRST TIME
- Please wipe out the oven interior prior to operation with warm soapy water and polish dry with a soft clean
- New appliances can have an odor during the first operation from components manufactured with the aid of oils. It is recommended to ‘run in’ your oven before you cook for the first time. Run the empty oven at 180°C for approximately 1 to 2 Ensure that the room is well ventilated.
- Please install oven furniture as outlined in the “Fitting Oven Accessories and Cleaning”
- If your appliance is fitted with solid hotplates, turn the heat setting to high for 3 minutes to fully harden When cooled, apply a thin coating of cooking oil to seal the surface.
- The grill element may have oils left on the grill Before you cook on the grill for the first time, turn on for 15 minutes with 10mm of water in the bottom of the grill dish.
FITTING OVEN SHELVES
- Ensure shelf orientation is correct (refer to picture).
- Slide into the oven at an angle until raised back of the shelf is past the stop on the side
- Lower front of shelf and push in until stop
NOTE: The top ledge is not a shelf position
120 MINUTE TIMER OVEN
If your upright cooker is fitted with a 120-minute timer you must select a cooking time or turn the knob clockwise to the ‘
’ symbol to operate. If either of these is not selected the oven will not heat.
OVEN SHELF POSITIONS
- The main oven has 5 shelf positions to choose from. Position 1 is the position at the bottom of the oven and position 5 is located at the highest point of the oven
- The 5 position side rack system can house both the standard oven shelves and baking
USING THE OVEN
Oven Safety Warnings
- Always follow the instructions for putting the shelves and side racks into the oven, to avoid
- Do not line the oven with foil, it will damage the enamel.
- Do not place cookware or anything else on the bottom of conventional oven model as trapped heat will damage the oven
- Do not touch the hot surfaces or heating elements inside the
- Do not use the oven door as a
- Do not push down on the open oven
- Do not place shelves on top of the uppermost shelf runner as there are no stops for shelf
Operation
Set: 1) Temperature 2) Cooking time 3) Gas Oven Function
1) Oven Temperature Knob
This knob lights the gas burner inside the oven. The cooking temperature is set by turning the knob anti-clockwise to the value required, between Min. and Max.
2) Set Cooking Time
- Operating oven without Timer – Turn the knob counterclockwise to “The oven will operate with the use of the timer function
- Operating oven using the Timer – To set the timer, simply turn the knob clockwise to the required number of The timer will automatically shut down the oven after the set minutes and the timer will ring at the same time.
NOTE: For any time below fifteen minutes turn the knob past the fifteen then turn it back to the required number of minutes. When the timer returns to zero, the timer gives a short ring.
3) Gas Oven Function Using The Gas Oven Electronic Spark Ignition
Completely open the oven door and press the thermostat knob while turning it anti-clockwise to the maximum temperature setting; this automatically activates the electric spark ignition device. Once the burner has ignited, keep the knob pressed down for a few seconds to allow the thermocouple to heat up. If the burner has not lit after 15 seconds, stop trying, leave the oven door open and wait 1 minute before trying again.
Lighting the burner by hand
Completely open the oven door and turn the thermostat knob Anti-clockwise. Place a lit match close to the end of the flame pipe A in the center of the bottom of the oven and press the thermostat knob. Once the burner has ignited, keep the knob pressed down for a few seconds to allow the thermocouple to heat up and check that the burner has lit properly through inspection hole B. The cooking temperature is set by turning the knob clockwise to the value required, between 50° and 231°. If the burner accidentally goes out, turn the knob to the off (
) position and wait at least one minute before trying to relight it.
Oven Cooking Guide
The following is intended as a rough guide. It is often required to set the oven 10-20 degrees above or below this guide to get the result you want. Also, adjustments are needed for the cooking time to suit personal expectations. Where the gas models vary from electric, details for gas cooking is shown in brackets. For best results when baking, preheat your oven for 15-20 minutes.
Fan assisted oven | |||
| Food | Temperature | Oven shelf position | Time in minutes |
| Plain or full scones | 210 | Any | 10-15 |
| Rolled biscuits | 150 (170) | Any | 10-15 |
| Spooned biscuits | 190 | Any | 12-15 |
| Shortbread biscuits | 150 | Any | 30-35 |
| Hard individuals meringues | 100 | Any | 90 |
| Soft individual meringues | 165 | Any | 15-20 |
| Pavlova | 100 | Any | 75 |
| Pattycakes | 180 | Any | 15-20 |
| Sponge | 170 | Any | 20-30 |
| Plain butter cake | 170 | Any | 25-40 |
| Rich fruit cake | 130 | Any | 180 |
| Shortcrust cornish pastry | 160 (190 | Any | 40-45 (10/35) |
| Shortcrust custard tart | 170-200 | Any | 20-30 (10/25) |
| Cream puffs | 200 | Any | 25-30 |
| Yeast bread | 200 | Any | 25-30 |
| Pizza | 220 | Any | 15-25 |
Meat/ Poultry/Fish | Recommended Temperature | Minutes per kilogram | |
| Beef | Rare | 200 | 35-40 |
| Medium | 200 | 45-50 | |
| Well done | 200 | 55-60 | |
| Lamb | Medium | 200 | 40 |
| Well done | 60 | ||
| Veal | 180 | 60 | |
| Pork | 200 | 60 | |
| Chicken | 180-200 | 45-60 | |
| Duck | 180-200 | 60-70 | |
| Turkey | 180 | 40-45 (less than 10kg) | |
| 35-40 (more than 10kg) | |||
| Fish | 180 | 20 | |
UNDERSTANDING COOKING PROBLEMS
Problem | Causes | What to do |
| Uneven cooking | Incorrect shelf position | A select shelf that puts food in the center of the oven |
| Oven tray too large | Remove oven tray. Use smaller trays or dishes | |
| Trays not in the center | Put trays in the center | |
| Oven fan causing uneven browning or small cakes to lean over | Rotate food during cooking, or use Conventional Mode (i.e. no fan) | |
| Baking products too brown on top | Oven not preheated | Preheat the oven |
| Baking tins too large (diameter) for recipe | Use correct size tins | |
| Fan-forced mode with oven temperature too high | Check recipe. Reduce oven temperature by 10-29 or more | |
| Cooking time too long | Next time, shorten cooking | |
| Baking tins not evenly spaced | Stagger baking tins at least 3cm between tins and the oven walls | |
| Items to be cooked are not evenly sized or spaced in trays | Make into same size and shape and spread evenly over trays | |
| Baking products too brown on the bottom | Baking tins too large | Use correct size tins |
| Baking tins are dark metal or glass | Change to shiny, light tins or lower the temperature by 10-20 degrees | |
| Food to low in the oven | Cook one shelf higher | |
| The oven door opened too frequently during baking | Don’t open the oven door until at least half the cooking time has passed | |
| Cakes have a cracked thick crust | Baking temperature too high | Lower the temperature |
| Oven tray blocking heat (below thermostat) | Use higher shelf position for oven tray | |
| Baking temperature too high | Lower the temperature | |
| Food too low in the oven | Cook one shelf higher | |
| Cake batter over mixed | Mix just long enough to combine the ingredients | |
| Baking tin too deep or wrong size | Check size of the tin and use the recommended size | |
| Baked products are pale, flat, and undercooked | Baking tins dark | Change to shiny light tins |
| Baking temperature too low | Raise the temperature | |
| Food too low in the oven | Cook one shelf higher | |
| Baking time too short | Increase cooking time | |
| Incorrect baking tin size | Use correct sie tin | |
| Cakes fallen in center | Baking temperature too low | Raise the temperature |
| Baking time too short | Increase cooking time | |
| Proportions of ingredients incorrect for recipe | Check recipe | |
| Opening door too early during baking | Do not open the door until the last quarter of the cooking time | |
| Roast meat and potatoes not browning in a fan oven | Poor hot air circulation | Elevate food onto a rack to allow air circulations |
| The oven temperature is too low | Increase temperature to 200-22- | |
| Not long enough in the oven | Continue cooking for another 15+ minutes |
NOTE: Condensation on the oven door is normal, especially when the kitchen is cold. Also, spacing and size of food on trays and the number of baking dishes in the oven can affect air circulation.
USING THE BURNERS
BURNER SAFETY WARNINGS
- Do not use pots and pans which are unsteady, as these could overbalance.
- Do not use mats, heat diffusers, or wok These will cause a temperature build-up which can damage the cooktop.
- Do not let cooking pots overhang sides or front of hob get too close to the burner control
CERAMIC BURNERS
- Do not leave the aluminum foil on the hot ceramic burners (permanent damage will occur)
Note: Stored heat in the burner can be used for the last few minutes of cooking. Simply turn off the control.
CHOOSING COOKING POTS
Look at this diagram below which shows you which utensils to use on the burners and which utensils should not be used.
- Always use pots and pans with flat Uneven or thin bottoms will waste energy and cook slowly.
- Always use pots and pans which are slightly larger than the Small pans that waste energy.
- Always put dry pots and pans on the
- Do not use pots and pans which are too Pans that overhang the burner more than 50mm can damage the hob.

USING THE BURNERS OF YOUR GAS COOKER (The Hob Control Knobs)
The symbols on the control knobs mean the following:
| No gas flow | |
| Maximum gas flow | |
| Minimum gas flow |
All operating positions must be set between the maximum and minimum flow settings, and never between the maximum setting and the closed position.
Introduction To The Burner
A- Burner cap
B- Lighting plug
C- Thermocouple
Burner Ignition
To light these burners:
- Choose the burner you want to use.
- Turn the burner control knob to “ “
- Press the body release spark burner switch Burner

- Rapid Burner
Used for normal cooking. - Semi-rapid Burner
Used with middle-size pots and pans. - Auxiliary Burner
Used for simmering.
Used with small pots and pans.
To conserve gas, place the pan centrally over the burner and adjust the flame so that it does not go past the edges of the cookware,
GET TO KNOW YOUR OVEN
The appliance is tested with Natural gas at the pressure of 10 bar. If it is to be used with other types of gas, the burner nozzle has to be changed and the gas valve adjusted. To replace the nozzle, proceed as described below.
Adjust The Oven Burner
To adjust the oven burner, open the oven door and proceed as follows:
- Remove all accessories (pans, shelves, and any steel runners):
- Lift the oven bottom plate and extract it so that the inside of the oven is as shown in the
Changing The Nozzle
- Undo the oven burner fixing screws
- Move the burner B outwards until the nozzle is
- Use a 7 socket wrench to change the nozzle, fitting the
- One for the type of gas to be.
Adjusting The Oven Burner Primary Air Flow
- Undo the adjuster screw “A” of the air regulator sleeve;
- Turn the regulator sleeve “B” into the position for the type of gas to be used, consulting the table below;
- Tighten the adjuster screw and restore the seals;
- When the operation is complete, reassemble the burner
NATURAL GAS (N) ULPG X=3mm X= 8mm
When the operation is complete, replace the nameplate on the back of the oven with the one provided for the new type of gas.
In compliance with current safety standards, adapting gas from NG to LPG must be carried out by a qualified tradesperson.
FITTING OVEN ACCESSORIES AND CLEANING
Safety Warnings About Cleaning
- Always make sure that the cooker is turned off before
- Always clean cooker immediately after
- Do not use steam These may cause moisture build-up.
- Do not use caustic- based These will damage aluminum parts, and remove enamel gloss.
Cleaning The Enamel
- Keep enamel clean by wiping it with a soft cloth dipped in warm soapy
- Rub difficult stains with a nylon scourer or creamed powder
- Do not use abrasive cleaners, dry powder cleaners, steel wool or wax
- If you use an oven cleaner, then follow the instructions on the product
Cleaning The Control Panel
- Make sure control knobs are in off
- Clean the control panel by wiping it with a soft cloth dipped in warm soapy water and squeezed
- Take care when cleaning around knobs to ensure printing on the control panel is not removed, this can occur if abrasive cleaners are used, therefore, should not use at
CLEANING THE GAS HOB
Removing The Trivets (Refer Figure 1)
- The trivets locate in the recessed area of the
- They can be removed for cleaning by carefully lifting them from the
- Clean by washing in warm soapy Dry thoroughly.
- Take care when replacing the trivets as dropping them onto the hob may damage the enameled
Removing The Burners (Refer Figure 2)
- The burner caps and crowns are removable for
- The flame port blockage should be removed by means of a match stick or
- If the caps, crowns, and cups are heavily soiled, use a non-abrasive cleaning
- Do not clean them with abrasive or caustic type cleaners, or put them in a dishwasher as they will be
Refitting The Burner Crowns And Caps
- The burner crown must be fitted correctly into the burner cup or damage will occur during
- To do this, ensure that the 2 ribs on either side of the spark plug hole are positioned into the 2 slots on the burner (See figure 2).
- The burner cap is simply positioned over the top of the burner
NOTE: When the burner is correctly fitted it will sit level on the knob. If the ignition is difficult or fails after cleaning, then either burner parts are not dry or parts have not been positioned correctly.
Cleaning The Oven
- Open door
- Remove oven shelves and side
- Clean in hot soapy
Cleaning The Oven Door / How To Remove The Oven Door
For a more thorough clean, you can remove and disassemble the oven door. Proceed as follows:
- Open the door to the full extent (fig. 1)
- Open the lever A completely on the left and right hinges (fig. 2)
- Hold the door as shown in (fig. 3) approximately 30-degree angle upwards
- Gently close the door (fig. 3) until left and right hinge levers A (fig. 2) are hooked to part B (fig. 2) of the door
- Withdraw the hinge hooks from their location following arrow C (fig. 4)
- Rest the door on a soft surface, to reduce the risk of damage to the door
- To replace the door, repeat the above steps in reverse order
Removing The Inner Pane Of Glass
- Triple Glazed oven door: Remove the top frame (G) by unscrewing the 2 screws, located on the left and right sides
- Gently pull out the inner pane of glass (fig. 2). Also, remove the center pane of a door glass, not shown
- Clean the glass panes with an appropriate Dry thoroughly, and place on a soft surface.
- Now you can also clean the inside of the outer
Cleaning The Door Glass
- Clean the glass door using non-abrasive products or sponges and dry it with a soft
- Do not use the oven without the inner door glass
- Do not use harsh abrasive cleaners or sharp metal scrapers to clean the oven door glass since they can scratch the surface, which may result in shattering of the
SOLVING PROBLEMS
If you have a problem with your appliance, check the table below before calling the service. You may be able to avoid a service call and avoid unnecessary inconvenience and expense.
For cooking problems, refer to Handling Baking Problems.
Problem | Causes | Remedy |
| Elements won’t work | Circuit breaker tripped | Check circuit breaker |
| Household fuse blown | Replace household fuse | |
|
Oven or grill not working | 120 min Timer now in Manual position | Refer to 120 min timer instructions |
| Power not turned on | Switch on electricity | |
| Control is incorrectly set | Reset controls | |
| Circuit breaker tripped | Check circuit breaker | |
|
The oven light not working | Power not turned on | Switch on electricity |
| Household fuse blown | Check fuses | |
| Circuit breaker tripped | Check circuit breaker | |
| Lamp blew or loose in the socket | Replace or tighten the globe | |
|
Oven not hot enough | Heat escaping through the incorrectly sealed door | Check shelves or dishes are not preventing the door from closing properly. Check that door is fitted properly after door removal for cleaning |
| The door seal is worn or has moved | Replace seal or reset it | |
| Unit smoking when first used | Protective oils being removed | This is normal |
| Odor on first use of the oven | Manufacturing oils on elements | This is normal |
| 120minute timer buzzer not audible | Timer not wound sufficiently | Allow 2-4 hours for odor to dissipate (open all windows) |
| Oven shelf tight | Oven shelf not inserted correctly, maybe upside down or back to front | Turn timer knob past 15-minute mark. Then turn to the required number of minutes. |
| Clock display off | A household fuse has blown or the power supply is off | Remove the shelf and insert as per the diagram |
| Check fuses, power supply |
NOTE: Only Euromaid Authorised service agents should carry out servicing otherwise warranty may be void.
INSTALLING COOKER – POWER CONNECTIONS
Electrical Connection
The appliance is supplied fitted with a power cord and 3 pin plug. Install the cooker so that the plug is easily accessible. Plug the 3-pin plug into a properly earthed, 10A general purpose power outlet preferably on a separate dedicated circuit.
If a permanent connection is used, the appliance’s power supply line must be fitted with an Omni polar breaking device with a contact gap of at least 3 mm, located in an easily accessible position close to the appliance itself.
If a socket and plug connection is used, check that they are of the same type. Do not use reducers, adapters, or junctions since they may cause overheating or burns.
Operation at 220-240 V~: use a type H05RR-F three-wire cable (Cable of 3 x 1.5 mm²).
WARNING: Installation MUST ONLY be carried out by a qualified approved installer, ie. an Electrician.
NOTE: REFER to TECHNICAL tables at the rear of this manual for the correct rating for your corresponding model purchased.
NOTE: All Upright cookers must comply with local regulations to Australian Standard AS/NZS 3000:2007 guidelines. Qualified Electrician will have a copy of these guides that MUST be adhered to.
Unpacking
Do not fit the burner crowns, burner caps, and trivets until after the cooker has been installed.
Locating The Cooker
This appliance must be installed by an authorized person in accordance with this instruction manual, AS/NZS 5601 – Gas installations (installation and pipe sizing), local gas fitting regulations, local electrical regulations, local water regulations, local health regulations, Building Code of Australia and any other government authority.
Overhead Clearances—(Measurement A)
Range hoods and exhaust fans shall be installed in accordance with the manufacturer’s relevant instructions. However, in no case shall the clearance between the highest part of the hob of the gas cooking appliance and a range hood be less than 600 mm or, for an overhead exhaust fan, 750 mm
Side Clearances—(Measurements B, & C)
Where B, measured from the periphery of the nearest burner to any vertical combustible surface, or vertical combustible surface covered with toughened glass or sheet metal, is less than 200 mm, the surface shall be protected to a height C of not less than 150 mm above the hob for the full dimension (width or depth) of the cooking surface area. Where the gas cooking appliance is fitted with a ‘splashback’, protection of the rear wall is not required.
Additional Requirements For Freestanding And Elevated Gas Cooking Appliances— (Measurements D & E). Where D, the distance from the periphery of the nearest burner to a horizontal combustible surface is less than 200 mm, then E shall be 10 mm or more, or the horizontal surface shall be above the trivet.
Overheat Clearances -(Measurement A): The distance between the highest part of the hob of the gas cooking appliance should be higher than 600mm for a range hood and higher than 750mm for an overhead exhaust fan.
Installation of the anti-tilt plate
Determine the position of the cooker and anti-tilt plate.
Securely fix the anti-tilt plate to the floor with appropriate fasteners.
Fasten the stability bolt bracket to the front frame with the 2 screws supplied. Reposition the cooker back into the anti-tilt plate and then mark the position of the stability bolt hole. Pull the cooker back out and drill the bolt location hole. Use a 10mm masonry or wood drill.
When drilling into concrete ensure a minimum hole depth of 30mm.
Reposition the cooker back into the anti-tilt plate, aligning the stability bolt bracket with the 10mm drilled hole. Then slide the bolt through the bracket and into the hole. Connect Electricity supply/gas supply but do not turn on until installation is completed.
CONNECTION TO THE GAS SUPPLY
This appliance is suitable for connection with rigid pipe or flexible hose. The isolating manual shut-off valve connection point must be accessible when the appliance is installed. For connection with a flexible hose assembly. The flexible hose assembly must be certified to AS/NZS 1869 class B or D. 10mm internal diameter, be kept as short as possible (not exceeding 1200mm), must not be in contact with the floor or any hot or sharp surfaces. The hose assembly must not be subject to strain, abrasion, kinking, or deformation. Gas leakage and operation of the appliance must be tested by the installer before leaving. Check burner flames are blue in color, stable, and completely ignore at both high and low flame settings with no appreciable yellow tipping, carbon deposition, lifting, floating, lighting back, or objectionable odor. Test burners individually and in combination. When satisfied with the operation of the cooker, please instruct the user on the correct method of operation.
GAS CONNECTION
The gas intake connection of the appliance has a “male thread”. When making the connection, take care not to apply stresses of any kind to the appliance. Read these points before connecting to the gas supply;
- The gas connection point is a 1/2” BSP external thread located at the rear of the appliance (50mm from the edge).
- Ensure installation allows withdrawal of appliance.
Read these points about the operation and look carefully at the diagram:
- The appliance regulator provided must be orientated.
- The arrow showing the direction of the flow must be pointed correctly.
- The regulator has a 1/2” BSP internal thread at the inlet and outlet.
NATURAL GAS
The supplied regulator must be fitted to the appliance inlet connection. Gas pressure must be adjusted to 1.0 kPa when approximately 50% of the burners are on high flame.
UNIVERSAL LPG
(The appliance test point is located at the injector)
Gas pressure must be checked to confirm the appliance operation pressure is 2.75 kPa, the appliance test point is the rapid burner injector as shown below.
- Disconnect power.
- Light the auxiliary burner and set it to high flame. Ensure all other burners are off.
- Zero manometers, then apply flexible tubing to seal over the Rapid burner injector, hold securely in place and check the gas pressure by pressing in the corresponding burner control knob, then turning to the high flame position.
- If the pressure is 2.75 kPa, reassemble the burner and perform the final checks as per this instruction manual.
- If the pressure is not 2.75 kPa, disconnect the appliance and check/adjust/replace the LPG cylinder regulator(s) as appropriate in accordance with AS/NZS 5601
NOTE: When the installation is complete, always check that all the unions are absolutely tight using a soapy solution. Never use a flame to make this check.
TESTING THE OPERATION OF THE GAS COOKER
NOTE: You must test the cooker after installation before you hand it over to the customer. You must have a manometer and a connecting tube..
Checking Gas Supply
- Check the manometer zero point is correct.
- Connect the manometer to the cooker pressure test point. This is located on the regulator or LPG inlet fitting.
- Turn on the gas supply and the electricity (if applicable) and try to ignite the gas.
NOTE: It will take additional time to light the gas for the first time as air needs to be purged from the pipes.
- Check the operating pressure for the particular gas type (see table).
For LPG Cookers
Adjust the regulator if necessary (this may be remote from the cooker).
For Natural Gas Cookers
- Regulators are supplied pre-adjusted and configured by the component maker for use with Natural Gas. The appliance installer is not required to make an adjustment to obtain the correct outlet pressure setting.
- An arrow on the base of the regulator indicates the direction of gas flow when the inlet and outlet of the regulator are orientated correctly. When the regulator has been fitted check for leaks from the connections with soapy water.
Checking The Function Of The Regulator
With the appliance operating check the outlet pressure:
- When all burners of the appliance are operating at maximum,
- When the smallest burner of the appliance is operating at a minimum.
Under these conditions, the outlet pressure should not vary from the nominal outlet pressure of 1.0kPa by more than ±20% of the nominal outlet pressure (±0.20kPa for Natural Gas).
If the regulator appears to not be performing satisfactorily then check the following points.
- If the outlet pressure is consistently too low then the inlet pressure may be too low and adjustment of an upstream regulator may be needed, or an upstream regulator or valve with insufficient flow capacity may be present in the gas supply If this is suspected then it may be necessary to repeat the checks whilst measuring both the inlet and outlet pressure to determine if the inlet pressure is in the range 1.13 – 5kPa.
- Check that the regulator has been fitted to the gas supply line in the correct orientation, the arrow on the base of the body indicates the direction of gas Once these checks have been completed, if the regulator still fails to perform in a satisfactory manner it should be replaced.
Testing The Cooker Features
Observe the flame appearance on each burner. If it is much smaller or larger than expected, then the injector size needs checking.
When maximum flame appearance is correct, then check the turn-down setting on each burner. If the settings appear to be incorrect, proceed as follows:
- Adjust the bypass screw mounted on the body of each burner control This is accessible when the control knob and the control panel are removed.
- Check the ignition on all burners both separately and in combination.
- Check the operation of the electrical components, if applicable.
- If you are satisfied that the cooker is operating correctly, then turn it off and show the customer how to use Make sure you ask the customer to operate the clock and controls.
NOTE: If the cooker cannot be adjusted to perform correctly, then inform the customer of the problem and put a warning notice on the cooker.. If the problem is dangerous, then disconnect the cooker. If there is a fault, then the customer should be advised to contact the manufacturer’s local service organization or the retailer.
INSTALLING YOUR NEW COOKER
- The cooker MUST BE installed and serviced only by an authorized
- A certificate of compliance must be supplied by the installer and is to be kept by the
- The packing materials must be removed before you install the
- You must follow the installation instructions in this
- The surrounding kitchen cabinets must be able to withstand 85°C. We will not accept responsibility for damage caused by installation into kitchen cabinets that cannot withstand 85°C.
- The appliance must not be installed in an It must be installed at least 100mm from the sidewall.
- The flexible pipe for gas models must have sufficient loops so the cooker can be moved for
- The vents; opening and all air spaces must not be
- The anti-tilt plate must be installed to avoid accidental tipping.
- The 18 stabilizing bolts must be installed to avoid accidental
- You must not pull the cooker by the door
- Power socket, if provided for gas models, and electricity isolation switch for electric models and gas models without a 20A plug is to be installed in an accessible position near the cooker (but not behind the cooker).
- If the supply cord or cable is damaged, it must be replaced by an approved service agent or a similarly qualified person in order to avoid a
Unpacking And Installation Instructions For Installer
- Please check the product and make sure that there is no
- Read the relevant installation sections of this manual (16,17,18,19). Ensure
- Confirm that product is compatible with available electrical/gas Ensure proposed installation position does not conflict with installation sections.
- Check the attachment packing in good condition, complete
- Use a screwdriver to remove two fixed anti-tilt plate screws and
Locating The Cooker
Study the diagrams below to be sure of the dimensions required to locate the cooker safely. Make sure that the top of the cooker is at least 10mm higher than the level of the benchtops. The appliance has been designed to fit in a 550mm wide gap in kitchen cabinets. The cooker may also be installed at the end of a line of benches or with free space on either side.
NOTE: To ensure cooker stability, both the anti-tilt and anti-movement/ stability bolt must be installed on all cookers (electric and gas).
The splashback installation
- To replace the splashback, align the 2 tabs of the splashback with the corresponding holes in the hob and push downwards.
- To remove the splashback, simply pull upwards.
- Clean the splashback in hot soapy water
- If required, pull the cooker back out and adjust the leveling feet as required.
TECHNICAL SPECIFICATIONS
Model | EFS54FC-SGB |
| Oven capacity (L) | 83 |
| Voltage (v) | 220-240 |
| Frequency (Hz) | 50-60 |
| Power (W) | 1200-1400 |
| Burner power (MJ/h) | NG 39.24 / LPG 39.24 |
| Product dimension (mm) | 540*630*910 |
| Package size (mm) | 590*712*960 |
Gas Type: Natural Gas @ 1.00kPa Test Point Pressure
| Burner | Injector Size (mm) | N.G.C. (MJ/h) |
| Rapid | 1.55mm | 12.0 |
| Semi-rapid | 1.16mm | 6.70 |
| Auxiliary | 0.90mm | 4.00 |
| Oven | 1.40mm | 10.0 |
ULPG @ 2.75kPa Test Point Pressure
| Burner | Injector Size (mm) | N.G.C. (MJ/h) |
| Rapid | 0.93mm | 11.0 |
| Semi-rapid | 0.-2r m | 7.50 |
| Auxiliary | 0.57mm | 4.00 |
| Oven | 0.85mm | 12. |
Total Gas Consumption:
| Natural Gas (MJ/h) | ULPG (MJ/h) |
| 38. | 42. |
Top grill Power: 1300w
MANUFACTURER GUARANTEE
This warranty is provided in Australia by Glen Dimplex Australia Pty Limited ABN 69 118 275 460 (Phone number 1300 556 816) and in New Zealand by Glen Dimplex New Zealand Limited NZBN 9429000069823 (Phone number 09 274 8265) in respect of the Euromaid product.
1. Euromaid Express Warranty
Subject to the exclusions below, we warrant that the product will not have any electrical or mechanical breakdowns within:
a) In the case of Euromaid products used for personal, domestic, or household purposes, a period of 2 years from the date the product is purchased as a brand-new product from a retailer located in Australia / New Zealand.
b) In the case of Euromaid products used for purposes other than personal, domestic, or household purposes (including business or commercial use), a period of 90 days from the date the product is purchased as a brand-new product from a retailer located in Australia / New Zealand. Euromaid products are designed and intended for domestic use only; and
c) All warranty repairs must be carried out by Glen Dimplex or their nominated service agent
Note: warranty periods detailed above may vary in line with agreements with select retail and builder partners and may differ between Australia and New Zealand. The benefits conferred by this express warranty are in addition to the Consumer Guarantees referred to in section 3 and any other statutory rights you may have under the Australian / New Zealand Consumer Law and/or other applicable laws.
2. Warranty exclusions
This express warranty does not apply where:
a) The product has been installed, used, or operated otherwise than in accordance with the product manual or other similar documentation provided to you with the product;
b) The product requires repairs due to damage resulting from accident, misuse, incorrect installation, insect or vermin infestation, improper liquid spillage, cleaning or maintenance, unauthorized modification, use on an incorrect voltage, power surges, and dips, voltage supply problems, tampering or unauthorized repairs by any persons, use of defective or incompatible accessories or exposure to abnormally corrosive conditions, events independent of human control which occurred after the goods left the control of Glen Dimplex;
c) The repair relates to the replacement of consumable parts such as fuses and bulbs or any other parts of the product which requires a routine replacement;
d) You are unable to provide us with reasonable proof of purchase for the product;
e) the breakdown occurs after the expiry of the express warranty period set out in section 1 or
f) the product was not purchased in Australia / New Zealand as a brand-new product.
3. Consumer guarantees
Our goods come with guarantees that cannot be excluded under the Australian / New Zealand Consumer Law. You are entitled to a replacement or refund for a major failure and for compensation for any other reasonably foreseeable loss or damage. You are also entitled to have the goods repaired or replaced if the goods fail to be of acceptable quality and the failure does not amount to a major failure.
4. How to make a claim.
You may make a claim under this warranty through our website, contacting our customer care line or via email. Contact details for Glen Dimplex Australia and New Zealand can be found at the end of this document.
To make a valid claim under this warranty, you must:
a) Lodge the claim with us as soon as possible and no later than 14 days after you first become aware of the breakdown;
b) Provide us with the product serial number;
c) Provide us with reasonable proof of purchase for the product. This can take the form of a store receipt, new home handover form or other payment receipt documentation; and
d) If required by us, provide us (or any person nominated by us) with access to the premises at which the product is located at times nominated by us (so that we can inspect the product).
Washing
5. Warranty claims
If you make a valid claim under this warranty and none of the exclusions set out in
• section 2 apply, we will, at our election, either repair the product or replace the product with a product of identical specification (or where the product is superseded
or no longer in stock, with a product of as close a specification as possible).
Goods presented for repair may be replaced by refurbished goods of the same type rather than being repaired. Refurbished parts may be used to repair the goods.
Products are designed and supplied for normal domestic use. We will not be liable to you under this warranty for business loss or damage of any kind whatsoever.
Glen Dimplex Australia Pty Ltd
www.glendimplex.com.au
Australia
Ph: 1300 556 816
[email protected]
Glen Dimplex New Zealand Ltd
www.glendimplex.co.nz
New Zealand
Ph: 09 274 8265
[email protected]
NOTES
READ THE INSTRUCTION BOOKLET BEFORE INSTALLING AND USING THE APPLIANCE.
The manufacturer will not be responsible for any damage to property or to persons caused by incorrect installation or improper use of the appliance.
The manufacturer is not responsible for any inaccuracies, due to printing or transcription errors, contained in this manual. In addition, the appearance of the figures reported is also purely indicative.
The manufacturer reserves the right to make changes to its products when considered necessary and useful, without affecting the essential safety and operating characteristics. Glen Dimplex constantly seeks ways to improve the specifications and designs of its products.
Whilst every effort is made to produce up-to-date literature, this document should not be regarded as an infallible guide. Actual products only should be used to derive cut-out sizes. All appliances must be installed by a qualified person/s with adherence to the relevant electrical, plumbing, and building codes, with compliance being issued as required by state or national legislation.
Additionally, all upright cookers must have the anti-tilt device installed correctly in adherence to the relevant standards by a licensed installer. For maximum effectiveness and efficiency, all range hoods should be installed with the use of ductwork, by a licensed installer with adherence to the relevant state and national building codes and regulations.
All Glen Dimplex appliances are for Domestic use only and must be installed by a licensed installer into Domestic Applications only, without exception and to the required Authorities’ guidelines. Any installation outside of this will VOID the warranty. Alfresco areas are not a Domestic application.
Glen Dimplex Australia Pty Ltd
www.glendimplex.com.au
Glen Dimplex New Zealand Ltd
www.glendimplex.co.nz
For service advice, please contact the Customer Care Centre by phone or email below.
Australia
Ph: 1300 556 816
[email protected]
New Zealand
Ph: 09 274 8265
[email protected]
VERSION 20210514



















