FINLUX FC-994IwnI Free Standing Cooker User Manual
Thank you for choosing this product.
This User Manual contains important safety information and instructions on the operation and maintenance of your appliance.
Please take the time to read this User Manual before using your appliance and keep this book for future reference.
Symbols
| Icon | Type | Meaning |
| WARNING | Serious injury or death risk | |
| RISK OF ELECTRIC SHOCK | Dangerous voltage risk | |
| FIRE | Warning; Risk of fire / flammable materials | |
| CAUTION | Injury or property damage risk | |
| IMPORTANT / NOTE | Operating the system correctly |
SAFETY INSTRUCTIONS
- Carefully read all instructions before using your appliance and keep them in a convenient place for reference when necessary.
- This manual has been prepared for more than one model therefore your appliance may not have some of the features described within. For this reason, it is important to pay particular attention to any figures whilst reading the operating manual.
General Safety Warnings
- This appliance can be used by children aged from 8 years and above and by persons with reduced physical, sensory or mental capabilities or lack of experience and knowledge if they have been given supervision or instruction concerning use of the appliance in a safe way and understand the hazards involved. Children should not play with the appliance. Cleaning and user maintenance should not be made by children without supervision.
WARNING: The appliance and its accessible parts become hot during use. Care should be taken to avoid touching heating elements. Keep children less than 8 years of age away unless they are continually supervised.
WARNING: Unattended cooking on a hob with fat or oil can be dangerous and may result in fire.
NEVER try to extinguish such a fire with water, but switch off the appliance and cover the flame with a lid or a fire blanket.
CAUTION: The cooking process has to be supervised. A short term cooking process has to be supervised continuously.
WARNING: Danger of fire: Do not store items on the cooking surfaces.
WARNING: If the surface is cracked, switch off the appliance to avoid the possibility of electric shock. - For induction hobs, metallic objects such as knives, forks, spoons and lids should not be placed on the hob surface because they can get hot.
- For induction hobs, after use switch off the hob element using the control knob. Do not rely on the pan detector.
- For models which incorporate a hob lid, clean any spillages off the lid before use and allow the cooker to cool before closing the lid.
- Do not operate the appliance with an external timer or separate remote-control system.
WARNING: To prevent the appliance tipping, the stabilising brackets must be installed. (For detailed information refer to the antitilting kit set guide.) 
- During use the appliance will get hot. Care should be taken to avoid touching heating elements inside the oven.
- Handles may become hot after a short period during use.
- Do not use harsh abrasive cleaners or scourers to clean oven surfaces. They can scratch the surfaces which may result in shattering of the door glass or damage to surfaces.
- Do not use steam cleaners to clean the appliance.
WARNING: To avoid the possibility of electric shock, make sure that the appliance is switched off before replacing the lamp.
CAUTION: Accessible parts may be hot when cooking or grilling. Keep young children away from the appliance when it is in use. - Your appliance is produced in accordance with all applicable local and international standards and regulations.
- Maintenance and repair work should only be carried out by authorised service technicians. Installation and repair work that is carried out by unauthorised technicians may be dangerous. Do not alter or modify the specifications of the appliance in any way. Inappropriate hob guards can cause accidents.
- Before connecting your appliance, make sure that the local distribution conditions (nature of the gas and gas pressure or electricity voltage and frequency) and the specifications of the appliance are compatible. The specifications for this appliance are stated on the label.
CAUTION: This appliance is designed only for cooking food and is intended for indoor domestic household use only. It should not be used for any other purpose or in any other application, such as for non-domestic use, in a commercial environment or for heating a room.- Do not use the oven door handles to lift or move the appliance.
- All possible measures have been taken to ensure your safety. Since the glass may break, care should be taken when cleaning. Avoid hitting or knocking the glass with accessories.
- Make sure that the supply cord is not trapped or damaged during installation. If the supply cord is damaged, it must be replaced by the manufacturer, its service agent or similarly qualified persons in order to prevent a danger.
- Do not let children climb on the oven door or sit on it while it is open.
- Please keep children and animals away from this appliance.
- When the induction hob is in use, keep the objects that are sensitive to magnetic fields (such as credit cards, bank cards, watches, and similar items) away from the hob. It is strongly suggested that anyone with a pacemaker should consult their cardiologist before using the induction hob.
Installation Warnings
- Do not operate the appliance before it is fully installed.
- The appliance must be installed by an authorised technician. The manufacturer is not responsible for any damage that might be caused by incorrect placement and installation by unauthorised people.
- When the appliance is unpacked, make sure that it is has not been damaged during transportation.
In the case of a defect do not use the appliance and contact a qualified service agent immediately.
The materials used for packaging (nylon, staplers, styrofoam, etc) may be harmful to children and they should be collected and removed immediately. - Protect your appliance from the atmosphere. Do not expose it to sun, rain, snow, dust or excessive humidity.
- Materials around the appliance (i.e. cabinets) must be able to withstand a minimum temperature of 100°C.
- The appliance must not be installed behind a decorative door, in order to avoid overheating.
During Use
- When you first use your oven you may notice a slight smell. This is perfectly normal and is caused by the insulation materials on the heater elements.
We suggest that, before using your oven for the first time, you leave it empty and operate it at maximum temperature for 45 minutes. Make sure that the environment in which the product is installed is well ventilated. - Take care when opening the oven door during or after cooking. The hot steam from the oven may cause burns.
- Do not put flammable or combustible materials in or near the appliance when it is operating.
- Always use oven gloves to remove and replace food in the oven.
- Under no circumstances should the oven be lined with aluminium foil as overheating may occur.
- Do not place dishes or baking trays directly onto the base of the oven whilst cooking. The base becomes very hot and damage may be caused to the product.

Do not leave the cooker unattended when cooking with solid or liquid oils. They may catch fire under extreme heating conditions. Never pour water on to flames that are caused by oil, instead switch the cooker off and cover the pan with its lid or a fire blanket. - Always position pans over the centre of the cooking zone, and turn the handles to a safe position so they cannot be knocked.
- If the product will not be used for a long period of time, turn the main control switch off. Turn the gas valve off when gas appliances are not in use.
- Make sure the appliance control knobs are always in the “0” (stop) position when it is not used.
- The trays incline when pulled out. Take care not to spill or drop hot food while removing them from the oven.
- Do not place anything on the oven door when it is open. This could disrupt the balance of the oven or damage the door.
- Do not place heavy or flammable items (e.g. nylon, plastic bags, paper, cloth, etc.) into the drawer. This includes cookware with plastic accessories (e.g. handles).
CAUTION: The inside surface of the storage compartment may get hot when the appliance is in use. Avoid touching the inside surface. - Do not hang towels, dishcloths or clothes from the appliance or its handles.zone, and turn the handles to a safe position so they cannot be knocked.
- If the product will not be used for a long period of time, turn the main control switch off. Turn the gas valve off when gas appliances are not in use.
- Make sure the appliance control knobs are always in the “0” (stop) position when it is not used.
- The trays incline when pulled out. Take care not to spill or drop hot food while removing them from the oven.
- Do not place anything on the oven door when it is open. This could disrupt the balance of the oven or damage the door.
- Do not place heavy or flammable items (e.g. nylon, plastic bags, paper, cloth, etc.) into the drawer. This includes cookware with plastic accessories (e.g. handles).
CAUTION: The inside surface of the storage compartment may get hot when the appliance is in use. Avoid touching the inside surface. - Do not hang towels, dishcloths or clothes from the appliance or its handles.
During Cleaning and Maintenance
- Make sure that your appliance is turned off at the mains before carrying out any cleaning or maintenance operations.
- Do not remove the control knobs to clean the control panel.
- To maintain the efficiency and safety of your appliance, we recommend you always use original spare parts and to call our authorised service agents when needed.
CE Declaration of conformity
We declare that our products meet the applicable European Directives, Decisions and Regulations and the requirements listed in the standards referenced.
This appliance has been designed to be used only for home cooking. Any other use (such as heating a room) is improper and dangerous.
The operating instructions apply to several models.
You may notice differences between these instructions and your model.
Disposal of your old machine
This symbol on the product or on its packaging indicates that this product should not be treated as household waste. Instead it should be handed over to the applicable collection point for the recycling of electrical and electronic equipment. By ensuring this product is disposed of correctly, you will help prevent potential negative consequences for the environment and human health, which could otherwise be caused by inappropriate waste handling of this product. For more detailed information about recycling of this product, please contact your local city office, your household waste disposal service or the retailer who you purchased this product from.
INSTALLATION AND PREPARATION FOR USE
WARNING : This appliance must be installed by an authorised service person or qualified technician, according to the instructions in this guide and in compliance with the current local regulations.
- Incorrect installation may cause harm and damage, for which the manufacturer accepts no responsibility and the warranty will not be valid.
- Prior to installation, ensure that the local distribution conditions (electricity voltage and frequency and/or nature of the gas and gas pressure) and the adjustments of the appliance are compatible. The adjustment conditions for this appliance are stated on the label.
- The laws, ordinances, directives and standards in force in the country of use are to be followed (safety regulations, proper recycling in accordance with the regulations, etc.).
- If the product contains removable shelf guides (wire racks) and the user manual includes recipes like yoghurt, the wire racks shall be removed and the oven operated in the defined cooking mode. Removal of the Wire Shelf information is included in the CLEANING AND MAINTENANCE section.
Instructions for the Installer
General instructions
- After removing the packaging material from the appliance and its accessories, ensure that the appliance is not damaged. If you suspect any damage, do not use it and contact an authorised service person or qualified technician immediately.
- Make sure that there are no flammable or combustible materials in the close vicinity, such as curtains, oil, cloth etc. which may catch fire.
- The worktop and furniture surrounding the appliance must be made of materials resistant to temperatures above 100°C.
- The appliance should not be installed directly above a dishwasher, fridge, freezer, washing machine or clothes dryer.
- The appliance can be placed close to other furniture on condition that, in the area where the appliance is set up, the furniture’s height does not exceed the height of the cooktop.
Installation of the Cooker
- If the kitchen furniture is higher than the cooktop, the kitchen furniture must be at least 10 cm away from the sides of appliance for air circulation.
- If a cooker hood or cupboard is to be installed above the appliance, the safety distance between cooktop and any cupboard/cooker hood should be as shown below.
| A (mm) Cupboard | 420 |
| B (mm) Cooker Hood | 650/700 |
| C (mm) | Product Width |
| D (mm) | 50 |

Electrical Connection and Safety
WARNING: The electrical connection of this appliance should be carried out by an authorised service person or qualified electrician, according to the instructions in this guide and in compliance with the current local regulations.
WARNING: THE APPLIANCE MUST BE EARTHED.
- Before connecting the appliance to the power supply, the voltage rating of the appliance (stamped on the appliance identification plate) must be checked for correspondence to the available mains supply voltage, and the mains electric wiring should be capable of handling the appliance’s power rating (also indicated on the identification plate).
- During installation, please ensure that isolated cables are used. An incorrect connection could damage your appliance. If the mains cable is damaged and needs to be replaced this should be done by a qualified personnel.
- Do not use adaptors, multiple sockets and/or extension leads.
- The supply cord should be kept away from hot parts of the appliance and must not be bent or compressed. Otherwise the cord may be damaged, causing a short circuit.
- If the appliance is not connected to the mains with a plug, a all-pole disconnector (with at least 3 mm contact spacing) must be used in order to meet the safety regulations.
- The appliance is designed for a power supply of 220-240 V~.380-415 3N~
If your supply is different, contact the authorized service personnel or qualified electrician. - The power cable (H05VV-F) must be long enough to be connected to the appliance.
- The fused switch must be easily accessible once the appliance has been installed.
- Ensure all connections are adequately tightened.
- Fix the supply cable in the cable clamp and then close the cover.
- The terminal box connection is placed on the terminal box.

Anti-tilting kit

The document bag contains an anti-tilting kit. Loosely attach the antitilting bracket (1) to the wall using the screw (2) and wall plug (3), following the measurements shown in the figure and table below. Adjust the height of the antitilting bracket so that it lines up with the slot on the cooker and tighten the screw. Push the appliance towards the wall making sure that the anti-tilting bracket is inserted into the slot on the rear of the appliance.

| Product Dimensions (Width X Depth X Height) (Cm) | A (mm) | B (mm) |
| 60x60x90 (Double Oven) | 297.5 | 52 |
| 50x60x90 (Double Oven) | 247.5 | 52 |
| 90x60x85 | 430 | 107 |
| 60x60x90 | 309.5 | 112 |
| 60x60x85 | 309.5 | 64 |
| 50x60x90 | 247.5 | 112 |
| 50x60x85 | 247.5 | 64 |
| 50x50x90 | 247.5 | 112 |
| 50x50x85 | 247.5 | 64 |
Adjusting the feet
The appliance is supplied with 4 adjustable feet. Attach the feet to the bottom panel support by rotating clockwise as shown in the figure.
For safe operation, it is important that your appliance is correctly balanced. Make sure the appliance is level prior to cooking. To increase the height of the appliance, turn the inner part of the feet anti-clockwise. To decrease the height of the appliance, turn the inner part of the feet clockwise.
It is possible to raise the height of the appliance up to 50 mm by adjusting the feet. The appliance is heavy and we recommend that a minimum of 2 people lift it. Never drag the appliance.

PRODUCT FEATURES
Important: Specifications for the product vary and the appearance of your appliance may differ from that shown in the figures below.
List of Components

- Cooktop
- Control Panel
- Oven Door Handle
- Oven Door
- Adjustable Feet
Control Panel
- Timer
- Oven Function Control Knob
- Oven Thermostat Knob
- Hob Control Knob
USE OF PRODUCT
Hob controls
Induction Zone
The induction zone is controlled by a knob with 9 positions.
The induction zone is operated by turning the control knob to the required setting.
Near each control knob is a symbol which indicates the zone that is controlled by the knob.

The information given in the following table is for guidance only.
| Settings | Use for |
| 0 | Element off |
| 1-3 | Delicate warming |
| 4-5 | Gentle simmering, slow warming |
| 6-7 | Reheating and rapid simmering |
| 8 | Boiling, saute and searing |
| 9 | Maximum heat |
| P | Boost function |
Cookware
- Use thick, flat, smooth bottomed good quality cookware made of steel, enamelled steel, cast iron or stainless steel. The quality and composition of the cookware has a direct effect on cooking performance.
- Do not use concave or convex bottomed cookware. Cookware made from aluminium and stainless steel with nonferromagnetic bottom, glass, copper, brass, ceramic, porcelain are unsuitable for induction heating.
- To check if the cookware is suitable for induction cooking you can hold a magnet to the base of the cookware.
If the magnet sticks, the cookware is generally suitable or you can put little water in the cookware on a cooking zone set at maximum level. The water must heating at a few seconds. - When using certain pans, you may hear various noises coming from them, this is due to the design of the pans and does not affect the performance or safety of the hob.
- To achieve the best cooking performance, the pan should be placed in the center of the cooking zone.
symbol flashes when the power level is selected in cooking zone display if unsuitable pan or no pan is placed on the cooking zone. The cooking zone will switch off automaticaly after 2 minutes.- If a suitable pan is placed on the cooking zone
symbol will disappear and cooking continues at the selected power level. - To obtain best energy transferring the diameter of the cookware base should match that of the cooking zone.
- The minimum cookware diameter should be D120 mm for 160 mm cooking zones, D140 mm for 210 mm cooking zones and D160 mm for 290 mm cooking zones.

The appliance is operated by pressing knobs and the functions are confirmed by displays and audible sounds.
Touch Control Unit

- Decrease timer
- Timer display
- Timer zone indicator
- Timer selection
- Increase timer
Use the induction cooking zones with suitable cookware.
After mains voltage is applied, the hob is in the stand-by mode and is ready for operation.
The hob is controlled by the use of knobs for setting the cooking level and touch sensors for setting the timer. Each button pressed is followed by a buzzer sound.
Switching the Cooking Zones On
Use the corresponding knob to set the cooking level from 0 to 9. The element is now ready to use. For fast boil times, keep the knob at the “P” position for 2 seconds to activate the Boost function and then adjust to the desired level.
Switching the Cooking Zones Off
Adjust the knob to“0”.
If the cooking zone is hot, “H” will be
displayed instead of “0”.
Residual Heat Indicator
The residual heat indicator indicates that the glass ceramic area has a temperature that is dangerous to touch.
After switching off the cooking zone, the respective display will show “H” until the corresponding cooking zone temperature is at a safe level.
Safety Switch-Off Function
A cooking zone will automatically switch off if the heat setting has not been modified for a specified duration of time. A change in the heat setting of the cooking zone will reset the time duration to the initial value.
This initial value depends on the selected temperature level, as shown below.
| Heat setting | Safety switch off after |
| 1-2 | 6 Hours |
| 3-4 | 5 Hours |
| 5 | 4 Hours |
| 6-9 | 1.5 Hours |
Timer Function
Cooking Zone Timer (1 – 99 min.)
When the hob is switched on, an independent timer can be programmed for each cooking zone.
Select a cooking zone, then select the temperature setting and, finally, activate the timer setting button
, the timer can be programmed to switch off a cooking zone.
Four LEDs are arranged around the timer that indicate which cooking zone the timer has been set for.
10 seconds after the last operation, the timer display will change to the timer that will run out next (in cases where a timer is set for more than one cooking zone).
When the timer has run down, a signal will sound, the timer display will show ´00` and the assigned cooking zone timer LED will blink. The programmed cooking zone will switch off and “H” will be displayed if the cooking zone is hot.
The sound signal and the blinking of the timer LED will stop automatically after 2 minutes and/or by pressing any button.
Buzzer
While the hob is in operation, the following activities will be signalled by the buzzer.
- Normal button activation will be accompanied with a short sound signal.
- Continuous button operation over a longer period of time (10 seconds) will be accompanied with a longer, intermittent sound signal.
Boost Function
To use this function, select a cooking zone and set the desired cooking level, then press the “P” (Boost) button.
The Boost function can only be activated if it is applicable with the cooking zone selected. If the Boost Function is active, a “P” is shown on the corresponding display.
Activating the booster can exceed the maximum power, in which case the integrated power management will be activated.
The necessary power reduction is shown by the corresponding cooking zone display blinking. Blinking will be active for 3 seconds to allow for further adaptations of the settings before power reduction.
| Error Codes | |
| If there is an error, an error code will be shown on the heater displays. | |
| E1 | Cooling Fan is disabled. Call an authorised service agent. |
| E3 | Supply voltage is other than the rated values. Switch the hob off by pressing ,wait until “H” disappears for all zones, switch the hob on by pressing and continue to use. If the same error is displayed again, call an authorised service agent. |
| E4 | Supply frequency is different from the rated values. Switch the hob off by pressing , wait until “H” disappears from all zones, switch the hob on by pressing and continue to use. If the same error is displayed again, switch the plug for the appliance off and on. Switch the hob on by pressing and continue to use. If the same error is displayed again, call an authorised service agent. |
| E5 | Internal temperature of the hob is too high, switch the hob off by pressing and let the heaters cool down. |
| E6 | Communication error between the touch control and heater. Call an authorised service agent. |
| E7 | Coil temperature sensor is disabled. Call an authorized service agent. |
| E8 | Cooler temperature sensor is disabled. Call an authorized service agent. |
| EA | Large Coil Saturation Error. Switch the hob off by pressing on/off button, switch the hob on by pressing on/off button and continue to use. If the same error is displayed again, call an authorised service agent. |
| EC | Supply Voltage Error.Switch the hob off by pressing on/off button, switch the hob on by pressing on/off button and continue to use. If the same error is displayed again, call an authorised service agent. |
| C1-C8 | Mcroprocessor alert. Switch the hob off by pressing on/off button, switch the hob on by pressing on/off button and continue to use. If the same error is displayed again, call an authorised service agent. |
Oven Controls
Oven function control knob
Turn the knob to the corresponding symbol of the desired cooking function. For the details of different functions see ´Oven Functions`.
Oven thermostat knob
After selecting a cooking function, turn this knob to set the desired temperature.
The oven thermostat light will illuminate whenever the thermostat is in operation to heat up the oven or maintain the temperature.
Oven Functions
The functions of your oven may be different due to the model of your product.
- Oven Lamp: Only the oven light will switch on. It will remain on for the duration of the cooking function.

Defrost Function: The oven’s warning lights will switch on and the fan will start to operate.
To use the defrost function, place your frozen food in the oven on a shelf in the third slot from the bottom.
It is recommended that you place an oven tray under the defrosting food to catch the water accumulated due to melting ice. This function will not cook or bake your food, it will only help to defrost it. - Turbo Function: The oven’s thermostat and warning lights will switch on, and the ring heating element and fan will start operating.
The turbo function evenly disperses the heat in the oven so all food on all racks will cook evenly. It is recommended that you preheat the oven for about 10 minutes.
- Static Cooking Function: The oven’s thermostat and warning lights will switch on, and the lower and upper heating elements will start operating. The static cooking function emits heat, ensuring even cooking of food. This is ideal for making pastries, cakes, baked pasta, lasagne and pizza. Preheating the oven for 10 minutes is recommended and it is best to use only one shelf at a time in this function.

- Fan Function: The oven’s thermostat and warning lights will switch on, and the upper and lower heating elements and fan will start operating.

This function is good for baking pastry. Cooking is carried out by the lower and upper heating elements within the oven and by the fan, which provides air circulation, giving a slightly grilled effect to the food. It is recommended that you preheat the oven for about 10 minutes. - Pizza Function: The oven’s thermostat and warning lights will switch on, and the ring, lower heating elements and fan will start operating. This function is ideal for baking food, such as pizza, evenly in a short time. While the fan evenly disperses the heat of the oven, the lower heating element ensures baking of the food.

- Grilling Function: The oven’s thermostat and warning lights will switch on, and the grill heating element will start operating. This function is used for grilling and toasting foods on the upper shelves of the oven. Lightly brush the wire grid with oil to stop food sticking and place food in the centre of the grid. Always place a tray beneath the food to catch any drips of oil or fat. It is recommended that you preheat the oven for about 10 minutes.

Warning: When grilling, the oven door must be closed and the oven temperature should be adjusted to 190°C. - Faster Grilling Function: The oven’s thermostat and warning lights will switch on, and the grill and upper heating elements will start operating. This function is used for faster grilling and for grilling food with a larger surface area, such as meat. Use the upper shelves of the oven. Lightly brush the wire grid with oil to stop food sticking and place food in the centre of the grid. Always place a tray beneath the food to catch any drips of oil or fat. It is recommended that you preheat the oven for about 10 minutes.

Warning: When grilling, the oven door must be closed and the oven temperature should be adjusted to 190°C. - Double Grill and Fan Function: The oven’s thermostat and warning lights will switch on, and the grill, upper heating elements and fan will start operating. This function is used for faster grilling of thicker food and for grilling of food with a larger surface area. Both the upper heating elements and grill will be energised along with the fan to ensure even cooking. Use the upper shelves of the oven.
Lightly brush the wire grid with oil to stop food sticking and place food in the centre of the grid. Always place a tray beneath the food to catch any drips of oil or fat. It is recommended that you preheat the oven for about 10 minutes.
Warning: When grilling, the oven door must be closed and the oven temperature should be adjusted to 190°C.
Cooking Table
| Function | Dishes | ![]() | ![]() | ![]() |
| Static | Puff Pastry | 1 – 2 | 170-190 | 35-45 |
| Cake | 1 – 2 | 170-190 | 30-40 | |
| Cookie | 1 – 2 | 170-190 | 30-40 | |
| Stew | 2 | 175-200 | 40-50 | |
| Chicken | 1 – 2 | 200 | 45-60 | |
| Fan | Puff Pastry | 1 – 2 | 170-190 | 25-35 |
| Cake | 1 – 2 – 3 | 150-170 | 25-35 | |
| Cookie | 1 – 2 – 3 | 150-170 | 25-35 | |
| Stew | 2 | 175-200 | 40-50 | |
| Chicken | 1 – 2 | 200 | 45-60 | |
| Turbo | Puff Pastry | 1 – 2 – 3 | 170-190 | 35-45 |
| Cake | 1 – 2 – 3 | 150-170 | 30-40 | |
| Cookie | 1 – 2 – 3 | 150-170 | 25-35 | |
| Stew | 2 | 175-200 | 40-50 | |
| Two-tray cake | 1 – 4 | 160-180 | 30-40 | |
| Two-tray pastry | 1 – 4 | 170-190 | 35-45 |
| Grilling | Grilled meatballs | 4 | 200 | 10-15 | |
| Chicken | * | 190 | 50-60 | ||
| Chop | 3 – 4 | 200 | 15-25 | ||
| Beefsteak | 4 | 200 | 15-25 |
If available cook with roast chicken skewer.
Use of the Digital

| Function Description | |
| A | Auto cooking |
| Manual cooking | |
| Cooking time | |
| Cooking end time | |
| Dot | |
| Minute minder | |
| Mode function | |
| – | Decrease timer |
| + | Increase timer |
![]() | Timer display |
Time adjustment
The time must be set before you start using the oven. Following the power connection, the symbol “A” and “000” will flash on the display.
- Press the “+” and “-” keys simultaneously.
Symbol will appear, and the dot in the middle of the screen will start to flash.
- Adjust the time while the dot is flashing using the “+” and “-” keys.

- After a few seconds, the dot will stop flashing and will remain illuminated.

Audible warning time adjustment
The audible warning time can be set to any time between 0:00 and 23:59 hours.
The audible warning time is for warning purposes only. The oven will not be activated with this function.
- Press “MODE”. The symbol
will begin to flash and “000” will be displayed.
- Select the desired time period using the “+” and “-” keys while
is flashing.
- The symbol
will remain illuminated, the time will be saved and the warning will be set.
When the timer reaches zero, an audible warning will sound and the symbol
will flash on the display. Press any key to stop the audible warning and the
symbol will disappear.
Semi-automatic time adjustment (cooking period)
This function helps you to cook for a fixed period of time. A time range between 0 and 10 hours can be set. Prepare the food for cooking and put it in the oven.
- Select the desired cooking function and the temperature using the control knobs.
- Press “MODE” until you see “dur” and
symbol on the display screen. The symbol “A” will flash. - Select the desired cooking time period using the “+” and “-” keys.
- The current time will reappear on the screen, and the symbols “A”,
and
will remain illuminated.
When the timer reaches zero, the oven will switch off and an audible warning will sound. The symbols “A” and will flash.
Turn both control knobs to the “0” position and press any key on the timer to stop the warning sound. The symbols will disappear and the timer will switch back to manual function.
Semi-automatic time adjustment (finishing time)
This function automatically starts the oven so that cooking will finish at a set time. You can set an end time of up to 10 hours after the current time of day. Prepare the food for cooking and put it in the oven.
- Select the desired cooking function and the temperature using the control knobs.
- Press “MODE” until you see “end” and
symbol on the display screen. “A” and the current time of day will flash.
- Use the “+” and “-” buttons to set the desired finishing time.

- The current time will reappear on the screen, the symbols “A”,
and
will remain illuminated.
When the timer reaches zero, the oven will switch off and an audible warning will sound. The symbol “A”
and will flash.
Turn both control knobs to the “0” position and press any key on the timer to stop the sound. The symbol will disappear and the timer will switch back to manual function.
Full-automatic programming
This function is used to start cooking after a certain period of time and for a certain duration. A time of up to 10 hours after the current time of day can be set. Prepare the food for cooking and put it in the oven.
- Select the desired cooking function and the temperature using the control knobs.

- Press “MODE” until you see “dur” and
symbol on the screen.
The symbol “A” will flash.
- Select the desired cooking time period using the “+” and “-” keys.

- The current time will reappear on the screen, the symbols “A”,
and
will remain illuminated.
- Press “MODE” until you see “end” and
symbol on the screen. The time and the symbols “A” and
will flash.
- Select the desired finishing time using the “+” and “-” keys.

- Add the cooking period to the current time of day. You can set a time of up to 23 hours and 59 minutes after this.

- The current time will reappear on the screen, and the symbols “A”,
and
will remain illuminated.
The operating time will be calculated and the oven will automatically start so that cooking will finish at the set finishing time.
When the timer reaches zero, the oven will switch off, an audible warning will sound and the symbols “A” and
will flash.
Turn both control knobs to the “0” position and press any key to stop the sound. The symbol will disappear and the timer will switch back to manual function.
Sound Adjustment
To adjust the volume of the audible warning sound, while the current time of day is displayed, press and hold the “-” button for 1-2 seconds until an audible signal sounds.
After this, each time the “-” button is pressed, a different signal will sound. There are three different types of signal sounds.
Select the desired sound and do not press any other buttons. After a short time, the selected sound will be saved.
Accessories
The Deep Tray
The deep tray is best used for cooking stews.
Put the tray into any rack and push it to the end to make sure it is placed correctly.
The Flap Drawer
Your appliance includes a drawer for storing accessories such as trays, shelves, grids, or small pots and pans.
WARNING: The inner surface of the drawer may become hot during use.
Do not store any food, plastic or flammable materials in the drawer.
The Shallow Tray
The shallow tray is best used for baking pastries.
Put the tray into any rack and push it to the end to make sure it is correctly placed.
The Wire Rack with Easyfix Half
Telescopic Rail
The half telescopic rail extends half-way out, to allow easy access to your food.
Telescopic rails
Clean the accessories thoroughly with warm water, detergent and a soft clean cloth on first use.
- On each telescopic rail there are fasteners that allow you to remove them for cleaning and repositioning.
- Remove the side runner. See section “Removal of the wire shelf”.

- Hang the telescopic rail top fasteners on the side rack level reference wire and simultaneously press the bottom fasteners until you clearly hear the fasteners clip into the side rack level fixing wire.
- In order to remove, hold the front surface of the rail and repeat the previous instructions in reverse.
The Wire Grid
The wire grid is best used for grilling or for processing food in oven-friendly containers.
WARNING
Place the grid to any corresponding rack in the oven cavity correctly and push it to the end.
CLEANING AND MAINTENANCE
Cleaning
WARNING: Switch off the appliance and allow it to cool before cleaning is to be carried out.
General Instructions
- Check whether the cleaning materials are appropriate and recommended by the manufacturer before use on your appliance.
- Use cream cleaners or liquid cleaners which do not contain particles. Do not use caustic (corrosive) creams, abrasive cleaning powders, rough wire wool or hard tools as they may damage the cooker surfaces.
Do not use cleaners that contain particles, as they may scratch the glass, enamelled and/or painted parts of your appliance. - Should any liquids overflow, clean them immediately to avoid parts becoming damaged.
Do not use steam cleaners for cleaning any part of the appliance.
Cleaning the Inside of the Oven
- The inside of enamelled ovens are best cleaned while the oven is warm.
- Wipe the oven with a soft cloth soaked in soapy water after each use. Then, wipe the oven over again with a wet cloth and dry it.
- You may need to use a liquid cleaning material occasionally to completely clean the oven.

Cleaning the Ceramic Glass
Ceramic glass can hold heavy utensils but may be broken if it is hit with a sharp object.
WARNING : Ceramic Cooktops – if the surface is cracked, to avoid the possibility of an electric shock, switch off the appliance and call for service.
- Use a cream or liquid cleaner to clean the vitroceramic glass. Then, rinse and dry the glass thoroughly with a dry cloth.
Do not use cleaning materials meant for steel as they may damage the glass. - If substances with a low melting point are used in the cookware’s base or coatings, they can damage the glassceramic cooktop.If plastic, tin foil, sugar or sugary foods have fallen on the hot glass-ceramic cooktop, please scrape it off the hot surface as quickly and as safely as possible. If these substances melt, they can damage the glassceramic cooktop. When you cook very sugary items like jam, apply a layer of a suitable protective agent beforehand if it is possible.
- ust on the surface must be cleaned with a wet cloth.
- Any changes in colour to the ceramic glass will not affect the structure or durability of the ceramic and is not due to a change in the material.
Colour changes to the ceramic glass may be for a number of reasons:
- Spilt food has not been cleaned off the surface.
- Using incorrect dishes on the hob will erode the surface.
- Using the wrong cleaning materials.
Cleaning the Glass Parts
- Clean the glass parts of your appliance on a regular basis.
- Use a glass cleaner to clean the inside and outside of the glass parts. Then, rinse and dry them thoroughly with a dry cloth.
Cleaning the Enamelled Parts
- Clean the enamelled parts of your appliance on a regular basis.
- Wipe the enamelled parts with a soft cloth soaked in soapy water. Then, wipe them over again with a wet cloth and dry them.
Do not clean the enamelled parts while they are still hot from cooking.
Do not leave vinegar, coffee, milk, salt, water, lemon or tomato juice on the enamel for a long time.
Cleaning the Stainless Steel Parts (if available)
- Clean the stainless steel parts of your appliance on a regular basis.
- Wipe the stainless steel parts with a soft cloth soaked in only water. Then, dry them thoroughly with a dry cloth.
Do not clean the stainless steel parts while they are still hot from cooking.
Do not leave vinegar, coffee, milk, salt, water, lemon or tomato juice on the stainless steel for a long time.
Cleaning Painted Surfaces (if available)
Spots of tomato, tomato paste, ketchup, lemon, oil derivatives, milk, sugary foods, sugary drinks and coffee should be cleaned with a cloth dipped in warm water immediately. If these stains are not cleaned and allowed to dry on the surfaces they are on, they should NOT be rubbed with hard objects (pointed objects, steel and plastic scouring wires, surface-damaging dish sponge) or cleaning agents containing high levels of alcohol, stain removers, degreasers, surface abrasive chemicals. Otherwise, corrosion may occur on the powder painted surfaces, and stains may occur.
The manufacturer will not be held responsible for any damage caused by the use of inappropriate cleaning products or methods.
Removal of the Inner Glass
You must remove the oven door glass before cleaning, as shown below.
- Push the glass in the direction of B and release from the location bracket (x). Pull the glass out in the direction of A.

To replace the inner glass:
- Push the glass towards and under the location bracket (y), in the direction of B.

- Place the glass under the location bracket (x) in the direction of C.

If the oven door is a triple glass oven door, the third glass layer can be removed the same way as the second glass layer.
Removal of the Oven Door
Before cleaning the oven door glass, you must remove the oven door, as shown below.
- Open the oven door.

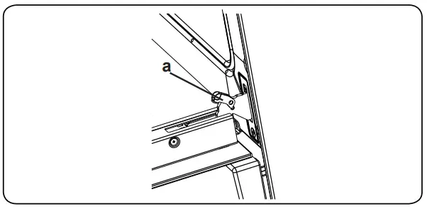
- Open the locking catch (a) (with the aid of a screwdriver) up to the end position.

- Close the door until it almost reaches the fully closed position and remove the door by pulling it towards you.

Removal of the Wire Shelf
To remove the wire rack, pull the wire rack as shown in the figure. After releasing it from the clips (a), lift it up.
Maintenance
WARNING: The maintenance of this appliance should be carried out by an authorised service person or qualified technician only.
Changing the Oven Lamp
WARNING: Switch off the appliance and allow it to cool before cleaning your appliance.
- Remove the glass lens, then remove the bulb.
- Insert the new bulb (resistant to 300 °C) to replace the bulb that you removed (230 V, 15-25 Watt, Type E14).
- Replace the glass lens, and your oven is ready for use.
- The product contains a light source of energy efficiency class G.
- Light source can not be replaced by end user. After sales service is needed.
- The included light source is not intended for use in other applications.

The lamp is designed specifically for use in household cooking appliances.
It is not suitable for household room illumination.
TROUBLESHOOTING&TRANSPORT
Troubleshooting
If you still have a problem with your appliance after checking these basic troubleshooting steps, please contact an authorised service person or qualified technician.
| Problem | Possible Cause | Solution |
| Hob control card’s display is blacked out. The hob or cooking zones cannot be switched on. | There is no power supply. | Check the household fuse for the appliance. Check whether there is a power cut by trying other electronic appliances. |
| The hob switches off while it is in use and an ‘F’ flashes on each display. | The controls are damp or an object is resting on them. | Dry the controls or remove the object. |
| The hob switches off while it is use. | One of the cooking zones has been on for too long. | You can use the cooking zone again by switching it back on. |
| The hob controls are not working and the child lock LED is on. | Child lock is active. | Switch off the child lock. |
| The saucepans make noise during cooking or your hob makes a clicking sound during cooking. | This is normal with induction hob cookware. This is caused by the transfer of energy from the hob to the cookware. | This operation is normal. There is no risk, neither to your hob nor to your cookware. |
| The ‘U‘ symbol lights up in the display of one of the cooking zones. | There is no pan on the cooking zone, or the pan is unsuitable. | Use a suitable pan. |
| Power level 9 or ‘P’ is automatically reduced. If you select power level ‘P’ or 9 on two cooking zones which are on the same side at the same time. | Maximum power level for the two zones is reached | Operating both zones at power level ‘P’ or 9 would exceed the permitted maximum power level for the two zones. |
| Oven does not switch on. | Power is switched off. | Check whether there is power supplied. Also check that other kitchen appliances are working. |
| No heat or oven does not warm up. | Oven temperature control is incorrectly set. Oven door has been left open. | Check the oven temperature control knob is set correctly. |
| Cooking is uneven within the oven. | Oven shelves are incorrectly positioned. | Check that the recommended temperatures and shelf positions are being used. Do not frequently open the door unless you are cooking things that need to be turned. If you open the door often, the interior temperature will be lower and this may affect the results of your cooking. |
| Oven light (if available) does not operate. | Lamp has failed. Electrical supply is disconnected or switched off. | Replace lamp according to the instructions. Make sure the electrical supply is switched on at the wall socket outlet. |
| The timer buttons cannot be pressed properly. | There is foreign matter caught between the timer buttons. Touch model: there is moisture on the control panel. The key lock function is set. | Remove the foreign matter and try again. Remove the moisture and try again. Check whether the key lock function is set. |
| The oven fan (if available) is noisy. | Oven shelves are vibrating. | Check that the oven is level. Check that the shelves and any bake ware are not vibrating or in contact with the oven back panel. |
Transport
If you need to transport the product, use the original product packaging and carry it using its original case. Follow the transport signs on the packaging. Tape all independent parts to the product to prevent damaging the product during transport.
If you do not have the original packaging, prepare a carriage box so that the appliance, especially the external surfaces of the product, is protected against external threats.
WARNING: Unattended cooking on a hob with fat or oil can be dangerous and may result in fire.
WARNING: If the surface is cracked, switch off the appliance to avoid the possibility of electric shock.
WARNING: To prevent the appliance tipping, the stabilising brackets must be installed. (For detailed information refer to the antitilting kit set guide.) 























































