
![]()
230 Exit Device Trim
Owner’s Manual
110, 210, & 230
Series Trim
Service manual
INTRODUCTION
This manual contains a listing of replaceable parts and assemblies for the 110, 210, and 230 Series Trim.
HOW TO ORDER
Some parts are sold separately. Other items are available as part of a kit or multiple quantity package. For the
best possible service when ordering replacement parts or assemblies, please provide the following information:
- Part number or assembly number
- Description
- Quantity needed
- Finish desired (if available finished)
- Date of original purchase (if known)
To find out the name of your local Von Duprin distributor or sales representative, contact:
Von Duprin Division
Allegion
2720 Tobey Drive
Indianapolis, Indiana 46219
Phone: (877) 671-7011
PART NUMBER AND AVAILABILITY CHANGES
This manual was designed to help illustrate the replacement parts and kits that are available for sale.
Because of changes to the product and/or manufacturing process, part numbers and availability can change over time.
110, 210, 230 SERIES TRIM FINISHES
| U.S. Number | BHMA Number | Description |
| – – – – | 526 * | Powder-Coated Chrome |
| US10B | 613 ** | Satin Bronze – Oil Rubbed |
| US19 | 622 | Powder-Coated Matte Black |
* 526 finish not available for 210K/210K-BE trims
| U.S. Number | BHMA Number | Description |
| US26D | 626 ** | Satin Chrome |
| SP28 | 689 | Powder-Coated Aluminum |
| SP313 | 695 | Powder-Coated Dark Bronze |
** 613/626 finishes available for NL Cylinders only
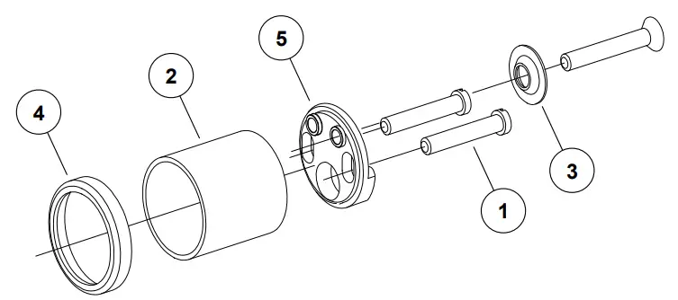
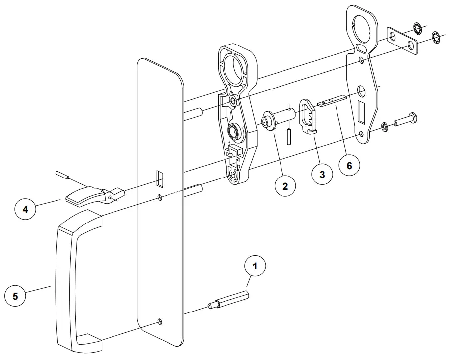
110NL-MD PARTS
| Item No. | Part No. | Description | Quantity | Finish |
| 1 | 959055 | 550/555/556 Special Cylinder Screw – 1-3/4” Door | 1 | |
| 1 | 959056 | 550/555/556 Special Cylinder Screw – 2-1/4” Door | 1 | |
| 2 | 960060 | 110NL Cylinder Spacer Collar | 1 | |
| 3 | 961180 | 110NL Cylinder Assembly Countersink Washer | 1 | |
| 4 | 967291 | 110NL-MD Cylinder Collar | 1 | X |
| 5 | 971593 | 110NL Cylinder Assembly Cylinder Disc | 1 |
X in “Finish” column designates finished item; specify finish when ordering.
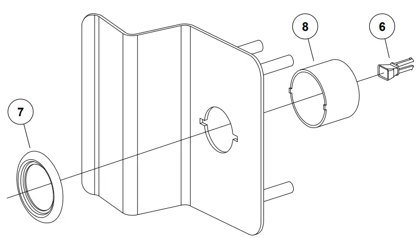
210NL PARTS
| Item No. | Part No. | Description | Quantity | Finish |
| 6 | 050156 | Tailpiece Guide Lead Kit | 10 | |
| 7 | 965226 | Cylinder Collar | 1 | X |
| 8 | 968201 | 210/230 Cylinder Retaining Cup | 1 |
X in “Finish” column designates finished item; specify finish when ordering.

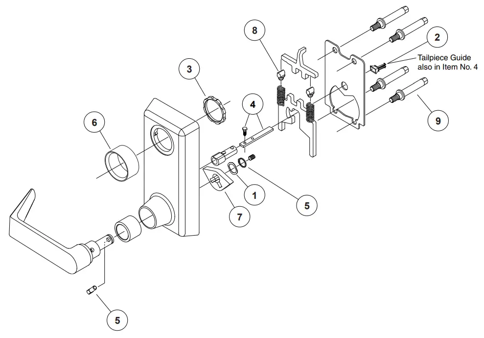
210K, 210K-BE PARTS
| Item No. | Part No. | Description | Quantity | Finish |
| 1 | 090103 | 210K Wave Spring Washer Pkg. | 10 | |
| 2 | 109871 | 210K Bracket & Booster Assembly | 1 | |
| 3 | 109872 | 210K Spiral Cam Sub-Assembly | 1 | |
| 4 | 109873 | 210K Cylinder Knob Sub-Assembly | 1 | X * |
| 5 | 109879 | 210K Trim Sub-Assembly | 1 | X * |
| 6 | 969140 | 210K Knob Spacer | 1 | |
| 7 | 969157 | 210K Knob | 1 | X * |
| 7 | 969352 | 210K-BE Knob | 1 | X * |
| 8 | 970979 | 210K/L Spindle Shaft | 1 |
X in “Finish” column designates finished item; specify finish when ordering.
* 526 finish not available for 210K/210K-BE trims
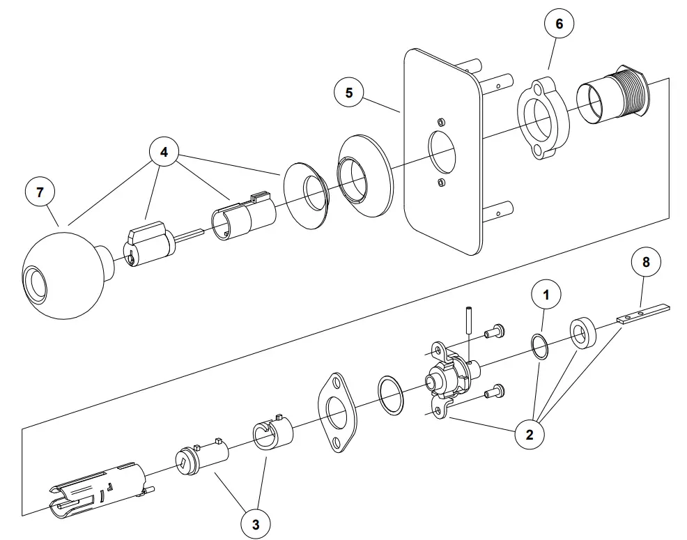
230NL, 230DT PARTS
| Item No. | Part No. | Description | Quantity | Finish |
| 050140 | 230DT x 330/350 Screw Pkg. 1-3/4” Door | X | ||
| #12 Countersink Washer | 1 | |||
| 12-24 x 3/4” OPHMS | 1 | |||
| #10 Countersink Washer | 4 | |||
| 10-24 x 3/4” OPHMS | 4 | |||
| 050141 | 230DT x 330/350 Screw Pkg. 1-3/4” Door | X | ||
| #12 Countersink Washer | 1 | |||
| 12-24 x 1-1/4” OPHMS | 1 | |||
| #10 Countersink Washer | 4 | |||
| 10-24 x 1-1/4” OPHMS | 4 | |||
| 1 | 050156 | Tailpiece Guide Lead Kit | 10 | |
| 2 | 956760 | Hex Stud | 1 | |
| 3 | 963579 | 12-24 x 3/8” UFPHMS | 1 | |
| 4 | 965226 | Cylinder Collar | 1 | X |
| 5 | 968201 | 210/230 Cylinder Retaining Cup | 1 | |
| 6 | 969925 | 230 Pull Grip | 1 | X |
X in “Finish” column designates finished item; specify finish when ordering.

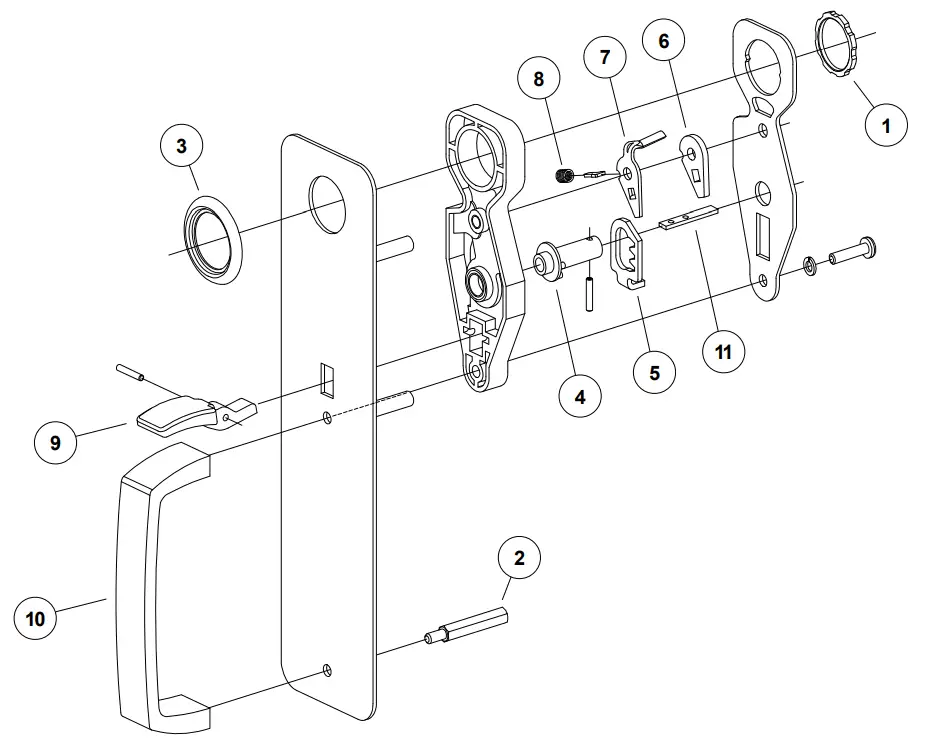
230TP PARTS
| Item No. | Part No. | Description | Quantity | Finish |
| 1 | 050526 | 230L Cylinder Locknut | 1 | |
| 2 | 956760 | Hex Stud | 1 | |
| 3 | 965226 | Cylinder Collar | 1 | X |
| 4 | 969903 | 230TP Cam | 1 | |
| 5 | 969904 | 230TP Slider | 1 | |
| 6 | 969906 | 230TP Locking Cam | 1 | |
| 7 | 969908 | 230TP Locking Cam Latch | 1 | |
| 8 | 969909 | 230TPCompression Spring | 1 | |
| 9 | 969910 | 230TP Thumbpiece | 1 | X |
| 10 | 969925 | 230 Pull Grip | 1 | X |
| 11 | 970979 | 210K/L Spindle Shaft | 1 |
X in “Finish” column designates finished item; specify finish when ordering.

230TP-BE PARTS
| Item No. | Part No. | Description | Quantity | Finish |
| 1 | 956760 | Hex Stud | 1 | |
| 2 | 969903 | 230TP Cam | 1 | |
| 3 | 969904 | 230TP Slider | 1 | |
| 4 | 969910 | 230TP Thumbpiece | 1 | X |
| 5 | 969925 | 230 Pull Grip | 1 | X |
| 6 | 970979 | 210K/L Spindle Shaft | 1 |
X in “Finish” column designates finished item; specify finish when ordering.

230L PARTS
| Item No. | Part No. | Description | Quantity | Finish |
| 1 | 090103 | Wave Spring Washer Package | 10 | |
| 2 | 050156 | Tailpiece Guide Lead Kit | 10 | |
| 3 | 050526 | 230L Cylinder Locknut | 1 | |
| 4 | 900894 | 230L Tailpiece Auxiliary | ||
| Tailpiece Guide | 1 | |||
| Pine Tree Clip | 1 | |||
| Tailpiece | 1 | |||
| 5 | 050611 | 230L Retaining Ring and Shear Pin * | 1 | |
| 6 | 971249 | 230L Cylinder Collar | 1 | |
| 7 | 050813 | 230L Lever Cam * | 1 | |
| 8 | 971497 | 230L Locking Plunger | 1 | |
| 9 | 971245 | 230L Stud | 1 |
X in “Finish” column designates finished item; specify finish when ordering.
For 230L trim shipped after 3/3/14. If trim is older, replace complete 230L trim.

About Allegion
Allegion (NYSE: ALLE) creates peace of mind by pioneering safety and security. As a $2 billion provider of security solutions for homes and businesses, Allegion employs more than 7,800 people and sells products in more than 120 countries across the world. Allegion comprises 23 global brands, including strategic brands CISA®, Interfleet®, LCN®, Schlage® and Von Duprin®. For more, visit www.allegion.com.
© 2022 Allegion 108726, Rev. 05/22 www.allegion.com/us
![]()
© 2022 Allegion
108726, Rev. 05/22
www.allegion.com/us

















