Batsystem PB120 Anchor Rol

PB120 – Mounting instructions
NOTE: This boat accessory is only to be used at sea
You will need this:

Parts:

Assembly

The steel frame may be adjusted in width, if necessary. Loosen mounting bolts first then secure again.

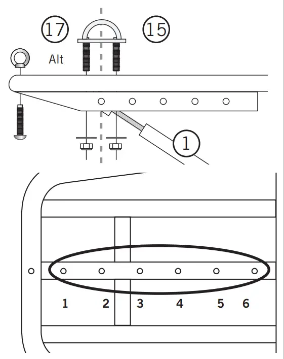
Mounting of brackets for gennaker and Code-0
Strut and Code-0 attachment MUST be mounted at the same point.
Use Sikaflex on the fittings.
Seal with Sikaflex wide the attachments to the hull.


Without anchor roller
Use any holes for mounting of code-0

With anchor roller
Use any hole 4+5 or 5+6 for mounting of code-0

Customize the teak after the bow shape.

Fit the plate on the bottom of the teak.

Anchor roll
Loosen the fittings (for starboard or port). Cut an opening in the teak.

BU76P-12 – Mounting instructions
You will need this:

Content
Ladder:

Assembly map

BKT73A – Mounting instructions
You will need this:

Content
Ladder:

Assembly

Make sure that the frame sides are mounted parallel so that the ladder does not get stuck when it
folds in.


Customer Support
Båtsystem AB, Traneredsvägen 112, 426 53 Västra Frölunda, Tel: 031-69 03 80, Fax: 031-690097,
www.batsystem.se, [email protected]


















