EMOS P5733W Wireless Door Bell

The set consists of a doorbell button (transmitter) and a chime (receiver). The chime is designed for constant connection to a 230 V AC/50 Hz power grid. Transmission between the button and the chime is carried via radio waves at a frequency of 433.92 MHz. The range depends on local conditions and reaches up to 150 m in an open area without interference. The set has a so-called self-learning function – the button is able to generate its own pairing code which is then received by the chime and stored in its memory. The set can thus be expanded with additional buttons. The self-learning function also prevents the set from affecting neighbouring doorbells. For proper usage of the wireless doorbell, read the instruction manual thoroughly.
Technical Specifications
Transmission range: up to 150 m in an open area (can drop down to one fifth in a busy area).
- Button: water resistant; IP44 enclosure rating
- Pairing the chime with buttons: self-learning function
- Pairing capacity: maximum of 8 buttons per 1 chime
- Number of ringtones: 36
- Transmission frequency: 433.92 MHz, 10 mW e.r.p. max.
- Chime power supply: 230 V AC/50 Hz
- Button power supply: 1× 3 V battery (type CR2032, included)
- Includes: double-sided adhesive tape, screws
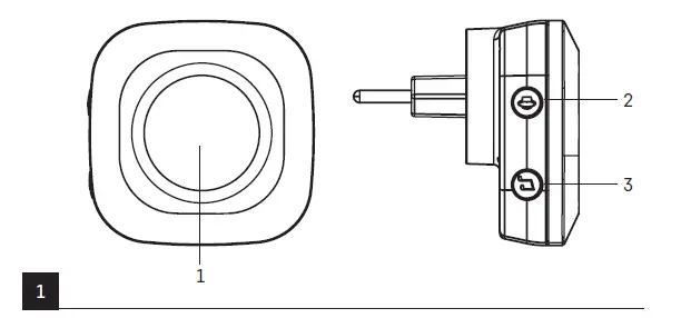
Chime Description (see fig. 1)

- bell LED
- volume setting button
- ringtone change button
Button Description (see fig. 2)
- ring button and LED
- battery compartment/mounting pad
- hole for opening the battery cover
- battery
Installing the Button /Removing the Mounting Pad (see fig. 3)
- mounting pad
- holes for screws
Pairing the Button with the Chime
- Remove the rear cover of the button by inserting a screwdriver into the hole on the bottom. Insert a 3 V type CR2032 battery into the button. When inserting a battery, make sure to observe the correct polarity! Replace the battery cover.
- Plug the chime unit into a 230 V AC/50 Hz socket.
- Then, long-press the volume button on the chime for ca. 5 seconds.
- The chime LED will light up; release the button. The chime will switch to self-learning pairing mode which lasts for 30 seconds. During this time, press the ring button. The chime will ring and the button is now paired with the chime. This automatically ends self-learning mode.
- To pair multiple buttons, repeat the process for each button from step 1.
Note: The chime has an internal memory where it stores the codes of the currently paired buttons for the event of a power failure. There is thus no need to pair buttons again after a power cut.
Wiping the Memory of Paired Buttons
- Press and hold the volume button on the chime.
- Plug the chime into a socket.
- The LED of the chime will light up after ca. 5 seconds. Release the button.
- The LED will turn off.
- The memory of all paired buttons will be erased.
Selecting a Ringtone
- Repeatedly press the ringtone change button located on the chime.
- Each press of the button will play a different ringtone. The last ringtone played is the one that will be used.
Setting Different Ringtones when Paired with Multiple Buttons
If you use 2 or more buttons, you can set a different ringtone for each paired button to better identify which button was pressed to ring the chime.
- Plug the chime unit into a 230 V AC/50 Hz socket.
- Then, long-press the volume button on the chime for ca. 5 seconds.
- The chime LED will light up; release the button.
- The chime will switch to self-learning pairing mode which lasts for 30 seconds.
- During this time, repeatedly press the ringtone change button ; the ringtone that plays last is the one set. Then press the ring button; the chime will ring and the button is now paired with the chime.
- This automatically ends self-learning mode. Repeat the process from step 2 for every button. If you later want to change the ringtone of already paired buttons, it is first necessary to wipe the memory of paired buttons.
Setting the Bell Volume
- Repeatedly press the button on the chime.
- Each press will set a different volume level in the following order: 100 % – 75 % – 50 % – 25 %.
Installing the Doorbell Button (Transmitter)
- Begin by pairing the button with the chime.
- Before installation, check that the pair works reliably in the chosen spot.
- Remove the mounting pad from the battery cover, see fig. 3.

- Use the double-sided adhesive tape (included) or two screws to fix the back of the mounting pad to the wall. Although the button is weather resistant, choose a location where it is protected, e.g. in a wall recess.
- Fit the mounting pad back onto the button.
- Press the button to ring the chime. Pressing is accompanied by LED illumination indicating the button has sent a radio signal. The chime plays the selected ringtone.
Note: The doorbell button (transmitter) can be placed on wood or brick walls without issue. However, never place the button directly onto metal objects or materials containing metal, such as plastic windows or doors that have a metal frame. In such cases, the transmitter will not work properly.
Installing the Chime (Receiver)
- The doorbell is intended for indoor use only. When running, it must be plugged in a 230 V AC/50 Hz socket and with free space around it so that it is always accessible.
- The transmission range (max. 150 m) is influenced by local conditions, such as the number of walls through which the signal passes, metal door frames and other elements which affect the transmission of radio signals (presence of other radio devices operating at a similar frequency, such as wireless thermometers, gate controls etc.). Transmission range can decrease drastically due to these factors.
Troubleshooting
The chime does not ring:
- The chime may be out of range.
- Change the distance between the button and the chime; the range may be affected by local conditions.
- The button battery may be drained.
- Replace the battery. Make sure it has the correct polarity. Pair the button with the chime again.
- The chime is not powered.
- Make sure the chime is properly plugged into the socket and that power is on or the fuse/circuit breaker for the branch is on.
Upkeep and Maintenance
The wireless digital doorchime is a sensitive electronic device. Therefore, it is necessary to observe the following precautions:
- The chime (receiver) is designed for indoor use in dry environments only.
- The chime must be located in an easily accessible location for ease of handling and unplugging.
- Periodically check the functioning of the doorbell button and replace the battery in a timely manner. Use only quality alkaline batteries with the prescribed parameters.
- When the doorchime is not used for a long time, remove the battery from the button.
- Do not subject the button or chime to excessive vibrations and shocks.
- Do not subject the button or chime to excessive heat and direct sunlight or moisture.
- When cleaning the chime, unplug it from the socket.
- To clean the device, use a slightly moistened cloth with a small amount of detergent; do not use aggressive cleaning agents or solvents.
This device is not intended for use by persons (including children) whose physical, sensory or mental disability or lack of experience or knowledge prevents them from using it safely. Such persons should be instructed as to how to use the device and supervised by a person responsible for their safety. Children must always be supervised to ensure they do not play with the device. Do not dispose with domestic waste. Use special collection points for sorted waste. Contact local authorities for information about collection points. If the electronic devices would be disposed on landfill, dangerous substances may reach groundwater and subsequently food chain, where it could affect human health. Hereby, EMOS spol. s r. o. declares that the radio equipment type P5733W/S/G is in compliance with Directive 2014/53/EU. The full text of the
EU declaration of conformity is available at the following internet address: http://www.emos.eu/download.



















