ATOMRC Seagull RTF Kit 
Introduction
ATOMRC Seagull FPV Bundle, the ATOMRC EXCEED TOWER have compact size and powerful feature, F405 FC and 500mW VTX. The ESC can support 35A for 60s (environment 25C) .The ATOMRC PHOTON 2004 2700KV MOTOR have max 6344g thrust, give more maneuverability for drones. Flight time with standard 4S 850mah battery is 9 min, user change use bigger battery for more flight time.
The Cobra L FPV goggles have 4.3 inch 480*272 LCD Screen, integrated with DVR, goggles have diversity receiver for stable image reception, goggles can power by 18650 battery or USB C.
The T8 lite radio have ergonomic design and 4 aux switch, support multiple mode.
Packing list
- Seagull FPV Racing drone*1,
- Cobra L FPV FPV Goggles*1
- Seagull Bundle user manual*1,
- Charger*1,
- 4S Lipo Battery*1,
- T8 Lite Radio*1,
- Cobra L accessories*1,
Seagull Basic Manuel
- Make sure nothing is blocked the props when power on.
- User can change the settings on Beta fight ground station.
- Before flight, please make sure know the Arm switch and mode switch, if the drone out of control, please disarm the drone immediately, the prop will stop spinning. n(radio content below)
- User 4s 850mah battery, flight time about 9min,with naked go pro flight 7min, full size go pro about 6 min.
- If the battery voltage below 14.5V, there is no much power remain, user need land the drone to avoid crash and over discharge.
- Angle mode: the drone will self-level when release the sticks. Self-level modes are easier to fly for beginner.
- Air mode, there is no angle limit for the drone, drone will have much more maneu verability, this mode is for advanced fight.
Cobra L USER MANUEL
Specification
Frequency Table
- Power
- Menu
- CH/BAND/Search
- Record/Delete
- Mode
- USB C Connector
- SD card connector
- Audio/Video connector
- Install the 18650 battery.
- Long press the power on button to power on.
- Press the right wheel, then roll the right wheel to change channel, press the wheel again switch to band setting mode, then roll the wheel to change the band.
- Hold the righ wheel to search, it will take 20s to search.
- Sometime the auto search channel is not accurate, user may need manually select the channel.
- DVR need SD card to record, please format SD card to FAT32.
- When goggles receive image, press record button, the DVR icon will flash, press record button again to stop recording.
- Short press left wheel, when OSD show PB (Play Back Mode) ,roll right wheel to select, press right wheel to record or fast forward.
- press mode button to quit play back mode.
- Goggles OSD is below.

- DVR Status
- SD Card Status
- Battery Status
- Mode
- Frequency
- RSSI
- Drone Battery voltage per cell
- Drone Battery voltage
- Drone Current
- Flight Time
The Goggles OSD time out can be set, turn off means the OSD is always on.
Radio
- Make sure all switch is down, throttle stick is at the bottom.
- Hold power button is turn on, the LED will turn green.
- If the green LED is flashing and radio start beep, it means that Switch is not down or throttle stick is not bottom. push switch down and throttle to bottom, the radio will back to normal.
- The radio can charge by USC C port 5V.
Flight Mode
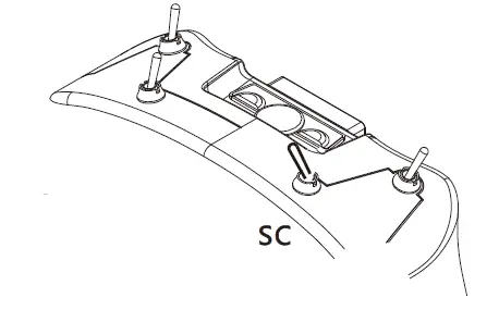
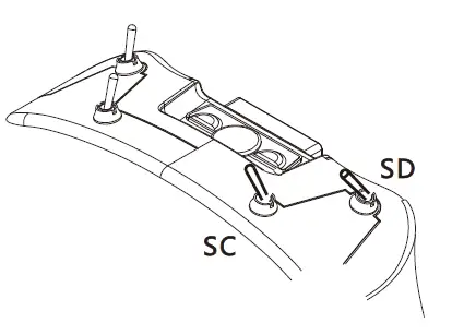
Push up SC Switch to Arm the quad, the prop will spinning.
Push up SD, Switch Angle mode to Air Mode.
SA Switch is buzzer switch, drone will beep when pull up this switch. SB is anti flip switch, when drone is flipped, pull up this switch then push sticks, drone will flip back to normal.
How to Bind RX
- Hold the BIND button on the receiver and turn on the power After about 3 seconds, the receiver LED red light will be on. And wait for the link.
- Keep the throttle stick at the lowest position, and then press the link button for more than 1 second to bind the receiver. The power button will flash, indicating that linking is in progress.
- At this time, the red light of the receiver flashes to indicate that the linking is successful, and the receiver can be used after powering on again Special.
Attention: different D8 protocol receivers may enter the pairing mode in different ways. For details, please refer to the corresponding manuals of various receivers to ensure correct use.
Various different receivers and models will have different methods to place the model or receiver in to bind mode. Please follow the instructions from the model or receiver manufacturers user manual to in.
Stick mode

- Push the throttle Stick upward, the drone will fly upward.
- Push the Yaw Stick right, the drone will rotate horizontal clockwise.
- Push the Pitch Stick upward, the drone will tilt down.
- Push the Roll Stick left, the drone will roll left.
Pre fight Check
- Make sure drone, radio and goggles batter are fully charged.
- Make sure familiar with stick mode and switch mode function.
- Make sure the goggles received the image, and image is clear.
- Ensure the prop is properly installed, no damage on prop.
- Turn on the radio and Goggles.
- Use battery strap to tie the battery, make sure no slide.
- Plug the battery, and put the drone to the level ground.
- Now the drone is ready to fly.
- If not familiar with the drone, use angle mode first.
Flight environment
- Do not fly in windy or snow and rain days.
- Choose open area, no crowds and cars near by.
- Keep away from crowds powerline water, radio tower etc.
- Do not fly over height.
Charger And Maintain
- Charger support 110-220V AC IN.
- For safety, do not charge the battery unattended.
- To reserve the battery, make sure is not fully charged, discharge battery to 14.8V.
FAQ
- Cant Arm?
Check throttle stick, make sure it at bottom, make sure quad is level. - How to install prop?
The prop is spinning from inside to out size, prop is locked by M2*8mm Hex screw. - Goggles screen black?
Make sure its in RF mode, press left wheel to switch. - How to change the Frequency?
The VTXX have IRC protocol, user can change it with osd command.
Please download the latest user manual at www.atomrc.com/pages/download























