DOLLE DALLAS Modular Staircase

INTRODUCTION

INSTRUCTIONS
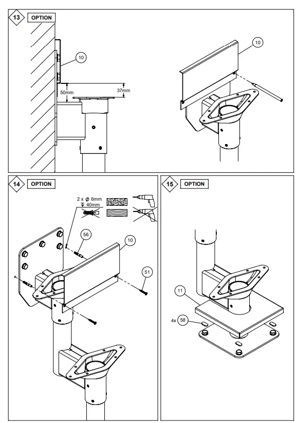
OPTION
Cover kit
For removing burrs









Cover kit




For removing burrs












Download manual
Here you can download full pdf version of manual, it may contain additional safety instructions, warranty information, FCC rules, etc.